Скачать ГОСТ 16233-70 Листы асбестоцементные волнистые унифицированного профиля и детали к нимДата актуализации: 01.01.2021
|
| Обозначение: | ГОСТ 16233-70 |
| Обозначение англ: | GOST 16233-70 |
| Статус: | заменен |
| Название рус.: | Листы асбестоцементные волнистые унифицированного профиля и детали к ним |
| Название англ.: | Asbestes-cement corrugated sheets of unifical profile and detailes for them |
| Дата добавления в базу: | 01.09.2013 |
| Дата актуализации: | 01.01.2021 |
| Дата введения: | 01.07.1971 |
| Дата окончания срока действия: | 01.01.1978 |
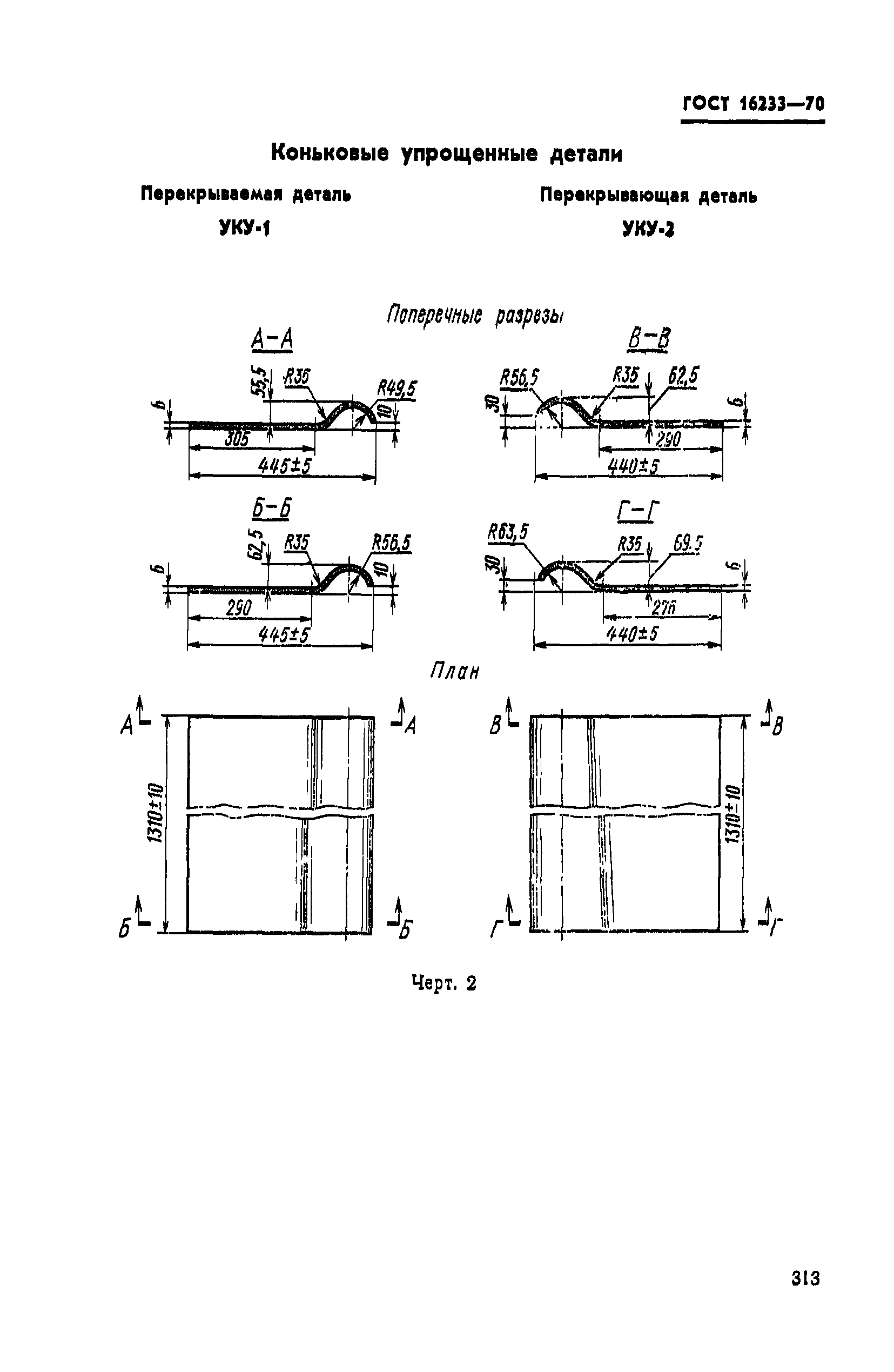
| Область применения: | Стандарт распространяется на асбестоцементные волнистые листы унифицированного профиля и детали к ним, изготовляемые из асбеста и портландцемента в предназначаемые для устройства кровель жилых, общественных и производственных зданий и сооружений, а также для стеновых ограждений производственных зданий. Листы и детали к ним могут выпускаться окрашенными и неокрашенными. |
| Оглавление: | 1. Форма и основные размеры 2. Технические требования 3. Методы испытаний 4. Маркировка, хранение и транспортирование |
| Разработан: | ЦНИИСК им. В.А. Кучеренко ЦНИИпромзданий НИИасбестцемент Минстройматериалов СССР |
| Утверждён: | 22.07.1970 Госстрой СССР (Государственный комитет Совета Министров СССР по делам строительства) (USSR Gosstroy 86) |
| Издан: | Издательство стандартов (1973 г. ) |
















