Скачать Типовой проект 409-23-54.87 Альбом 5. Железобетонные изделияДата актуализации: 01.01.2021
|
| Обозначение: | Типовой проект 409-23-54.87 |
| Обозначение англ: | 409-23-54.87 |
| Статус: | не определен законодательством |
| Название рус.: | Альбом 5. Железобетонные изделия |
| Дата добавления в базу: | 01.09.2013 |
| Дата актуализации: | 01.01.2021 |
| Дата введения: | 22.10.1987 |
| Дата окончания срока действия: | 30.06.2003 |
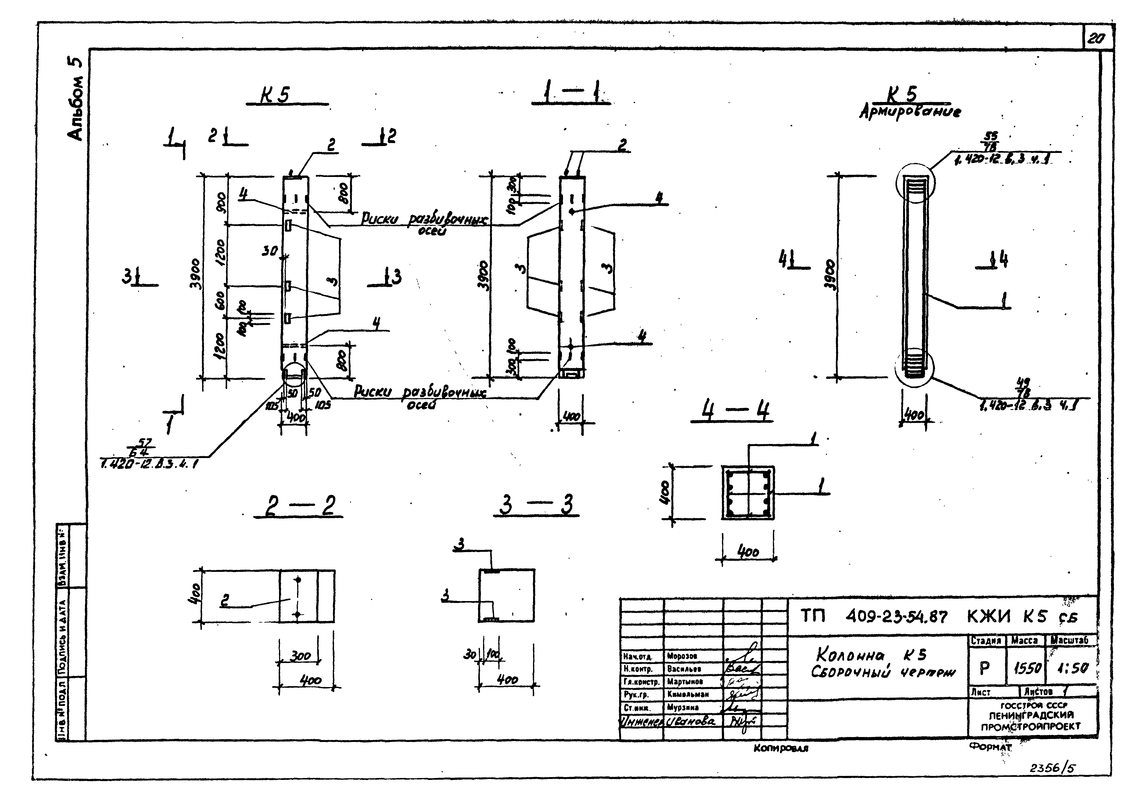
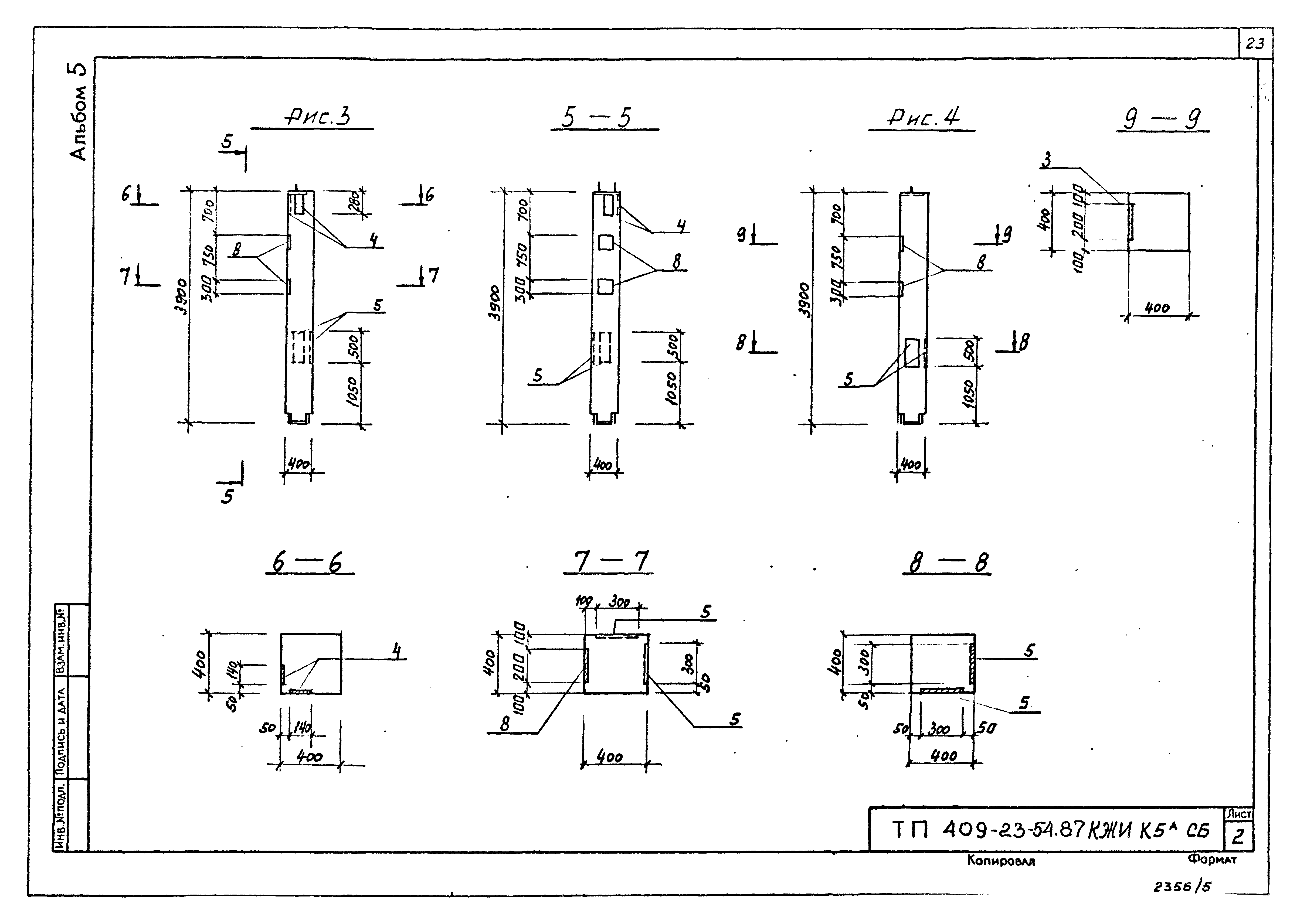
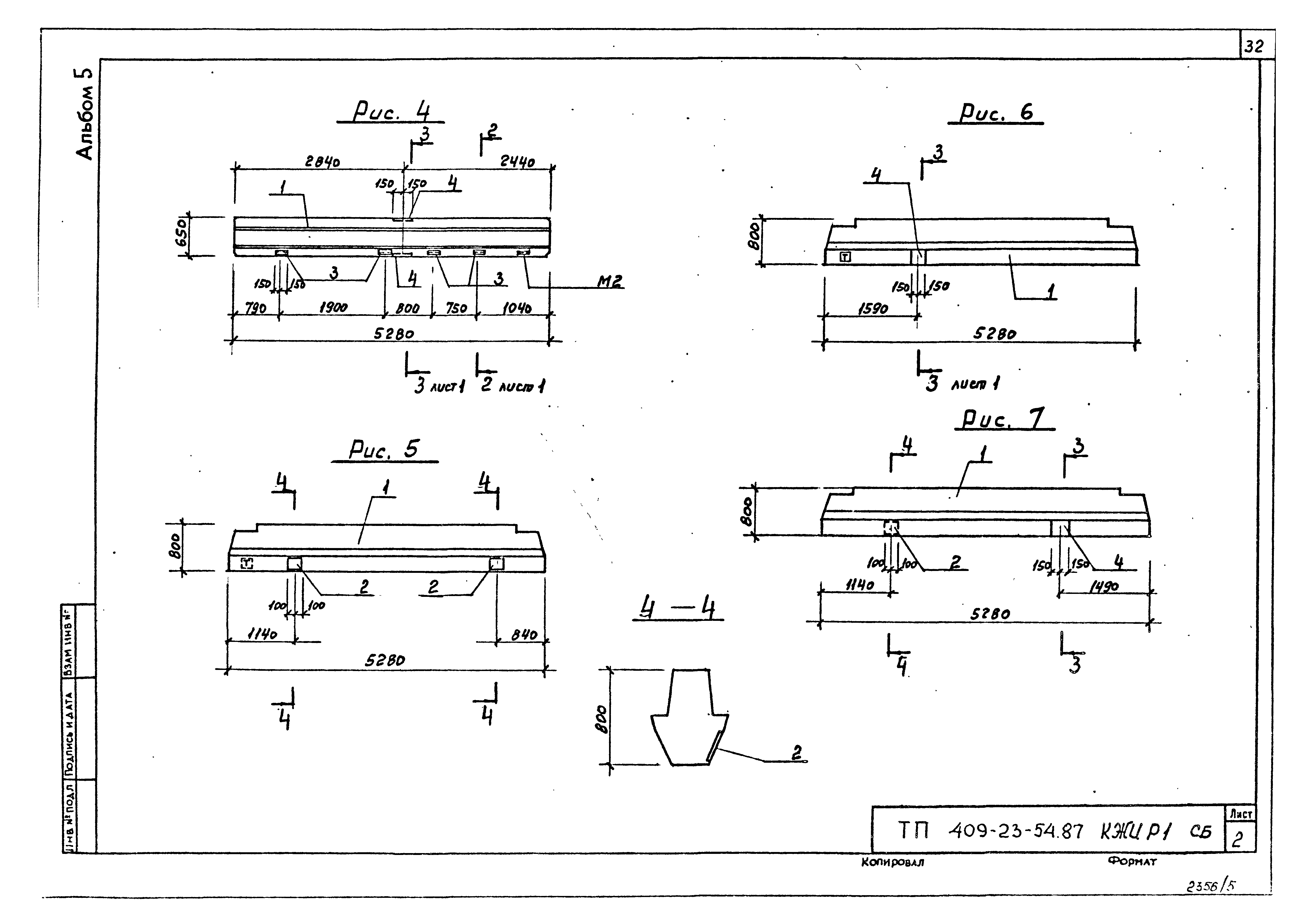
| Оглавление: | Содержание Технические требования к изготовлению сборных железобетонных изделий Технические требования к изготовлению арматурных, закладных и соединительных изделий Колонны Ригели Перемычки Плиты Балки Панели стеновые Каркасы пространственные Каркасы плоские Сетка арматурная С1 Щит Щ1 Ограждение ОГ1 Изделия закладные Изделия соединительные Изделие закладное |
| Разработан: | Союзгипронеруд |
| Утверждён: | 19.07.1987 Минстройматериалов СССР (USSR Minstroymaterialov 28-15481) |
| Заменяет собой: |
|




































































