Скачать Типовой проект 144-16-135.90 Альбом I. Архитектурно-строительные решения. Отопление и вентиляция. Водопровод и канализация. Электрооборудование. Связь и сигнализация. ГазоснабжениеДата актуализации: 01.01.2021
|
| Обозначение: | Типовой проект 144-16-135.90 |
| Обозначение англ: | 144-16-135.90 |
| Статус: | не определен законодательством |
| Название рус.: | Альбом I. Архитектурно-строительные решения. Отопление и вентиляция. Водопровод и канализация. Электрооборудование. Связь и сигнализация. Газоснабжение |
| Дата добавления в базу: | 01.09.2013 |
| Дата актуализации: | 01.01.2021 |
| Дата введения: | 14.09.1990 |
| Дата окончания срока действия: | 30.06.2003 |
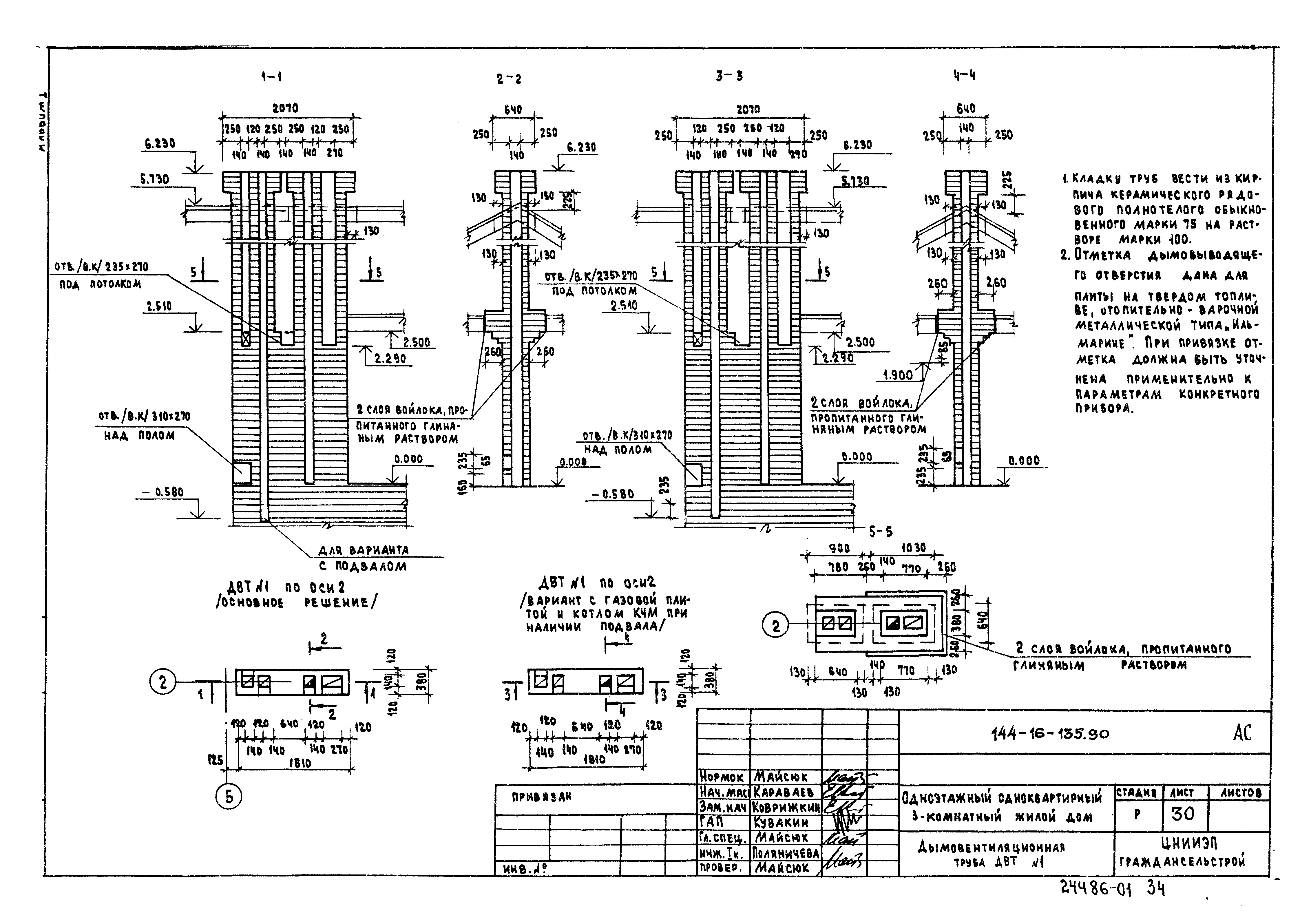
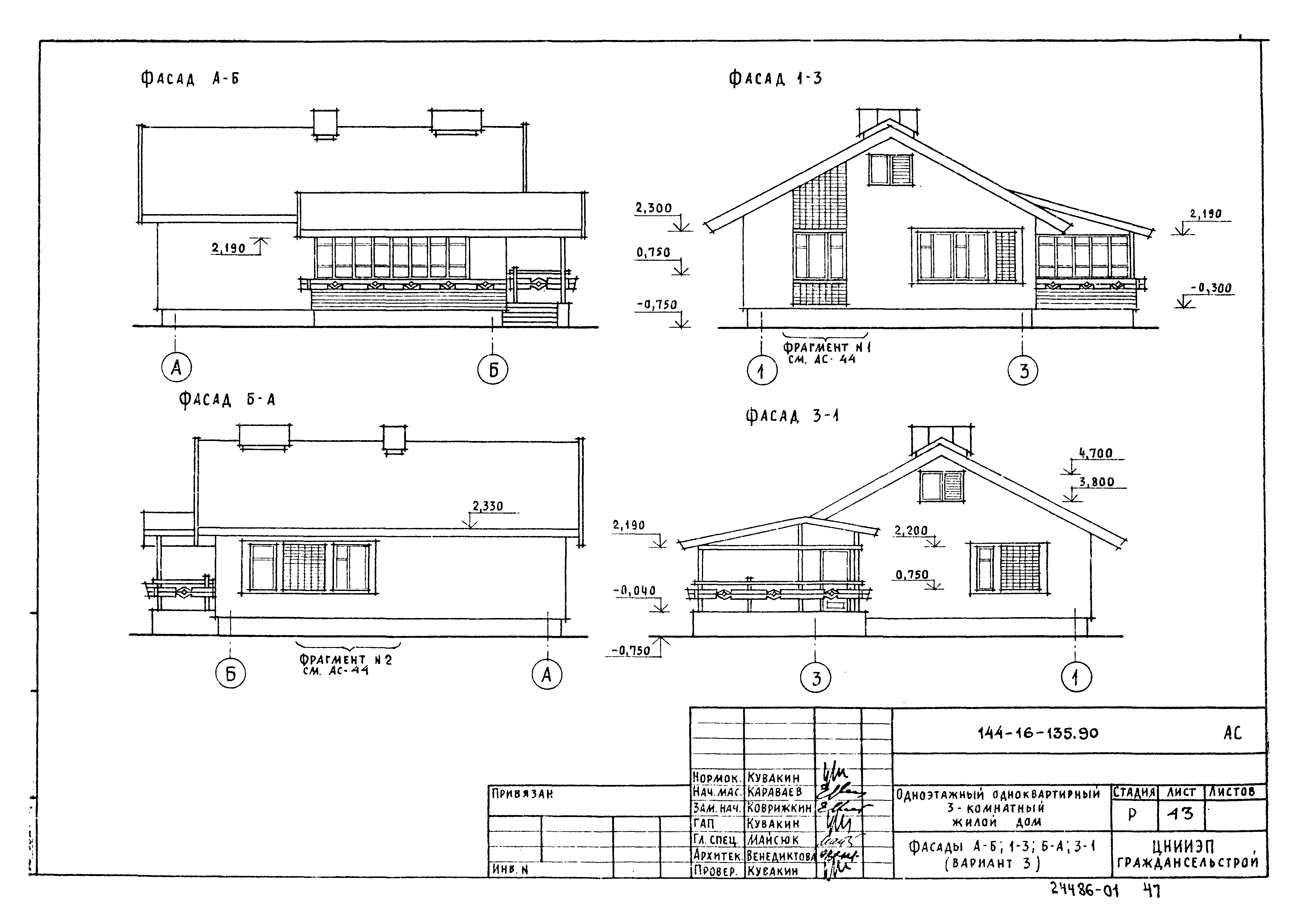
| Оглавление: | Содержание альбома Архитектурно-строительные чертежи Общие данные Фасады А - Б; 1 - 3; Б - А; 3 - 1 Кладочный план. План подвала (вариант) Отделочный план Кладочный план (вариант с полным инженерным оборудованием) Отделочный план (вариант с полным инженерным оборудованием) Спецификация столярных изделий Разрез 1-1 Таблица нагрузок План столбчатых фундаментов План столбчатых фундаментов (вариант) План ленточных фундаментов Развертки ленточных фундаментов План цокольного перекрытия План чердачного перекрытия План цокольного перекрытия (вариант с полным инженерным оборудованием) План чердачного перекрытия (вариант с полным инженерным оборудованием) План стропил. План кровли План стропил (для снеговой нагрузки q = 1,57 кПа) Разрезы 1-1, 2-2. Спецификация План перемычек. Ведомость перемычек Ведомость перемычек Дымовентиляционная труба ДВТ№1 Экспликация полов и спецификации Веранда. План. Разрез 1-1 Веранда. Разрезы 2-2 - 4-4 Веранда. Спецификация Люфт-клозет Шкафы встроенные и антресоли Ш-1, Ш-2, А-1, А-2. Спецификации Фасады А - Б, 1 - 3, Б - А, 3 - 1 (вариант 1) Декоративные элементы НО-1, НО-2, НО-3, НО-4, НО-5, ОВ-1, ОК-1, ОВ-2, ОК-2. Фрагмент №1 (вариант 1) Фрагмент №1, фрагмент №2 (вариант 1) Фасады А - Б, 1 - 3, Б - А, 3 - 1. Фрагмент №1 (вариант 2) Декоративные элементы НО-1, НО-2, НО-3, НО-4, НО-5, ОВ-1, ОК-1, ОВ-2, ОК-2 (вариант 2) Фасады А - Б, 1 - 3, Б - А, 3 - 1 (вариант 3) Фрагмент №1, фрагмент №2 (вариант 3) Вариант решения интерьера общей комнаты Фрагмент плана с расстановкой кухонного оборудования. Развертка стены Отопление и вентиляция Общие данные План этажа. План подвала. Схема системы отопления План этажа. План подвала. Схема системы отопления (вариант с насосом ЦВЦ) Водопровод и канализация Общие данные План 1 этажа. План подвала (вариант) Схемы систем В1, Т3, К1 Электрооборудование Общие данные План расположения осветительных сетей Связь и сигнализация Общие данные Схема расположения устройств связи План этажа. План кровли Газоснабжение Общие данные. Фрагмент плана этажа. Схема газопровода |
| Разработан: | ЦНИИЭП граждансельстрой |
| Утверждён: | 27.08.1980 Госкомархитектура (323) |
| Издан: | ЦИТП Госстроя СССР (CITP, Gosstroy (USSR) 1990 г. ) |































































