Скачать ОСТ 39.034-76 Нефть. Метод определения температуры насыщения нефти парафином. Фотометрический способДата актуализации: 01.01.2021
|
| Обозначение: | ОСТ 39.034-76 |
| Обозначение англ: | OST 39.034-76 |
| Статус: | введен впервые |
| Название рус.: | Нефть. Метод определения температуры насыщения нефти парафином. Фотометрический способ |
| Дата добавления в базу: | 01.09.2013 |
| Дата актуализации: | 01.01.2021 |
| Дата введения: | 01.07.1977 |
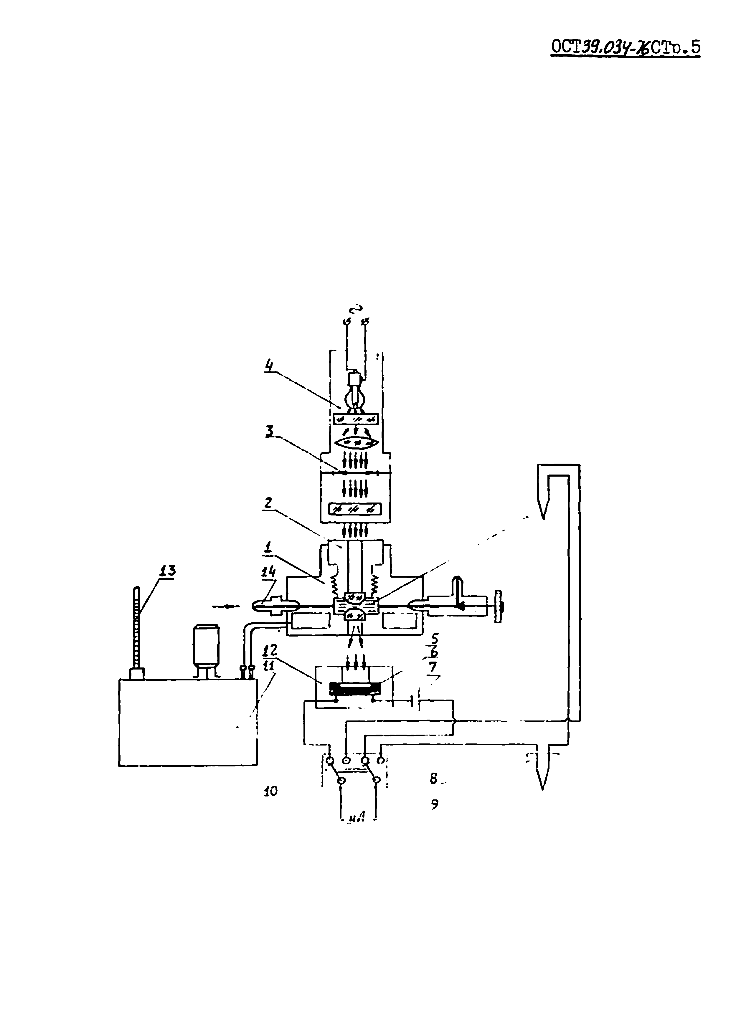
| Область применения: | Стандарт распространяется на пластовые и разгазированные нефти и устанавливает метод определения температуры насыщения нефти парафином фотометрическим способом при давлении до 30 Мра (300 кгс/см2) и температуре до 353° К (80° С). Погрешность измерения ± 1°. |
| Оглавление: | 1 Аппаратура, реактивы и материалы 2 Подготовка к испытанию 3 Проведение испытания 4 Обработка результатов |
| Разработан: | ВНИИ |
| Утверждён: | 29.12.1976 Министерство нефтяной промышленности |
| Принят: | ВНИИОЭНГ |










