Скачать МУ 1582-77 Методические указания на газохроматографическое определение дибутилкетона в воздухеДата актуализации: 01.01.2021
|
| Обозначение: | МУ 1582-77 |
| Обозначение англ: | MU 1582-77 |
| Статус: | справочные материалы, мп, тпр |
| Название рус.: | Методические указания на газохроматографическое определение дибутилкетона в воздухе |
| Дата добавления в базу: | 01.10.2014 |
| Дата актуализации: | 01.01.2021 |
| Область применения: | Методические указания распространяются на определение содержания вредных веществ в воздухе промышленных помещений при санитарном контроле |
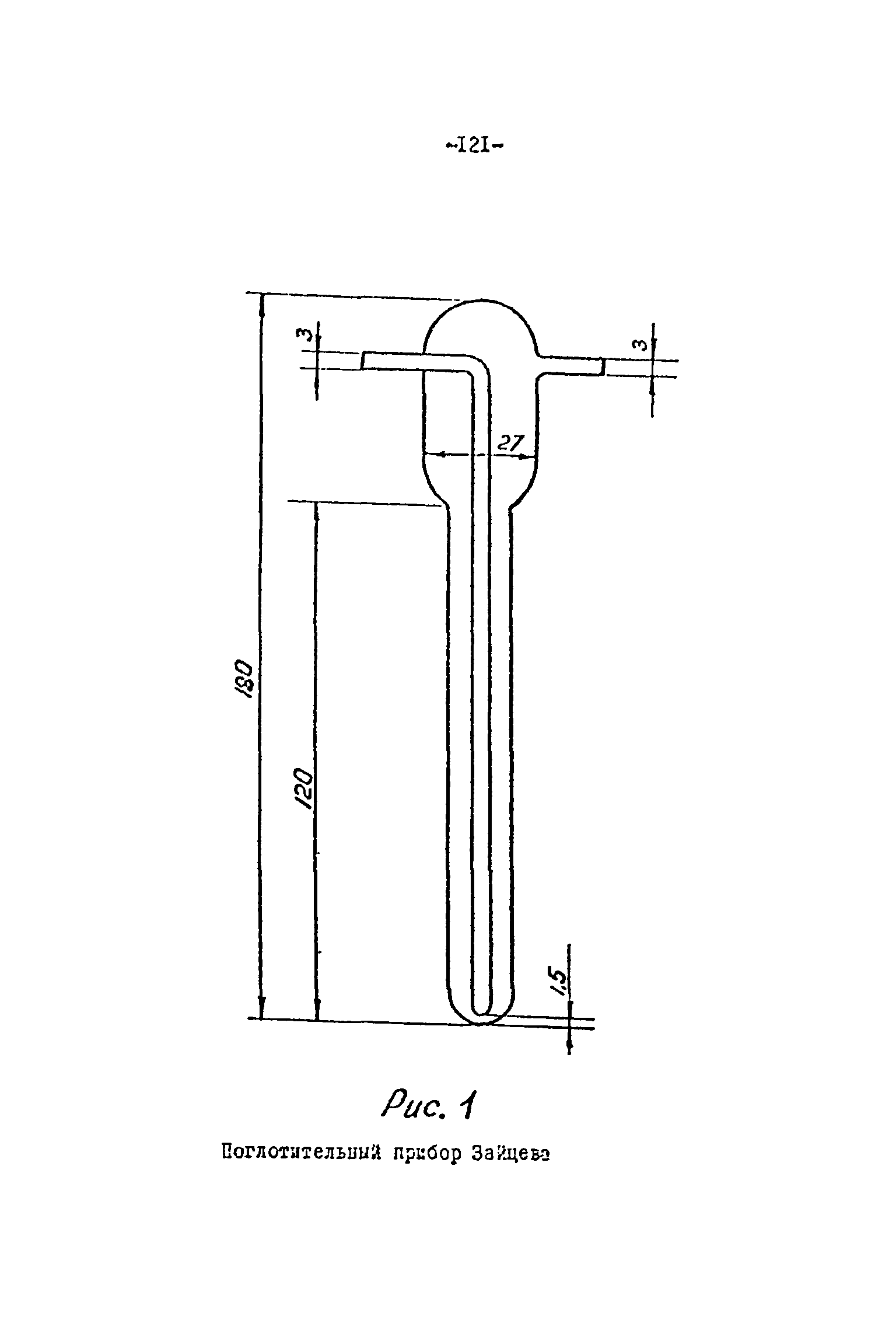
| Оглавление: | 1. Общая часть 2. Реактивы и аппаратура 3. Отбор пробы воздуха 4. Описание определения Условия анализа Приложение 1. Приведение объема воздуха к стандартным условиям Приложение 2. Коэффициенты для приведения объема воздуха у стандартным условиям Приложение 3. Поглотительные приборы и дозирующее устройство Приложение 4. Перечень учреждений, представивших методические указания в данный сборник |
| Утверждён: | 31.01.1977 Заместитель Главного государственного санитарного врача СССР |

























