Скачать ТИ 015 Панели трехслойные стеновые и кровельные с утеплителем из пенополиуретана или пенополиизоцианурата. Техническая информацияДата актуализации: 01.01.2021
|
| Обозначение: | ТИ 015 |
| Обозначение англ: | TI 015 |
| Статус: | действует |
| Название рус.: | Панели трехслойные стеновые и кровельные с утеплителем из пенополиуретана или пенополиизоцианурата. Техническая информация |
| Дата добавления в базу: | 01.09.2013 |
| Дата актуализации: | 01.01.2021 |
| Область применения: | Панели трехслойные применяются в качестве строительных конструкций для стеновых ограждений (стеновые панели) и настила кровли (кровельные панели) производственных зданий промышленных предприятий, общественных зданий, зданий холодильников, холодильных комнат, морозильников и т. п. сооружений, используемых для хранения пищевых продуктов. В панелях двухслойных слой пенополиуретана или пенополиизоцианурата выполняет роль утеплителя, антиконденсатного и шумоизолирующего материала. данные панели применяют в качестве перегородок, подвесных потолков, ограждающих стен. |
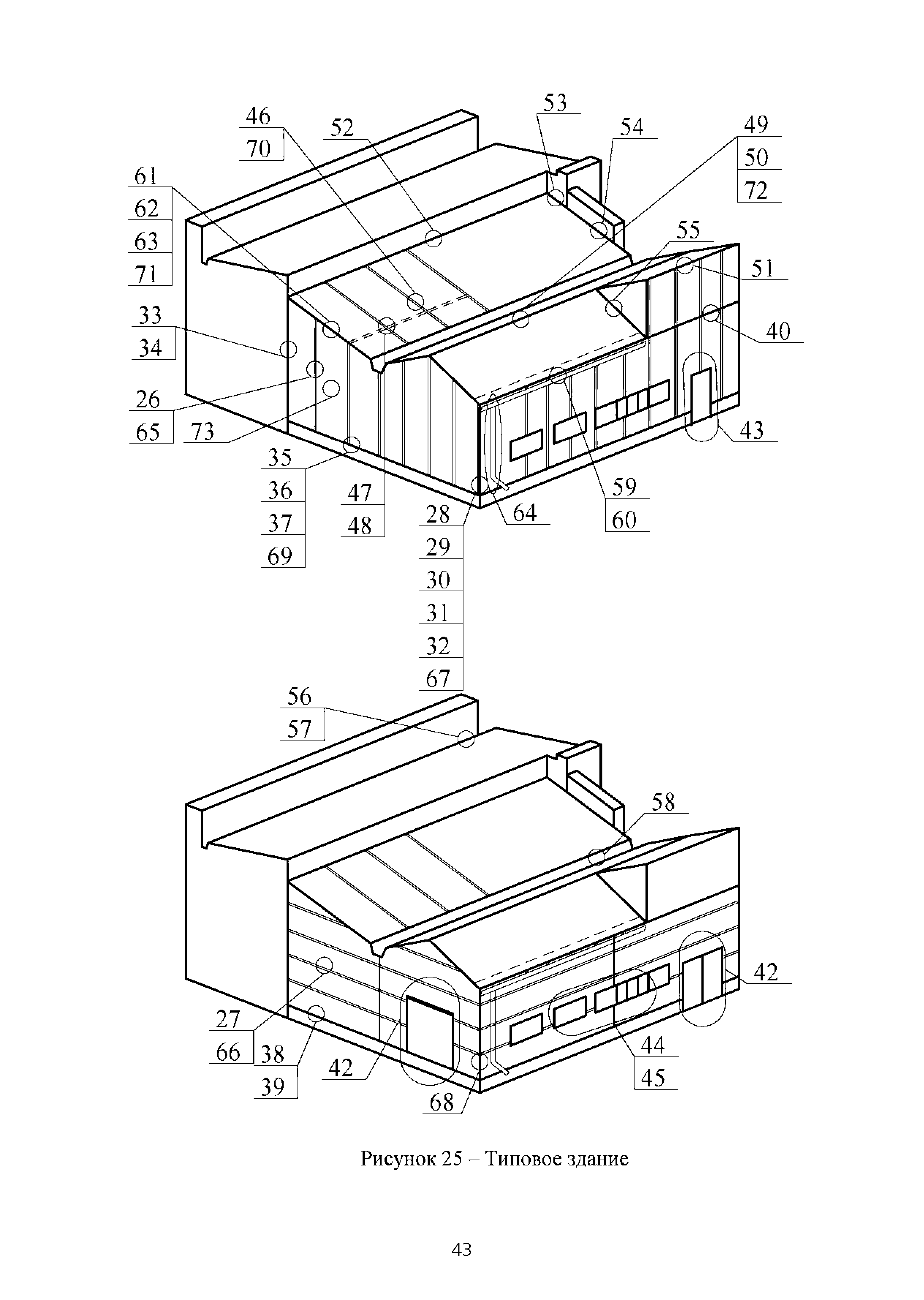
| Оглавление: | 1 Введение 2 Условия применения панелей 3 Маркировка панелей 4 Конструкции и размеры панелей 5 Преимущества 6 Комплектация ограждающих конструкций 7 Материалы и их свойства 8 Огнестойкость 9 Упаковка, транспортировка и разгрузка панелей 10 Хранение пакетов панелей 11 Рекомендации по монтажу 12 Замена поврежденных панелей 13 Гарантии завода-изготовителя Перечень крепежных деталей Перечень погонажных изделий 14 Узлы установки стеновых и кровельных панелей Наименование узлов ограждающих конструкций |
| Разработан: | ЗАО Самарский завод Электрощит - Стройиндустрия |
| Утверждён: | 30.06.2011 ЗАО Самарский завод Электрощит - Стройиндустрия |
| Нормативные ссылки: |
|




























































































