Скачать Руководство по переходу геологических нарушений механизированными комплексами

Дата актуализации: 01.01.2021

Руководство по переходу геологических нарушений механизированными комплексами

Статус:справочные материалы, мп, тпр
Название рус.:Руководство по переходу геологических нарушений механизированными комплексами
Дата добавления в базу:01.02.2020
Дата актуализации:01.01.2021
Область применения:В руководстве, предназначенном для инженерно-технических работников угольных предприятий, отражены специфика работы механизированных комплексов, основные мероприятия по технологии очистных работ, управлению комплексом, контроль за положением его элементов и безопасность работ при переходе геологических нарушений. Приводятся расчеты технико-экономических показателей и технико-экономическая оценка целесообразности перехода нарушения.
Оглавление:1 Введение
2 Характеристика нарушенности пологих и наклонных пластов
3 Условия и особенности работы механизированных комплексов в зоне нарушения
   3.1 Условия работы
   3.2 Влияние параметров нарушения на сложность его перехода
4 Технология очистных работ
   4.1 Переход зоны ослабленных пород
   4.2 Выбор способа и варианта присечки боковых пород
   4.3 Определение объема присекаемых пород для одиночного нарушения
   4.4 Определение объема присечки при переходе группы нарушений
   4.5 Примеры расчета объемов присекаемой породы и выбора варианта присечки
   4.6 Составление технологической карты перехода нарушения
5 Эксплуатация и управление движением комплекса
   5.1 Общие положения
   5.2 Маневрирование комплексом в вертикальной плоскости
   5.3 Маневрирование комплексом в плоскости пласта
   5.4 Выбор раздвижности крепи
   5.5 Контроль за положение элементов комплекса
6 Технико-экономические показатели перехода нарушения
   6.1 Расчет нагрузки на очистной забой на период перехода геологического нарушения
   6.2 Расчет нагрузки при переходе серии мелкоамплитудных нарушений
   6.3 Расчет среднесуточной нагрузки на нарушенное выемочное поле
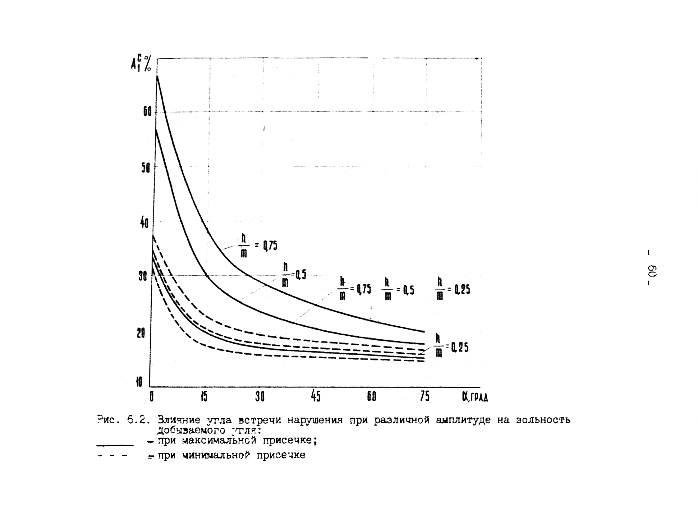
   6.4 Расчет вольности добываемого угля
   6.5 Потери угля
7 Оценка целесообразности перехода геологических нарушений механизированными комплексами
   7.1 Определение целесообразности перехода геологического нарушения
   7.2. Расчет экономической целесообразности перехода нарушения для условий Кузнецкого бассейна
8 Основные меры по безопасному ведению работ
Разработан: КузНИУИ
П/О Ленинскуголь
ВПО Кузбассуголь
П/О Южкузбассуголь
П/О Северокузбассуголь
Утверждён:12.08.1982 КузНИУИ
19.08.1982 ВПО Кузбассуголь