Скачать Типовой проект 902-3-64.87 Альбом II. Технологические, санитарно-технические и электротехнические решенияДата актуализации: 01.01.2021
|
| Обозначение: | Типовой проект 902-3-64.87 |
| Обозначение англ: | 902-3-64.87 |
| Статус: | не определен законодательством |
| Название рус.: | Альбом II. Технологические, санитарно-технические и электротехнические решения |
| Дата добавления в базу: | 01.10.2014 |
| Дата актуализации: | 01.01.2021 |
| Дата введения: | 23.04.1986 |
| Дата окончания срока действия: | 30.06.2003 |
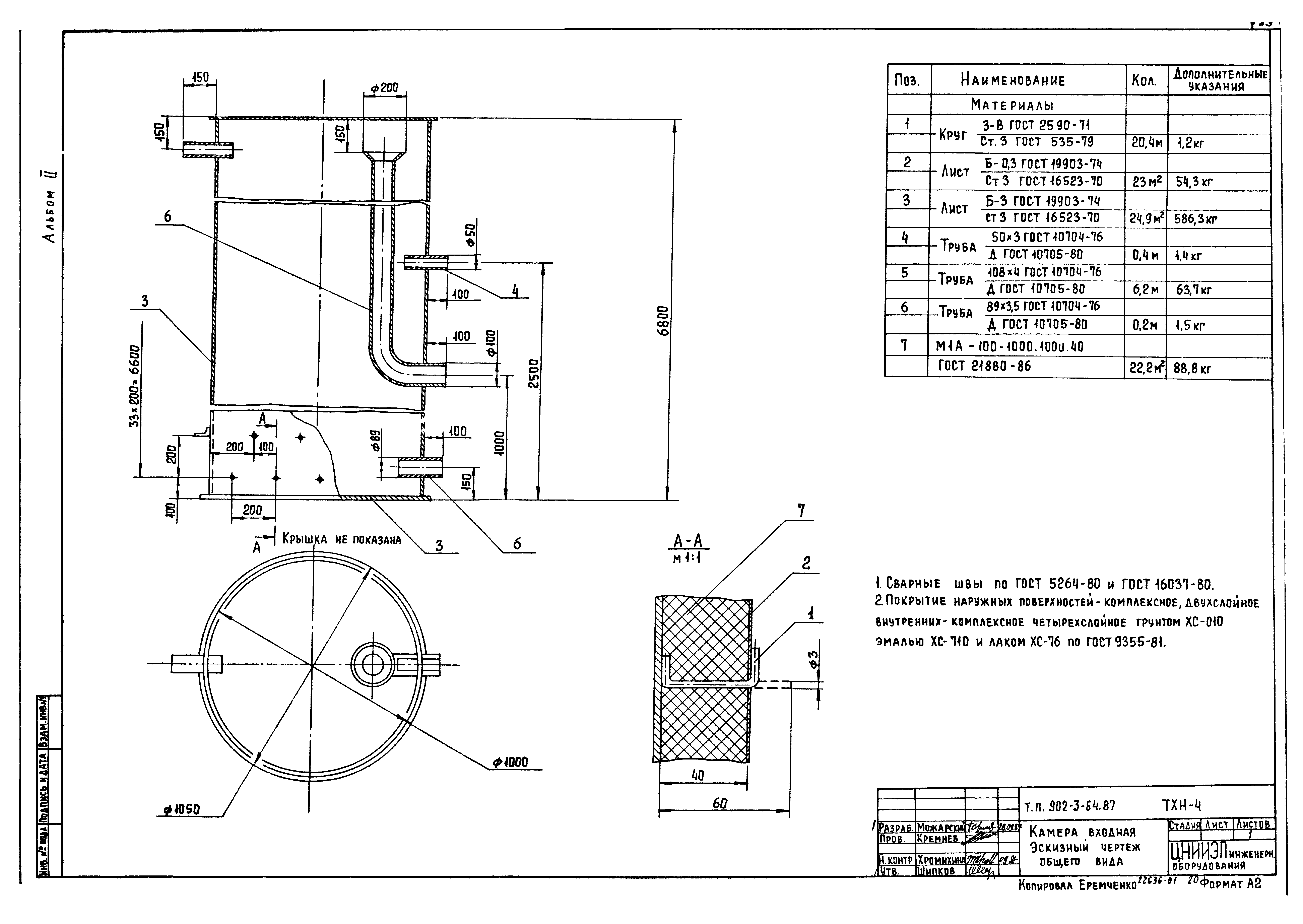
| Оглавление: | Содержание альбома Технологические решения Общие данные Технологическая схема План станции. Элемент плана станции с трубопроводами Профили трубопроводов М1, М3, М4, М6, М9, М5 Профили трубопроводов М5, И2, И4, И16 Профили трубопроводов К1 Производственно-вспомогательное здание. План Производственно-вспомогательное здание. Разрезы Производственно-вспомогательное здание. Схемы трубопроводов М5, М9, М6, К3, В1 Производственно-вспомогательное здание. Схемы трубопроводов М1, М3, М4, И2 Емкостные сооружения. Планы. Разрезы Песколовка. Эскизный чертеж общего вида Биофильтр. Эскизный чертеж общего вида Фильтр песчаный. Эскизный чертеж общего вида Камера входная. Эскизный чертеж общего вида Санитарно-технические решения Общие данные План на отм. 0.000. Схемы систем П1, В1, В2, В3, ВЕ1, ВЕ2 Схема системы отопления. Схема системы водоснабжения установки П1, ИТП Установка систем П1, В1, В2, В3 Переход №1. Переход №2 Водопровод и канализация Общие данные. План Схемы В1, Т3, К1 Электротехнические решения. Электросиловое оборудование Общие данные Распределительная сеть 380/220 В. Принципиальная схема Принципиальная схема управления насосами поступающей сточной и грязной промывной воды Принципиальная схема управления насосами циркулирующей биопленки и насосами для уплотнения сальников Схема подключения Кабельный журнал Размещение электрооборудования и прокладка кабеля Автоматизация Общие данные Схема автоматизации Схема автоматизации приточной камеры Схема аварийной сигнализации Схема соединений внешних проводок План расположения Электротехническое освещение Общие данные Электрическое освещение. План на отм. 0.000 Связь и сигнализация Общие данные. План на отм. 0.000 с сетями связи и сигнализации |
| Разработан: | ЦНИИЭП инженерного оборудования |
| Утверждён: | 23.04.1986 Госгражданстрой (Gosgrazhdanstroy 145) |
| Издан: | ЦИТП Госстроя СССР (CITP, Gosstroy (USSR) 1988 г. ) |



















































