Скачать ОСТ 39-061-78 Установки подготовки нефти. Параметрические рядыДата актуализации: 01.01.2021
|
| Обозначение: | ОСТ 39-061-78 |
| Обозначение англ: | OST 39-061-78 |
| Статус: | введен впервые |
| Название рус.: | Установки подготовки нефти. Параметрические ряды |
| Дата добавления в базу: | 01.09.2013 |
| Дата актуализации: | 01.01.2021 |
| Дата введения: | 01.01.1980 |
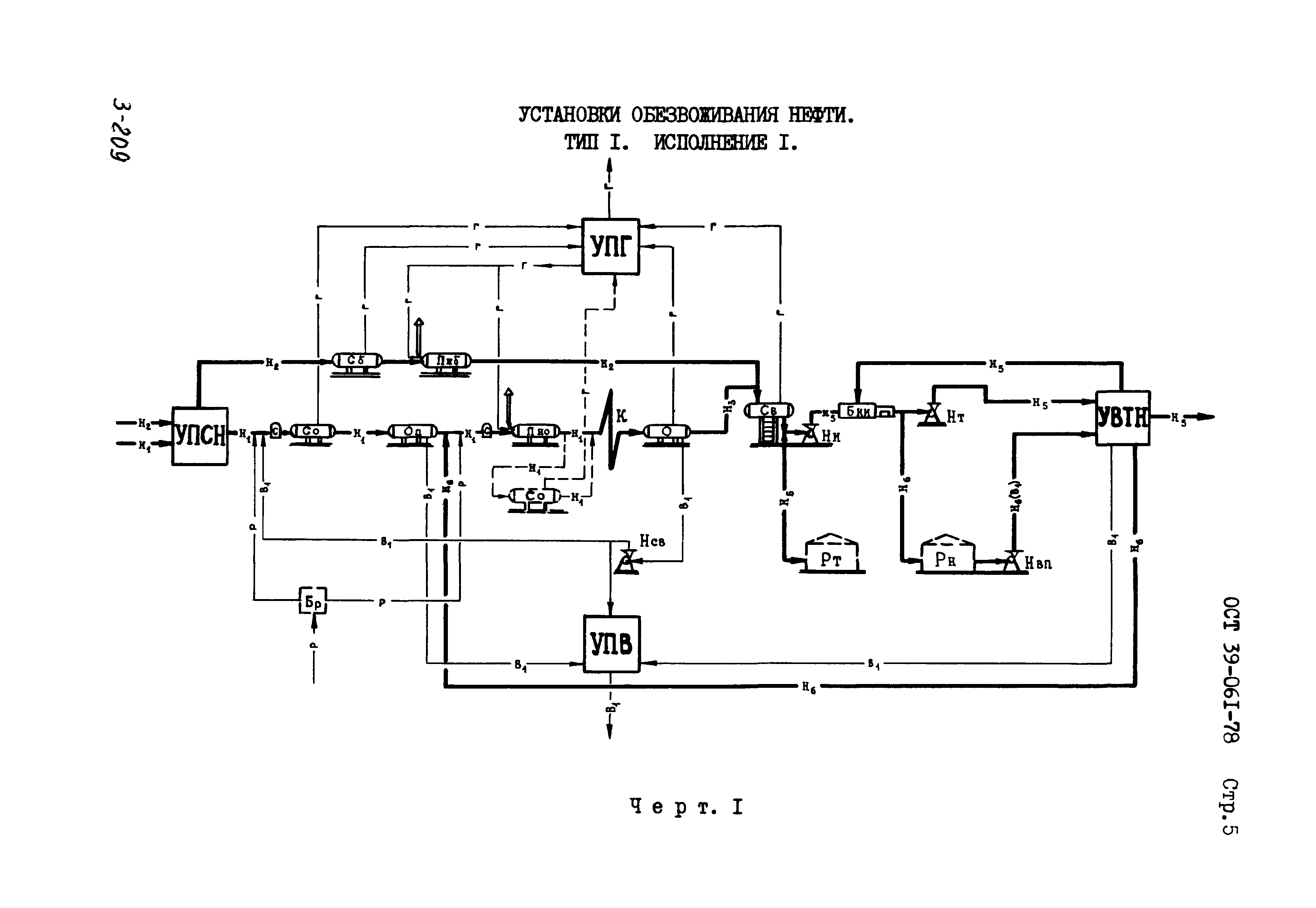
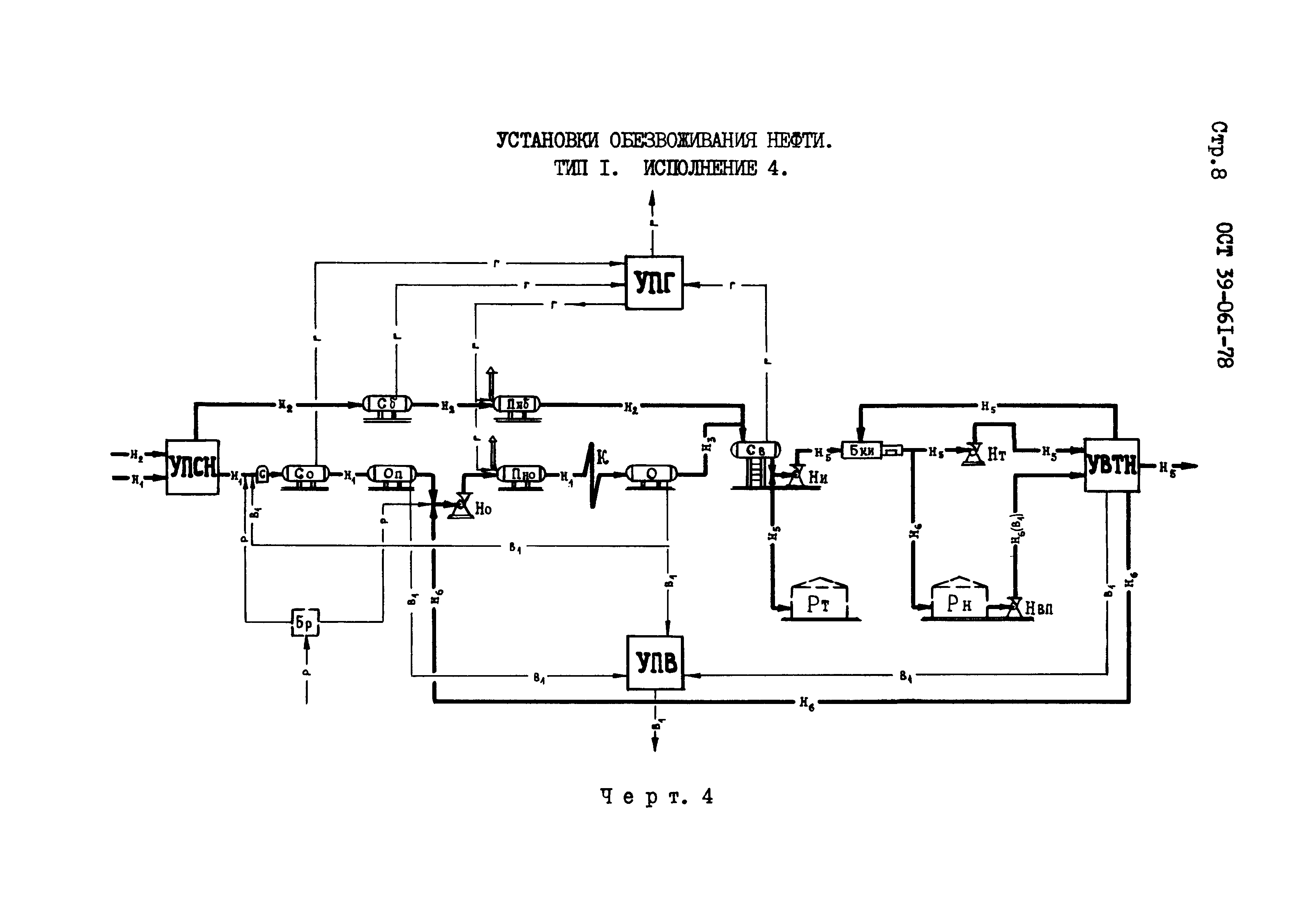
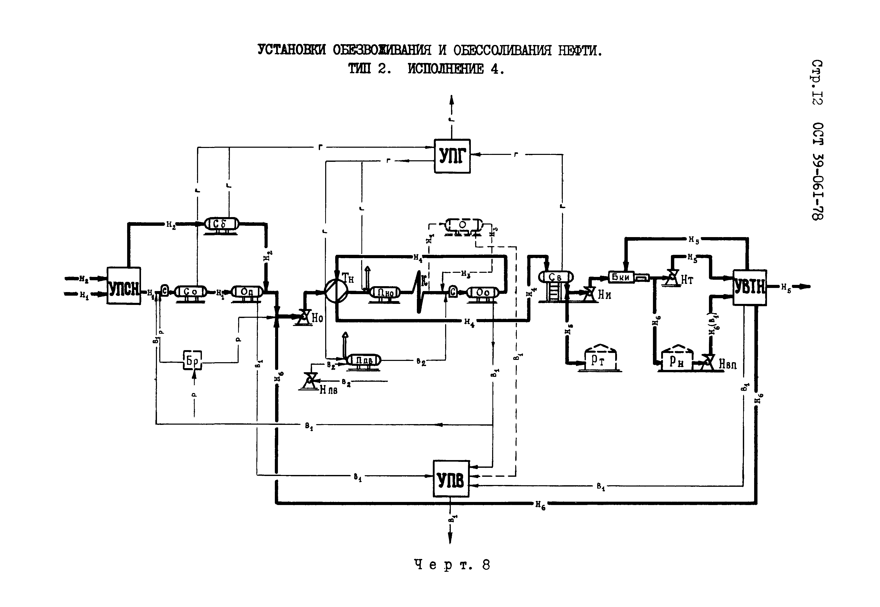
| Область применения: | Стандарт распространяется на применяемые в нефтяной промышленности установки подготовки нефти (УПН), комплектуемые блочным автоматизированным оборудованием (БАО), выполненным в виде отдельных однофункциональных или многофункциональных технологических блоков ФТБ заводского изготовления с целью индустриализации строительства УПН. |
| Оглавление: | 1 Параметрический ряд производительностей УПН 2 Основные типы, исполнения и базовые технологические параметры УПН 3 Параметрические ряды основных ФТБ 4 Комплектность поставки УПН Приложения |
| Разработан: | Гипровостокнефть ВНИИКАнефтегаз |
| Утверждён: | Министерство нефтяной промышленности |
| Принят: | Миннефтепром (Minnefteprom ) |
| Список изменений: |































Текстовое изменение № 1 от 01.06.1984