Скачать Раздел 5 Водопровод, канализация и газопроводДата актуализации: 01.01.2021
|
| Обозначение: | Раздел 5 |
| Обозначение англ: | Раздел 5 |
| Статус: | действует |
| Название рус.: | Водопровод, канализация и газопровод |
| Дата добавления в базу: | 01.09.2013 |
| Дата актуализации: | 01.01.2021 |
| Дата введения: | 01.09.1977 |
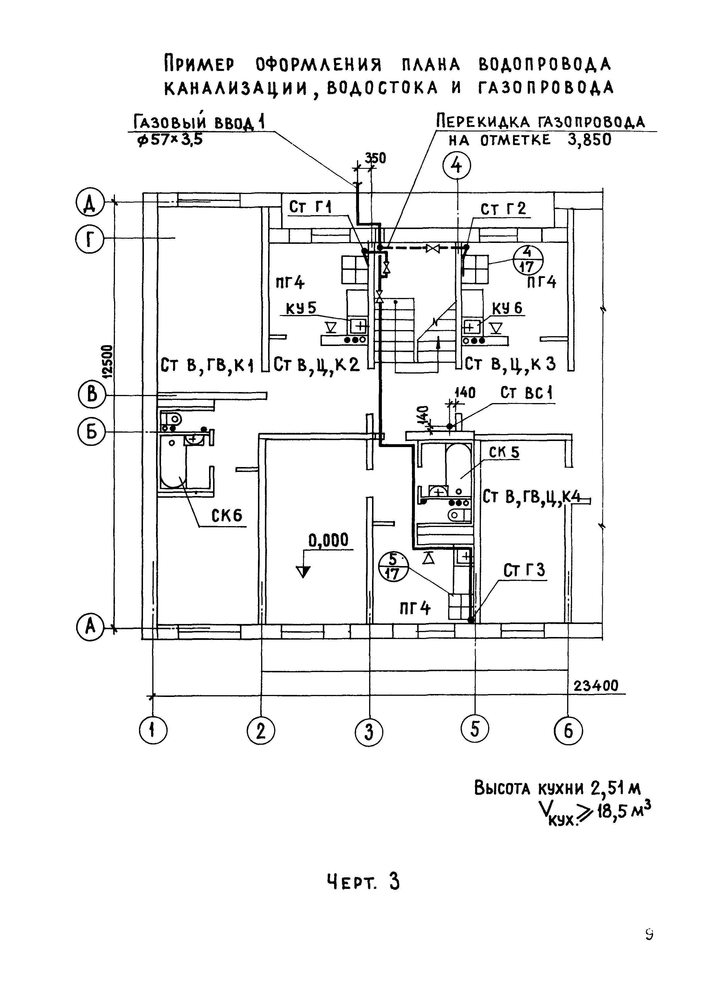
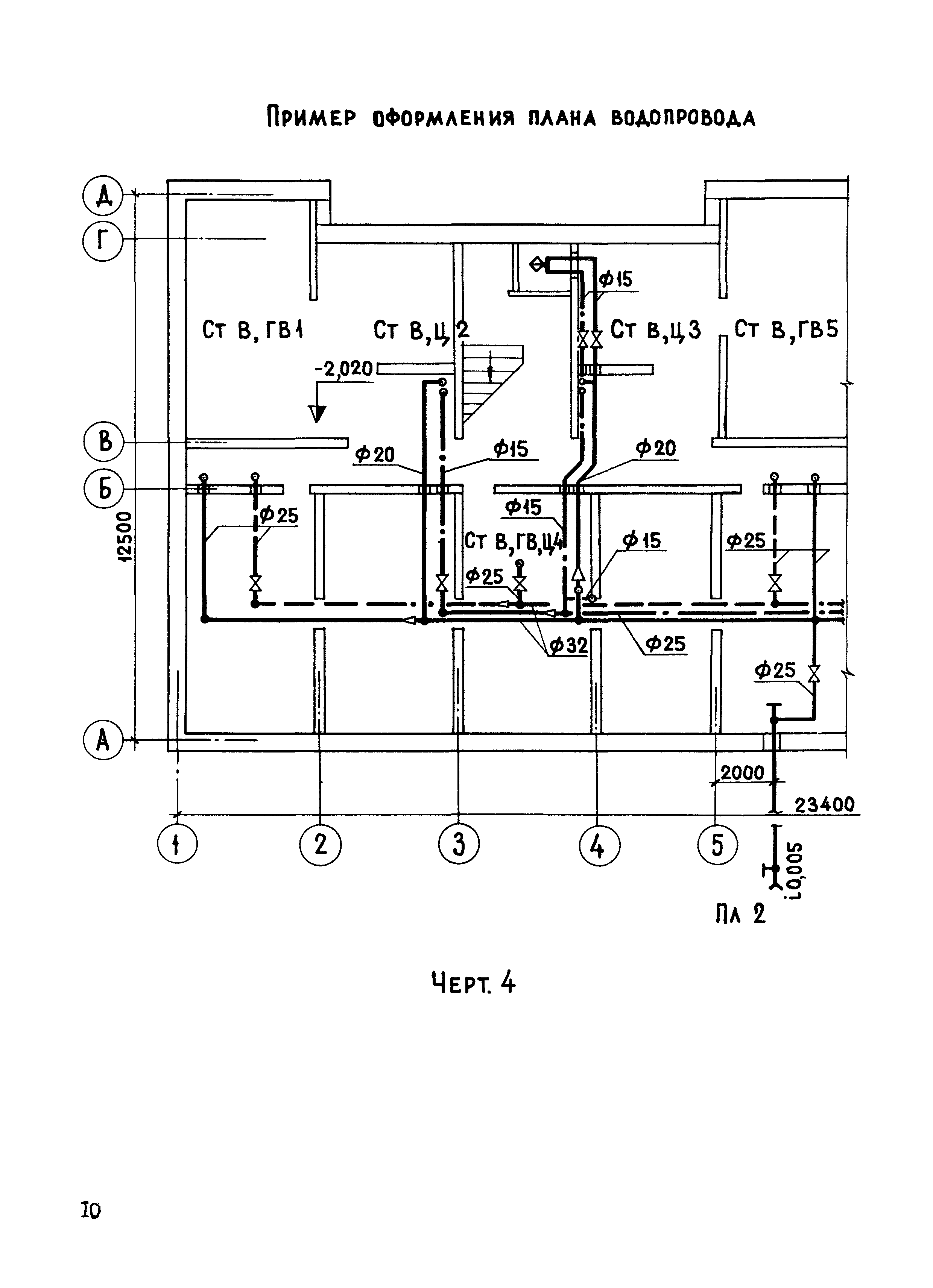
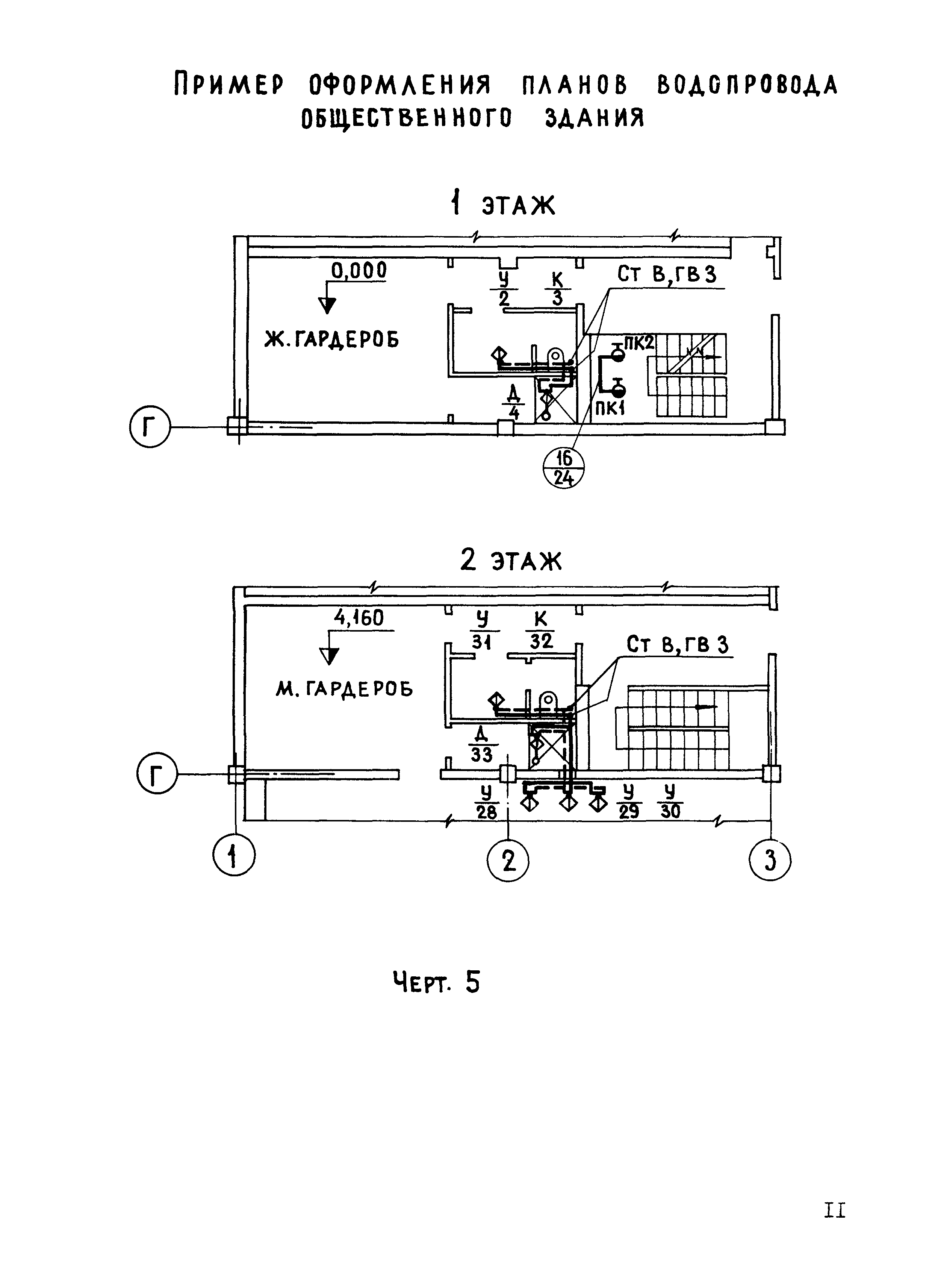
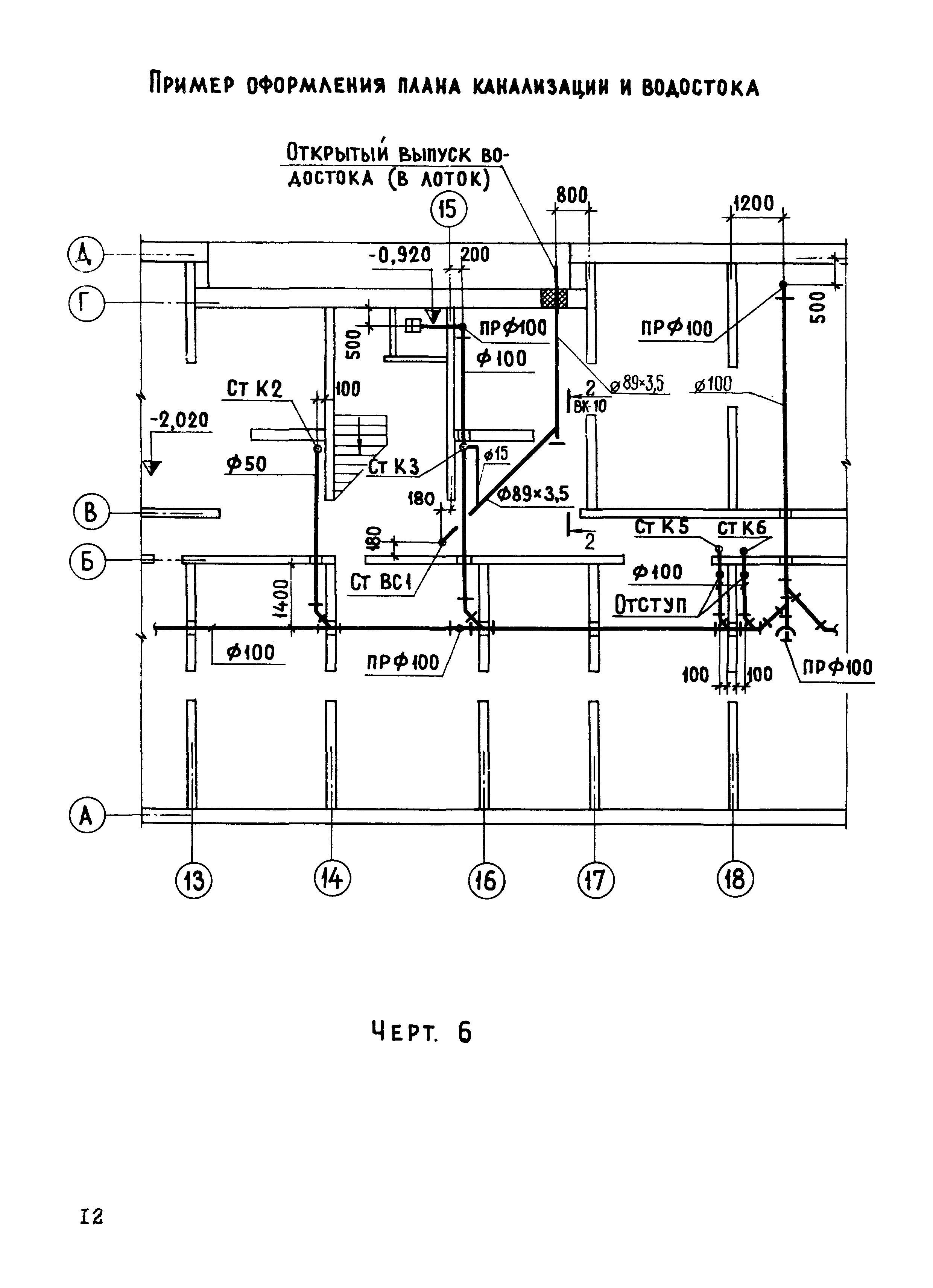
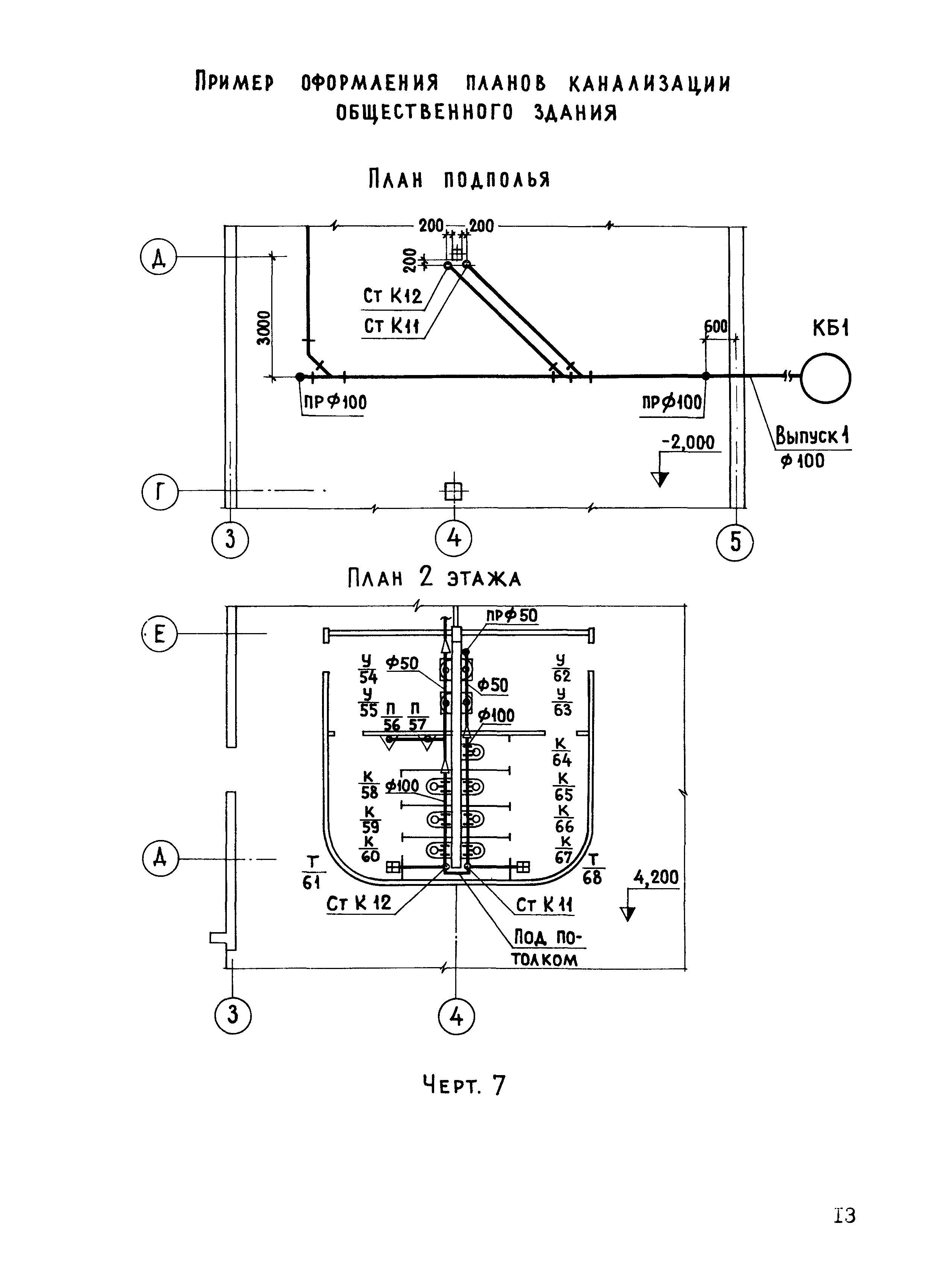
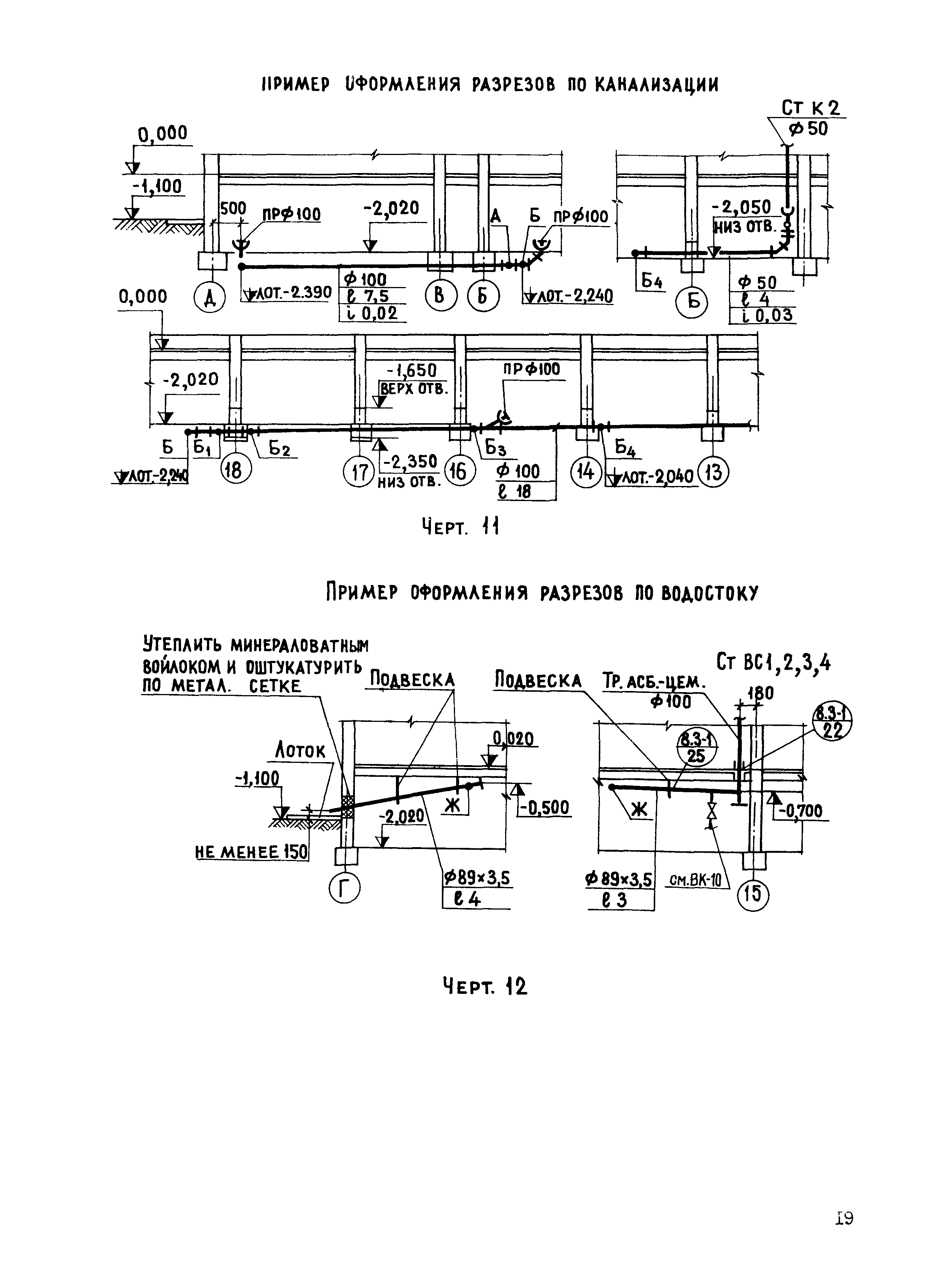
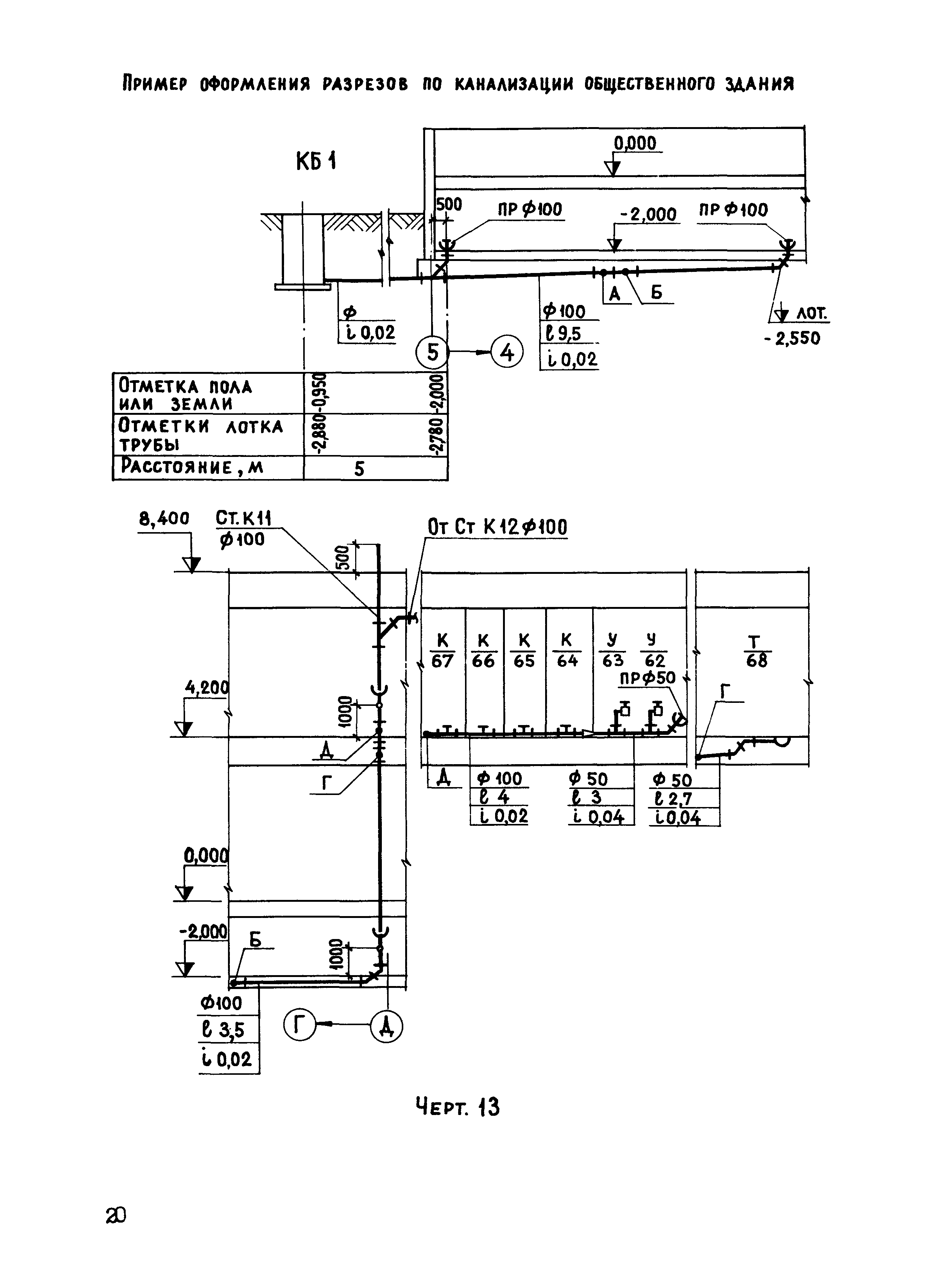
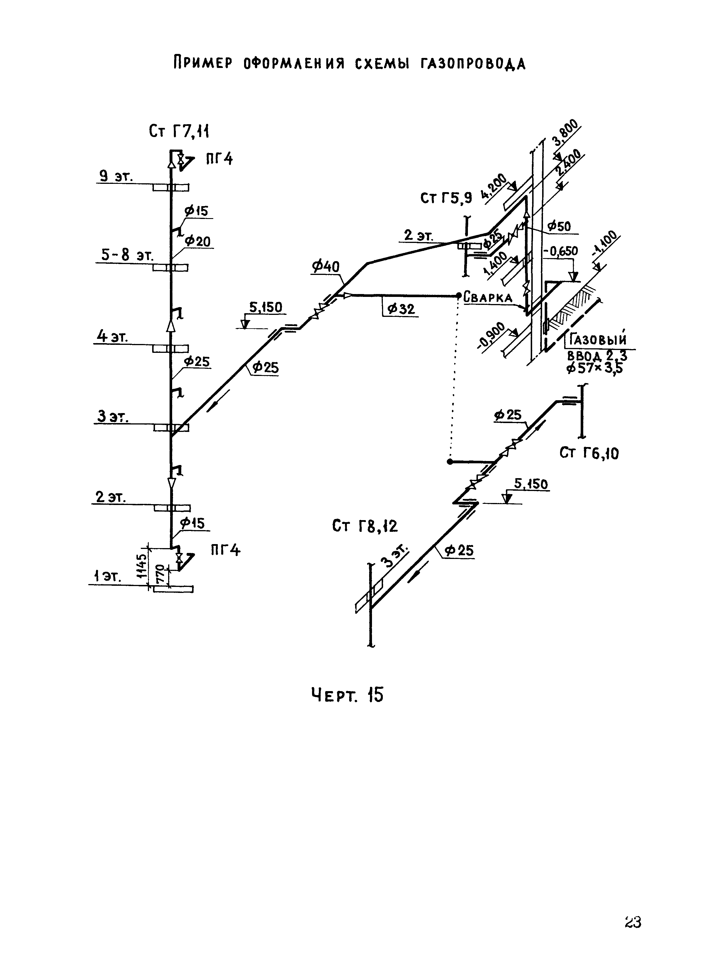
| Область применения: | Инструкция устанавливает состав и правила оформления рабочих чертежей внутреннего водопровода, канализации, водостока и газопровода жилых и общественных зданий и сооружений |
| Оглавление: | 1. Область применения 2. Состав основного комплекта рабочих чертежей и общие правила их оформления 3. Заглавный лист и сводная спецификация 4. План системы 5. Схемы и разрезы систем 6. Чертежи установок систем водопровода и канализации 7. Чертежи узлов 8. Чертежи общих нетиповых конструкций и нестандартизированноого оборудования |
| Разработан: | ЦНИИЭП жилища |
| Утверждён: | 26.07.1977 Государственный комитет по гражданскому строительству и архитектуре при Госстрое СССР (149) |






























