Скачать Раздел 6 ЭлектрооборудованиеДата актуализации: 01.01.2021
|
| Обозначение: | Раздел 6 |
| Обозначение англ: | Раздел 6 |
| Статус: | действует |
| Название рус.: | Электрооборудование |
| Дата добавления в базу: | 01.09.2013 |
| Дата актуализации: | 01.01.2021 |
| Дата введения: | 01.10.1979 |
| Область применения: | Инструкция устанавливает состав и правила оформления рабочих чертежей внутреннего электрооборудования жилых и общественных зданий и общественных зданий и сооружений |
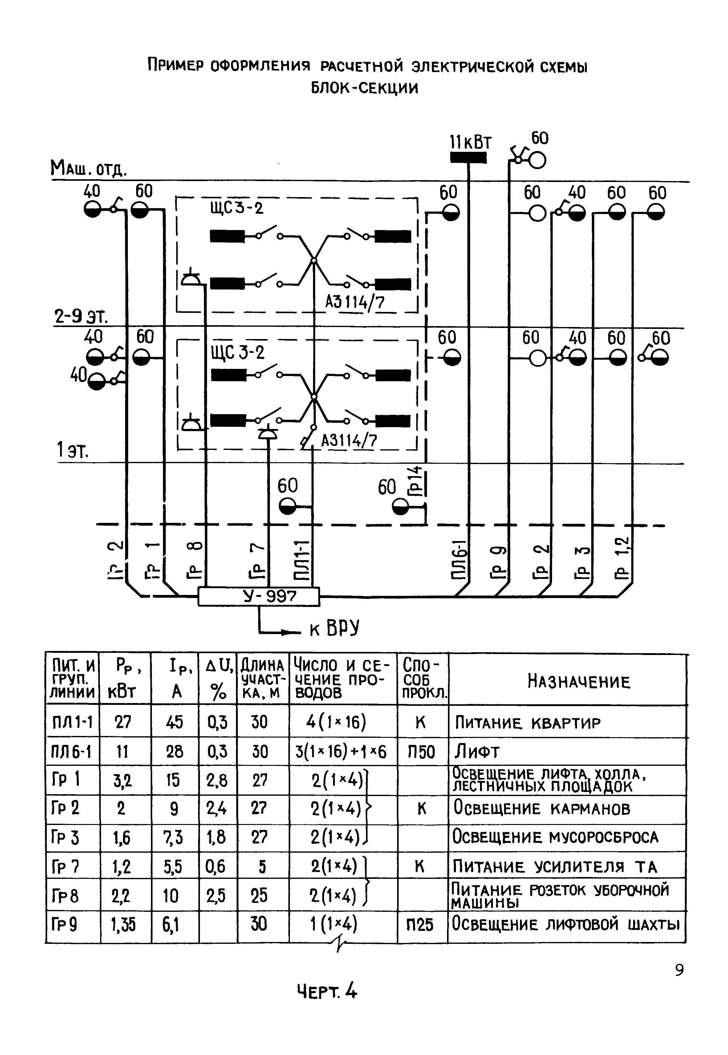
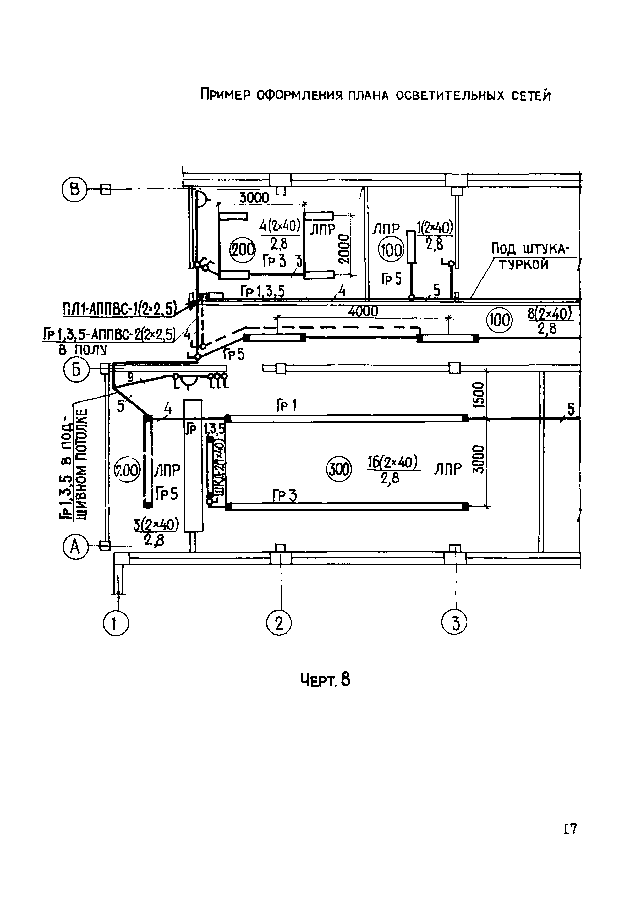
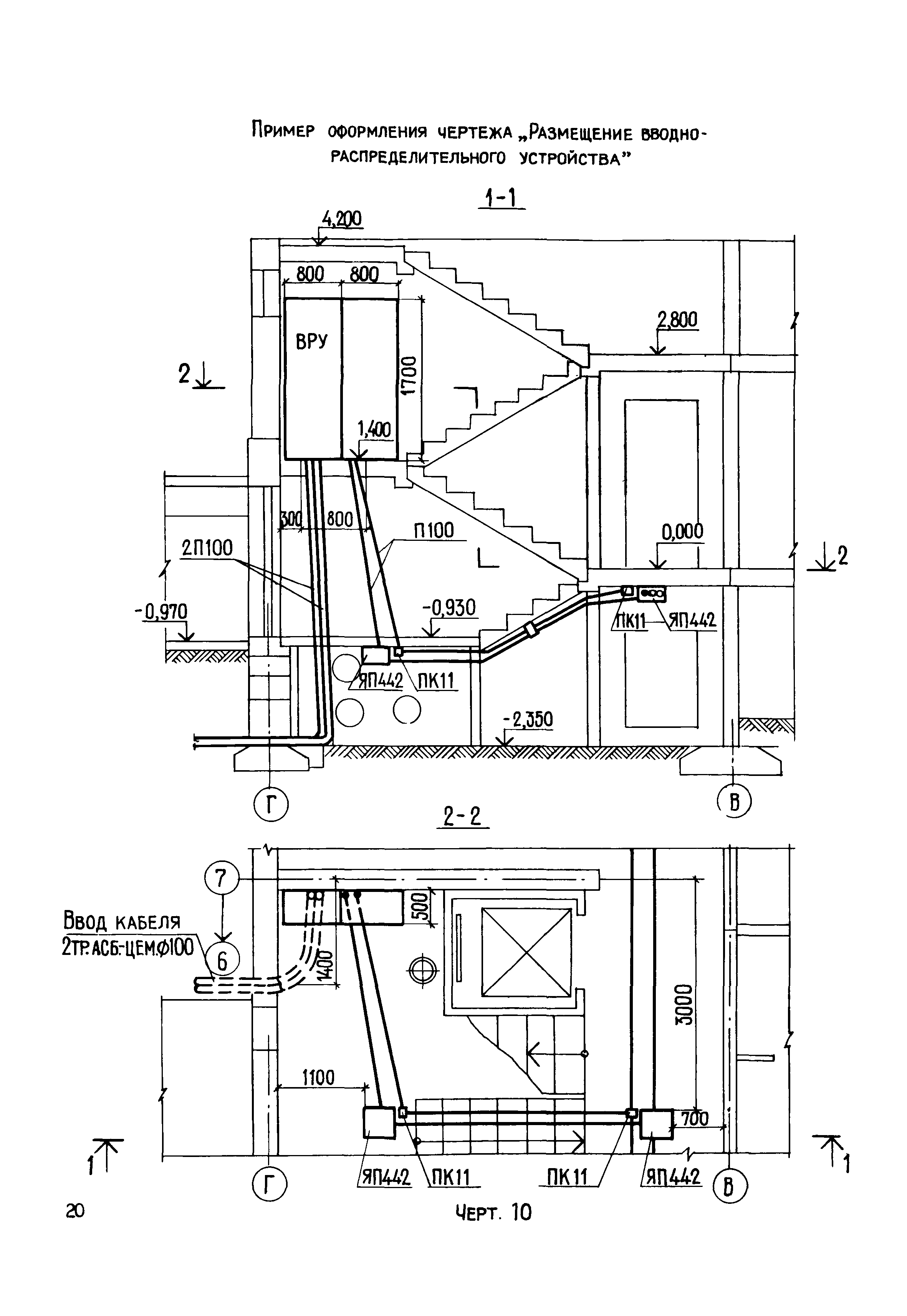
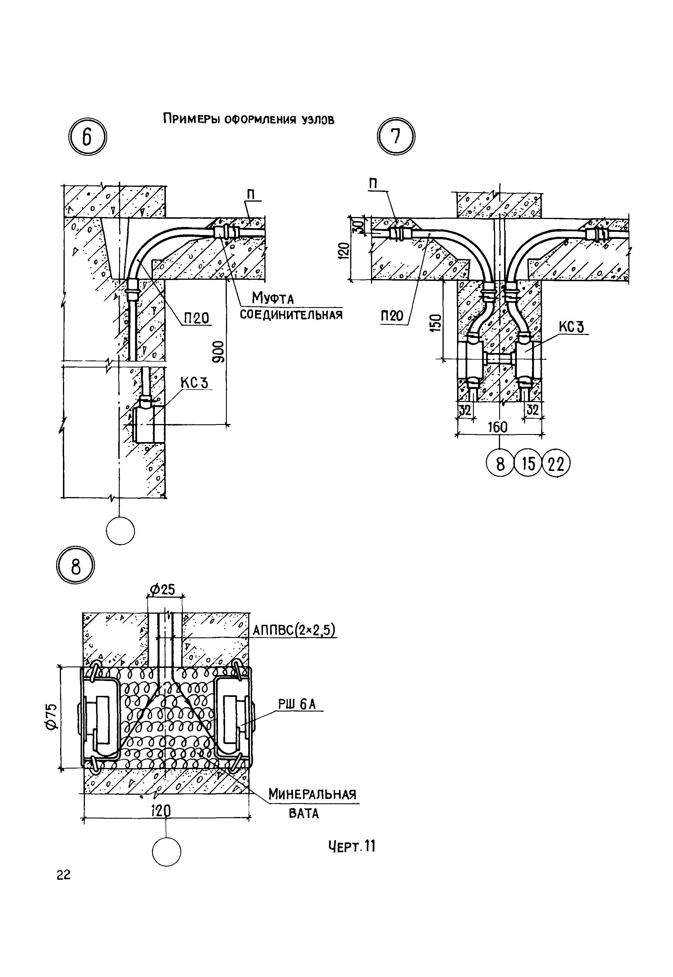
| Оглавление: | 1. Область применения 2. Состав основного комплекта рабочих чертежей и общие правила их оформления 3. Общие данные (заглавный лист). Спецификация 4. Схемы расчетные 5. Планы сетей 6. Чертежи размещения вводно-распределительных устройств и групповых щитов 7. Чертежи узлов электропроводки Приложение 1. Основные условные графические обозначения и сокращения, применяемые в чертежах электрооборудования жилых и общественных зданий Приложение 2. Перечень введенных в действие и утвержденных стандартов Системы проектной документации для строительства (CGLC) и стандартов ЕСКД с условными графическими обозначениями электрооборудования |
| Разработан: | ЦНИИЭП жилища |
| Утверждён: | 08.08.1979 Государственный комитет по гражданскому строительству и архитектуре при Госстрое СССР (171) |
| Принят: | 23.05.1979 Отдел типового проектирования и организации проектно-изыскательских работ Госстроя СССР (2/2-194) |
































