Скачать Раздел 7 Устройства связи и сигнализацииДата актуализации: 01.01.2021
|
| Обозначение: | Раздел 7 |
| Обозначение англ: | Раздел 7 |
| Статус: | действует |
| Название рус.: | Устройства связи и сигнализации |
| Дата добавления в базу: | 01.09.2013 |
| Дата актуализации: | 01.01.2021 |
| Дата введения: | 01.10.1979 |
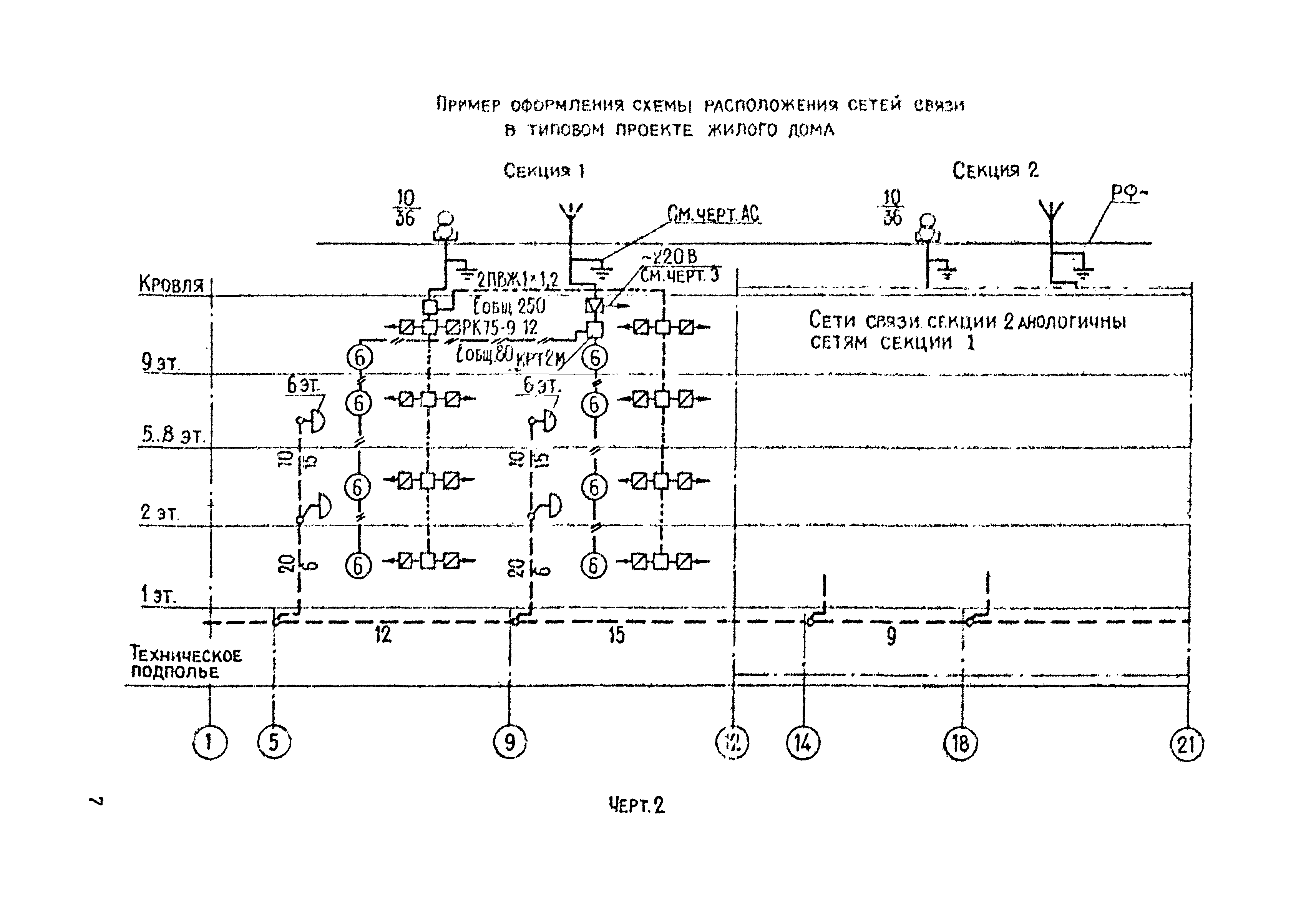
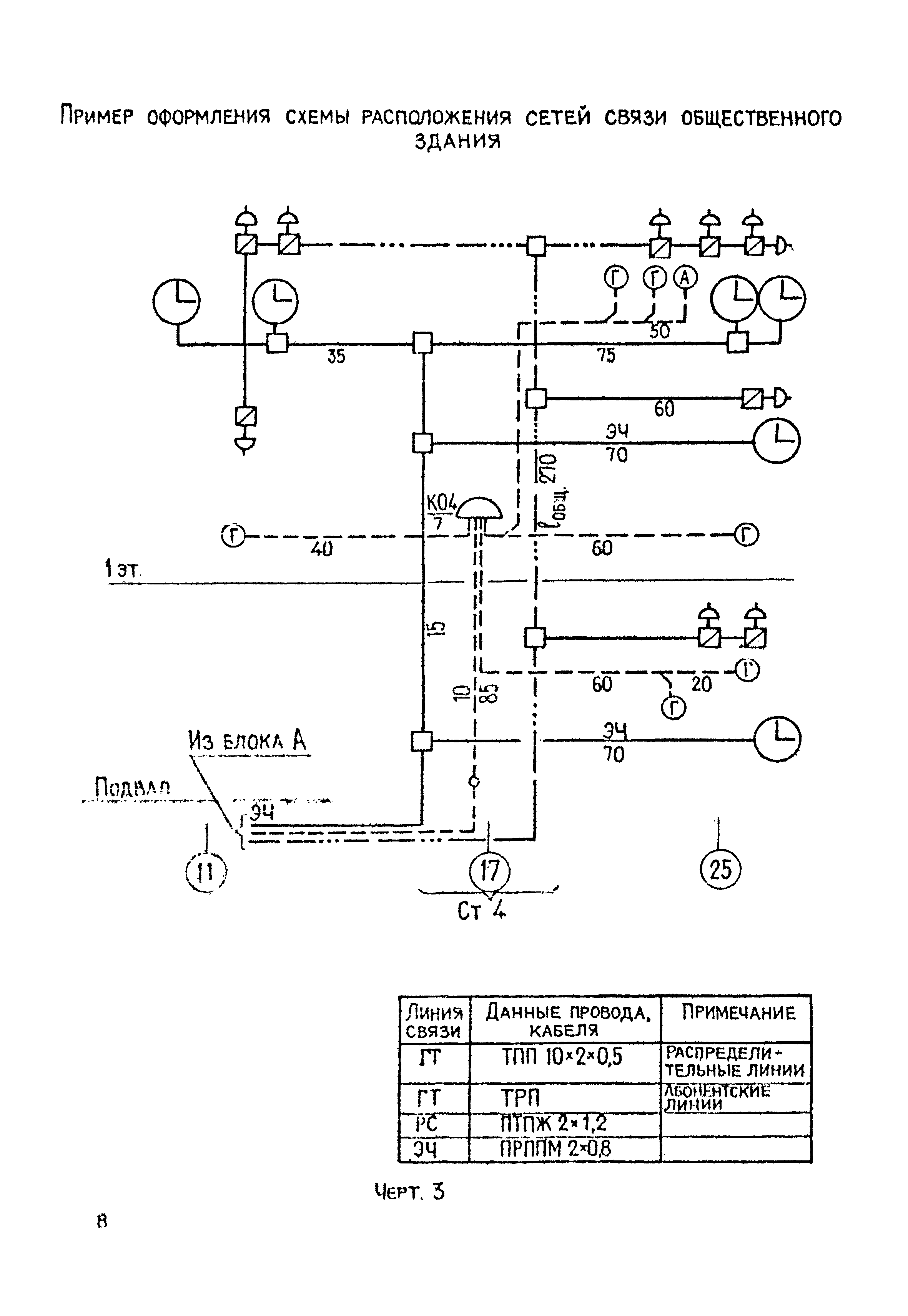
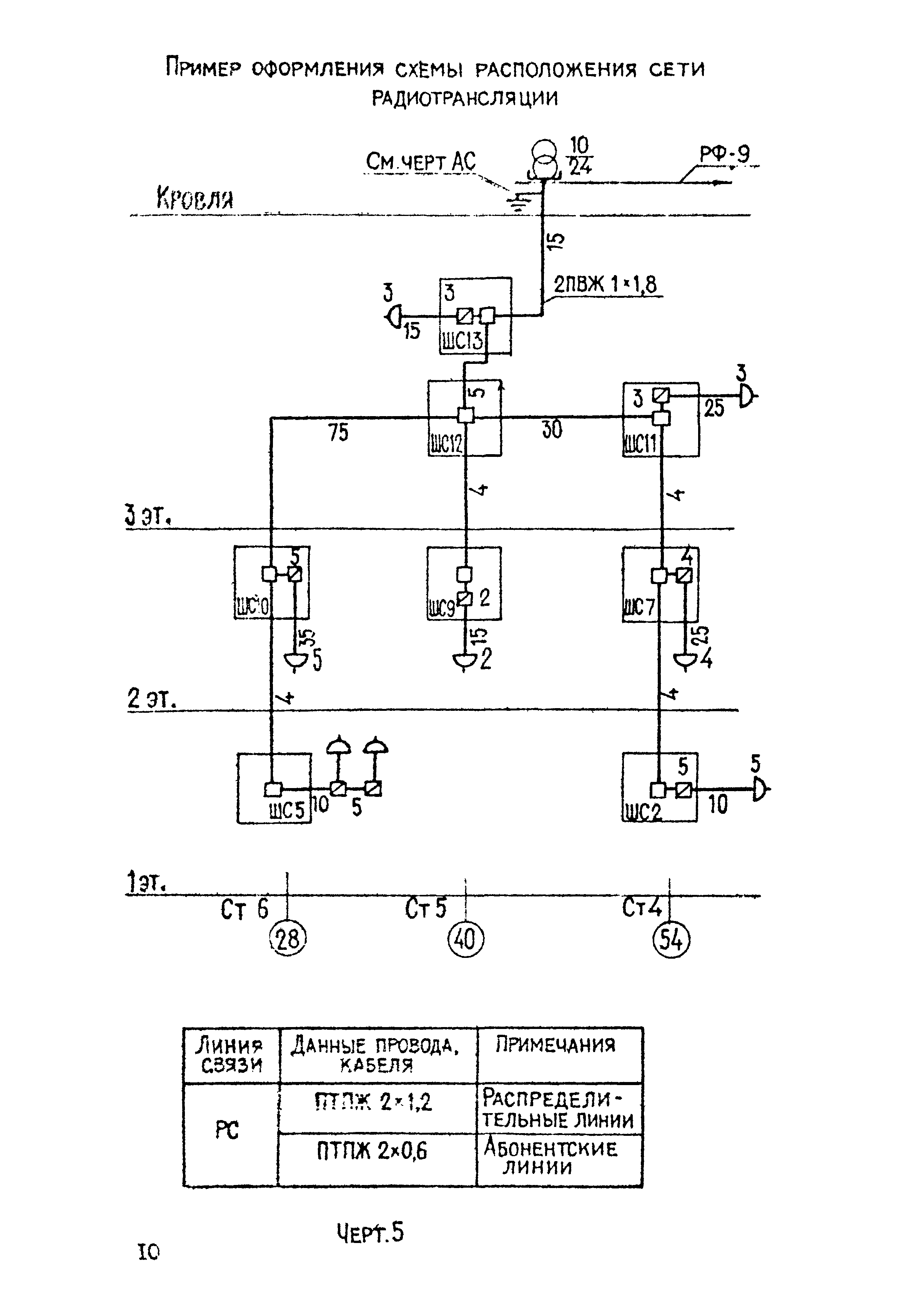
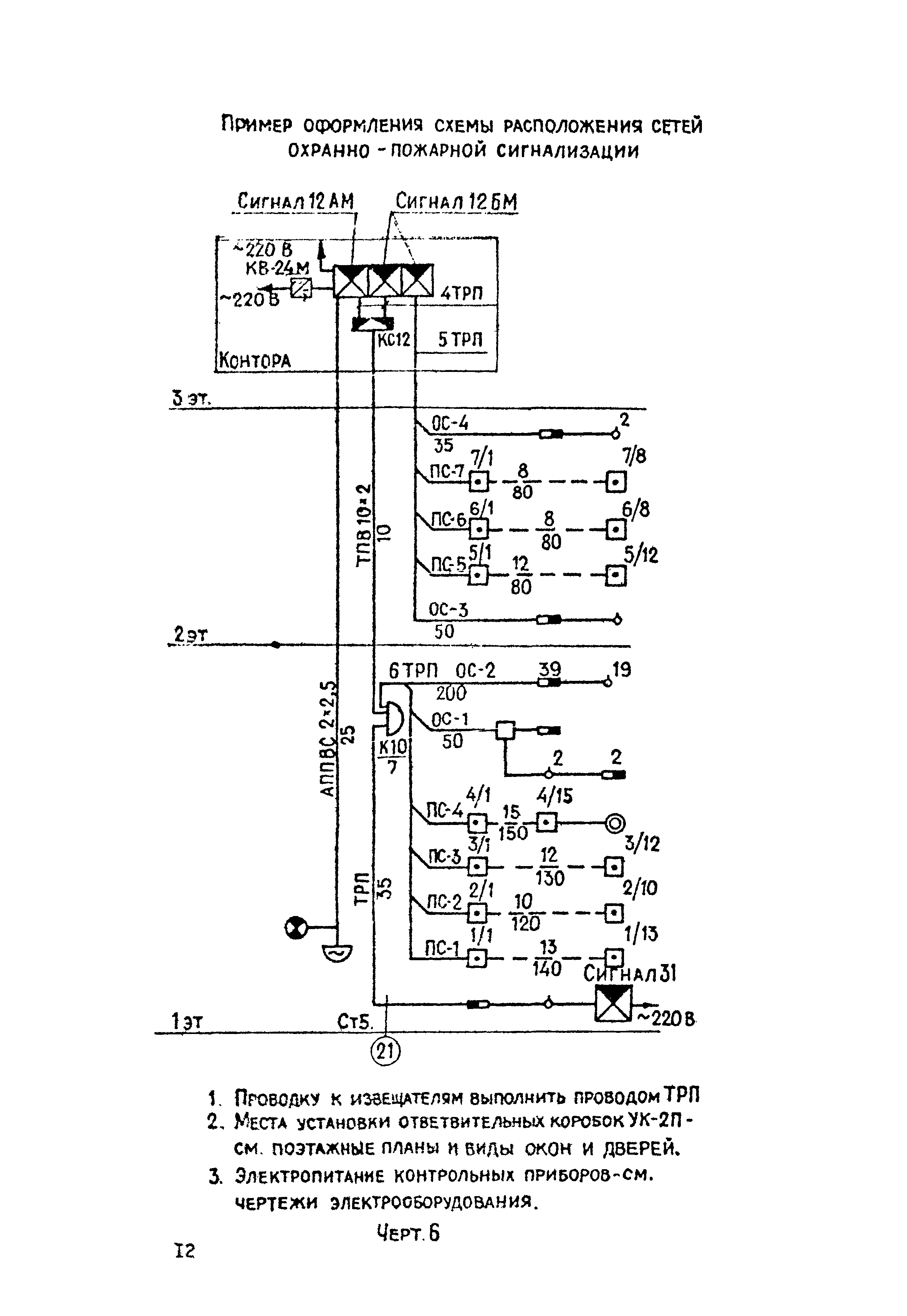
| Область применения: | Инструкция устанавливает состав и правила оформления чертежей внутренних сетей телефонизации, радиотрансляции, административно-хозяйственной и оперативной (директорской) связи, электрочасофикации, охранно-пожарной сигнализации, систем (крупных систем) коллективного приема телевидения (СКПТ, КСКПТ) и других видов связи и сигнализации (в том числе станционных устройств местной телефонизации, звукофикации, и т.п.) жилых и общественных зданий. |
| Оглавление: | 1. Область применения 2. Состав основного комплекта рабочих чертежей и общие правила их оформления 3. Общие данные (заглавный лист). Спецификация 4. Схемы расположения сетей 5. Планы сетей 6. Чертежи узлов Приложение 1. Основные условные графические обозначения и сокращения, применяемые в чертежах электрооборудования жилых и общественных зданий Приложение 2. Перечень введенных в действие и утвержденных стандартов Системы проектной документации для строительства (CGLC) и стандартов ЕСКД с условными графическими обозначениями электрооборудования |
| Разработан: | ЦНИИЭП жилища |
| Утверждён: | 08.08.1979 Государственный комитет по гражданскому строительству и архитектуре при Госстрое СССР (171) |




























