Скачать Рекомендации по обеспечению требуемой звукоизоляции при конструировании жилых зданий

Дата актуализации: 01.01.2021

Рекомендации по обеспечению требуемой звукоизоляции при конструировании жилых зданий

Статус:справочные материалы, мп, тпр
Название рус.:Рекомендации по обеспечению требуемой звукоизоляции при конструировании жилых зданий
Дата добавления в базу:01.09.2013
Дата актуализации:01.01.2021
Область применения:Рекомендации предназначены для использования при конструировании (проектировании и экспериментальном контроле проектных решений) внутренних ограждающих конструкций жилых зданий, к которым предъявляются требования по звукоизоляции, изложенные в главе СНиП II-12-77 "Нормы проектирования. Защита от шума"
Оглавление:1. Назначение и область применения
2. Нормы звукоизоляции ограждающих конструкций
3. Расчет звукоизоляции ограждающих конструкций
   3.1. Общие положения
   3.2. Изоляция воздушного шума акустически однородными ограждениями и элементами акустически неоднородных ограждений
   3.3. Изоляция воздушного шума акустически неоднородными ограждениями
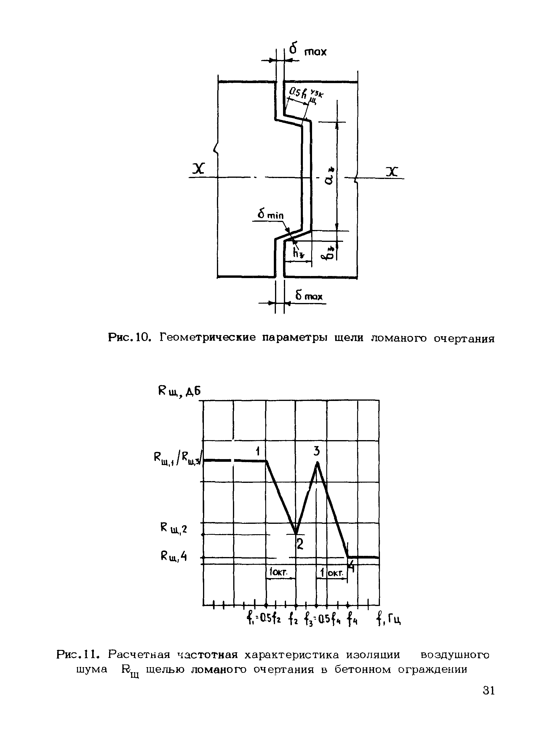
   3.4. Изменение изоляции воздушного шума ограждениями при эксплуатации, вызванное прохождением звука через трещины, щели
   3.5. Изменение изоляции воздушного шума ограждениями, вызванное особыми конструктивно-планировочными условиями в здании
   3.6. Изоляция ударного шума междуэтажными перекрытиями
   3.7. Определение требуемых характеристик ограждающих конструкций
4. Конструктивные меры по обеспечению требуемой звукоизоляции ограждающих конструкций
   4.1. Общие положения
   4.2. Междуэтажные перекрытия
   4.3. Внутренние стены и перегородки
   4.4. Узлы и стыки
   4.5. Детали ограждений, связанные с инженерным оборудованием
 Методика экспериментального контроля соответствия проектных решений конструкций требованиям по звукоизоляции
Приложение 1. Методика определения индексов изоляции воздушного шума ограждающей конструкцией Iв и приведенного уровня ударного шума под перекрытием Iу
Приложение 2. Характеристики бетонов на пористых заполнителях
Приложение 3. Примеры расчета
Приложение 4. Пояснения к рекомендуемым методам расчета звукоизоляции ограждающих конструкций
Разработан: ЦНИИЭП жилища
Утверждён:24.11.1983 ЦНИИЭП жилища (TsNIIEPzhilishcha 46)
Нормативные ссылки: