Скачать Рекомендации по ремонту стыков панелей наружных стен полносборных домов

Дата актуализации: 01.01.2021

Рекомендации по ремонту стыков панелей наружных стен полносборных домов

Статус:справочные материалы, мп, тпр
Название рус.:Рекомендации по ремонту стыков панелей наружных стен полносборных домов
Дата добавления в базу:01.09.2013
Дата актуализации:01.01.2021
Область применения:Документ содержит описание комплекса работ по установлению вероятных причин возникновения дефектов и ремонту стыков элементов наружных стен. Применение методов, изложенных в документе, позволит повысить эффективность ремонтных работ и обеспечить требуемые эксплуатационные качества стыков.
Оглавление:Введение
1. Общие положения
2. Проведение обследований стыков
3. Организация ремонтных работ
4. Устранение дефектов стыков элементов наружных стен
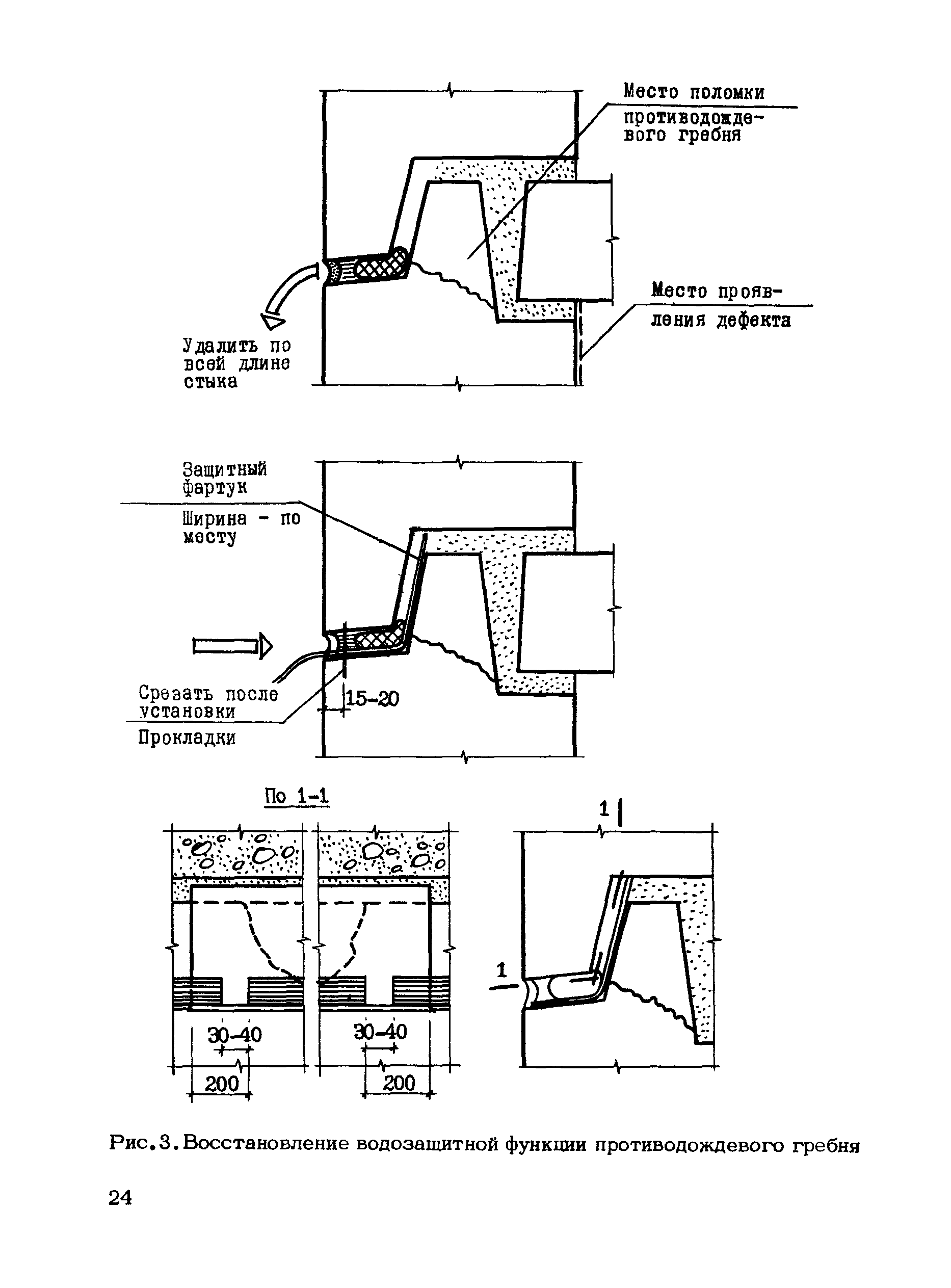
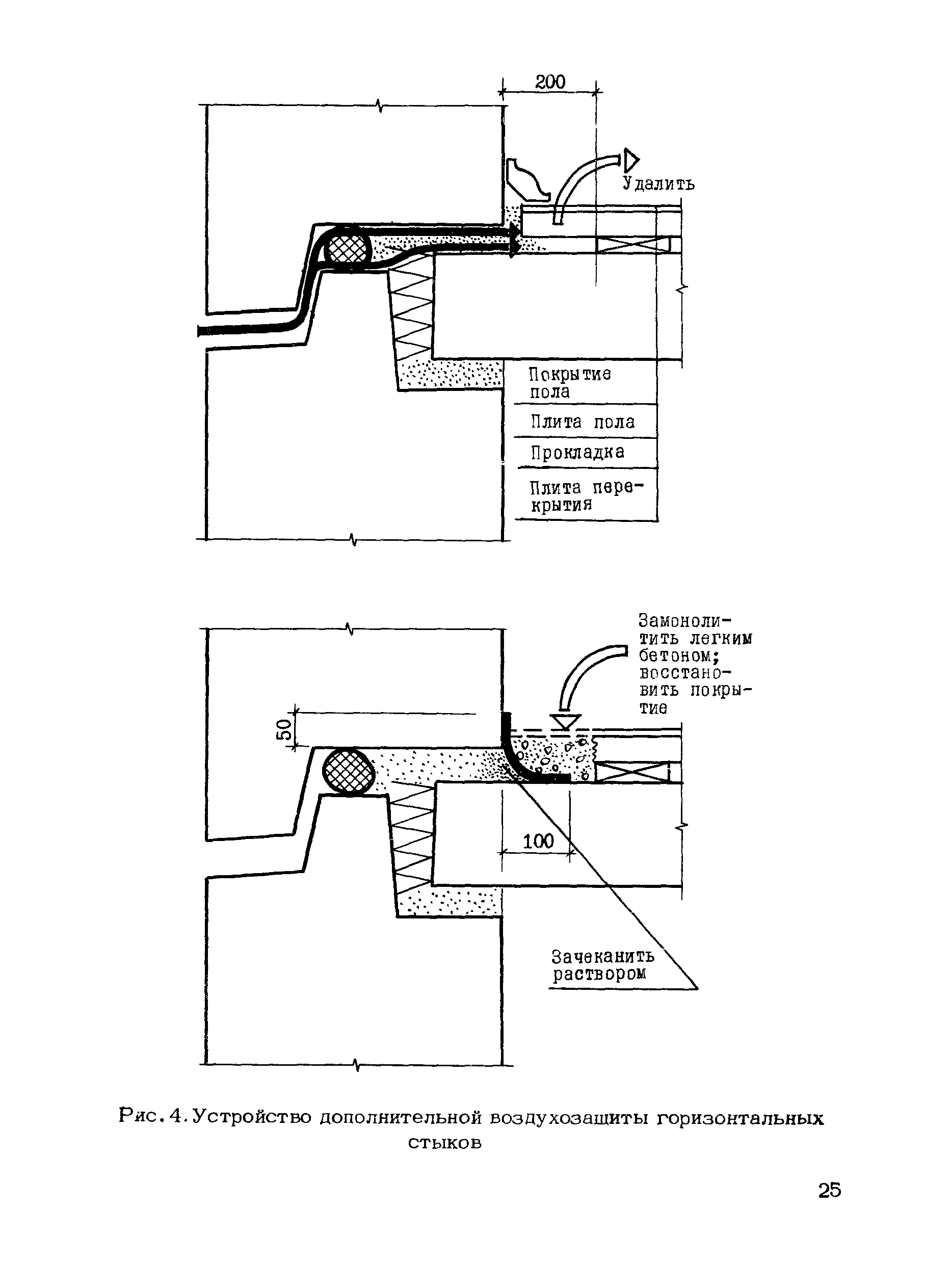
5. Технология производства работ по устранению дефектов стыков
   Подготовка ремонтируемых стыков
   Восстановление целостности элементов стыков
   Устройство дополнительной изоляции стыков
   Ремонтно-восстановительная герметизация стыков
   Ремонт мест примыкания оконных (дверных) заполнений к граням проемов
6. Контроль за производством работ
Приложение 1. Технический паспорт обследуемого жилого дома
Приложение 2. Виды дефектов и места их проявления в помещении
Приложение 3. Ведомость дефектов стыков элементов наружных стен по фасаду секции обследованного жилого дома
Приложение 4. Основные сведения о материалах и изделиях, применяемых при ремонте стыков
Приложение 5. Перечень основного оборудования и инструментов, применяемых при ремонте стыков элементов наружных стен
Разработан: ЦНИИЭП жилища
Утверждён:28.07.1986 ЦНИИЭП жилища (TsNIIEPzhilishcha 29)
Издан: ЦНИИЭПжилища (1987 г. )