Скачать Утепление фасадов. Навесная вентилируемая фасадная система Термомакс-V-1 для нового строительства и капитального ремонтаДата актуализации: 01.01.2021
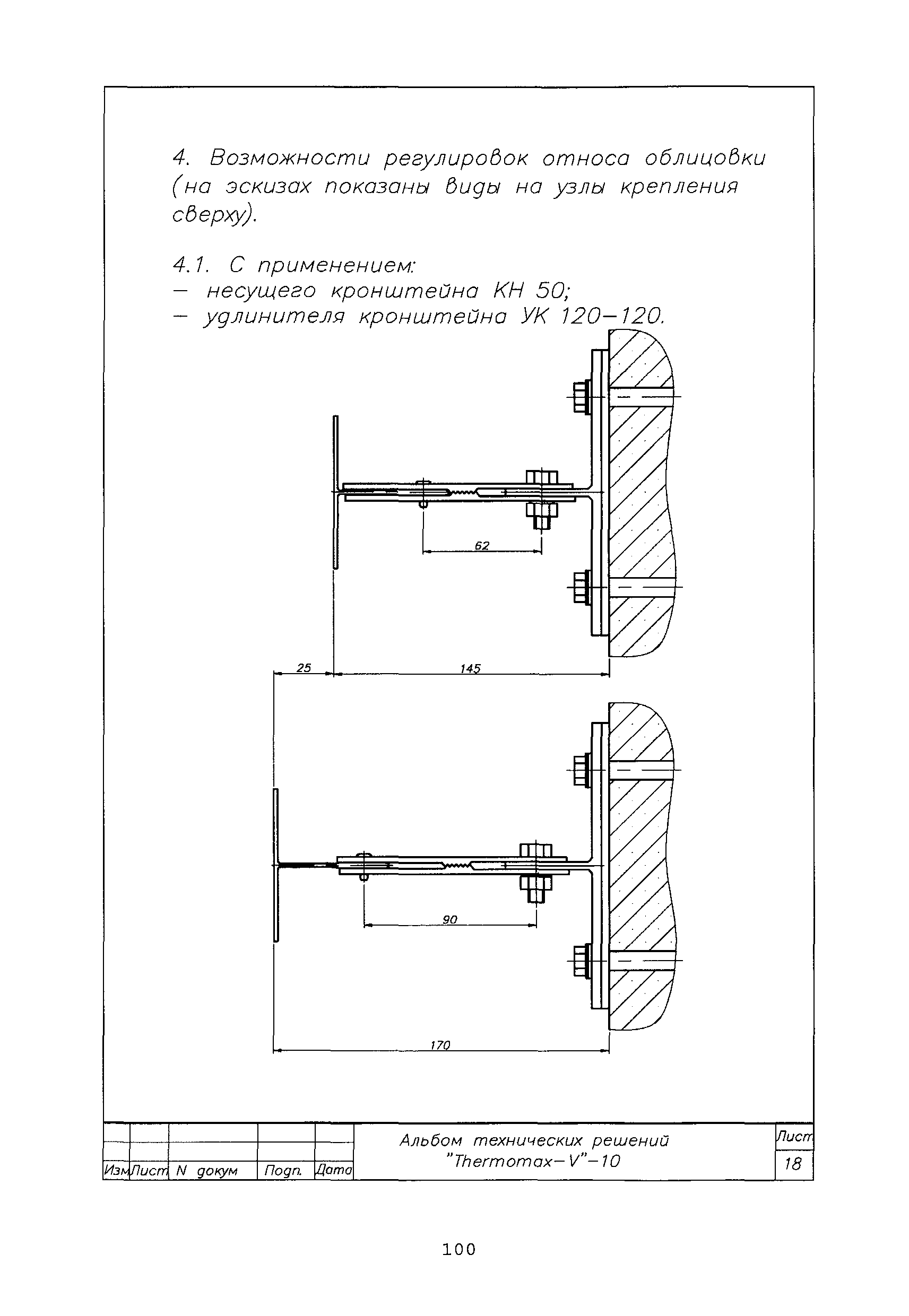
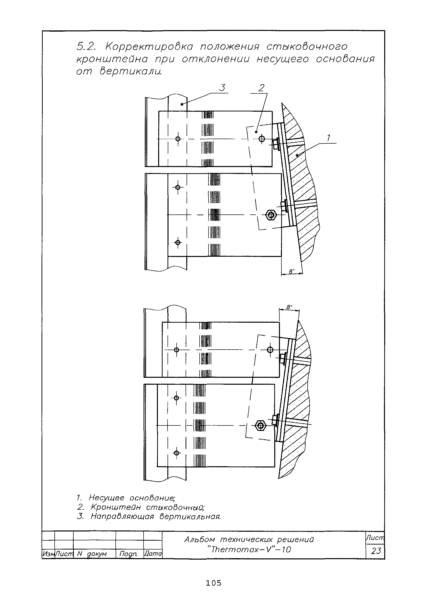
Утепление фасадов. Навесная вентилируемая фасадная система Термомакс-V-1 для нового строительства и капитального ремонта| Статус: | справочные материалы, мп, тпр | | Название рус.: | Утепление фасадов. Навесная вентилируемая фасадная система Термомакс-V-1 для нового строительства и капитального ремонта | | Дата добавления в базу: | 01.09.2013 | | Дата актуализации: | 01.01.2021 | | Область применения: | Руководство разработано для производства монтажных работ навесной фасадной системы "Thermomax-V"-10 производства ООО "Элитстрой", г. Москва. | | Оглавление: | Расход и стоимость комплектующих для навесной вентилируемой системы утепления фасадов "Thermomax-V"-10 Техническое свидетельство о пригодности новой продукции для применения в строительстве на территории Российской федерации Техническое описание навесной фасадной системы с воздушным зазором "Thermomax-V"-10 (облицовка плитами из керамогранита) Руководство по монтажу системы Общие положения Организация строительного производства Подготовка строительного основания Подсборка кронштейнов и удлинителей кронштейнов Разметка строительного основания Монтаж кронштейнов Монтаж утеплителя Монтаж направляющих Монтаж оконных обрамлений и облицовки Экспертное заключение на конструкцию каркаса навесной фасадной системы с воздушным зазором "Thermomax-V"-10 (эксперт к.т.н. ЦНИИСПСК им. Мельникова, Беляев В.Ф.) Экспертное заключение о коррозионной стойкости элементов каркаса навесной фасадной системы с воздушным зазором "Thermomax-V"-10 (заведующий лабораторией защиты от коррозии строительных металлоконструкций ЦНИИПСК им. Мельникова, Оносов Г.В.) Экспертное заключение ЦНИИСК им. В.А. Кучеренко (заведующий лабораторией противопожарных исследований, Пестрицкий А.В.) Альбом технических решений Перечень применяемых конструкций Общий вид системы Варианты исполнения несущей конструкции Возможности регулировок относа облицовки Регулировки, позволяющие компенсировать неровности несущего основания Разрезы и виды Схема крепления обрамления оконного проёма Схемы крепления плит утеплителя Контактная информация | | Разработан: | ООО Элитстрой
|
                                                                                                                               
|