Скачать Серия 3.903-9 Выпуск 1. Теплоизоляционные конструкцииДата актуализации: 01.01.2021
|
| Обозначение: | Серия 3.903-9 |
| Обозначение англ: | Series 3.903-9 |
| Статус: | заменен |
| Название рус.: | Выпуск 1. Теплоизоляционные конструкции |
| Дата добавления в базу: | 01.09.2013 |
| Дата актуализации: | 01.01.2021 |
| Дата введения: | 10.09.1979 |
| Дата окончания срока действия: | 01.07.1987 |
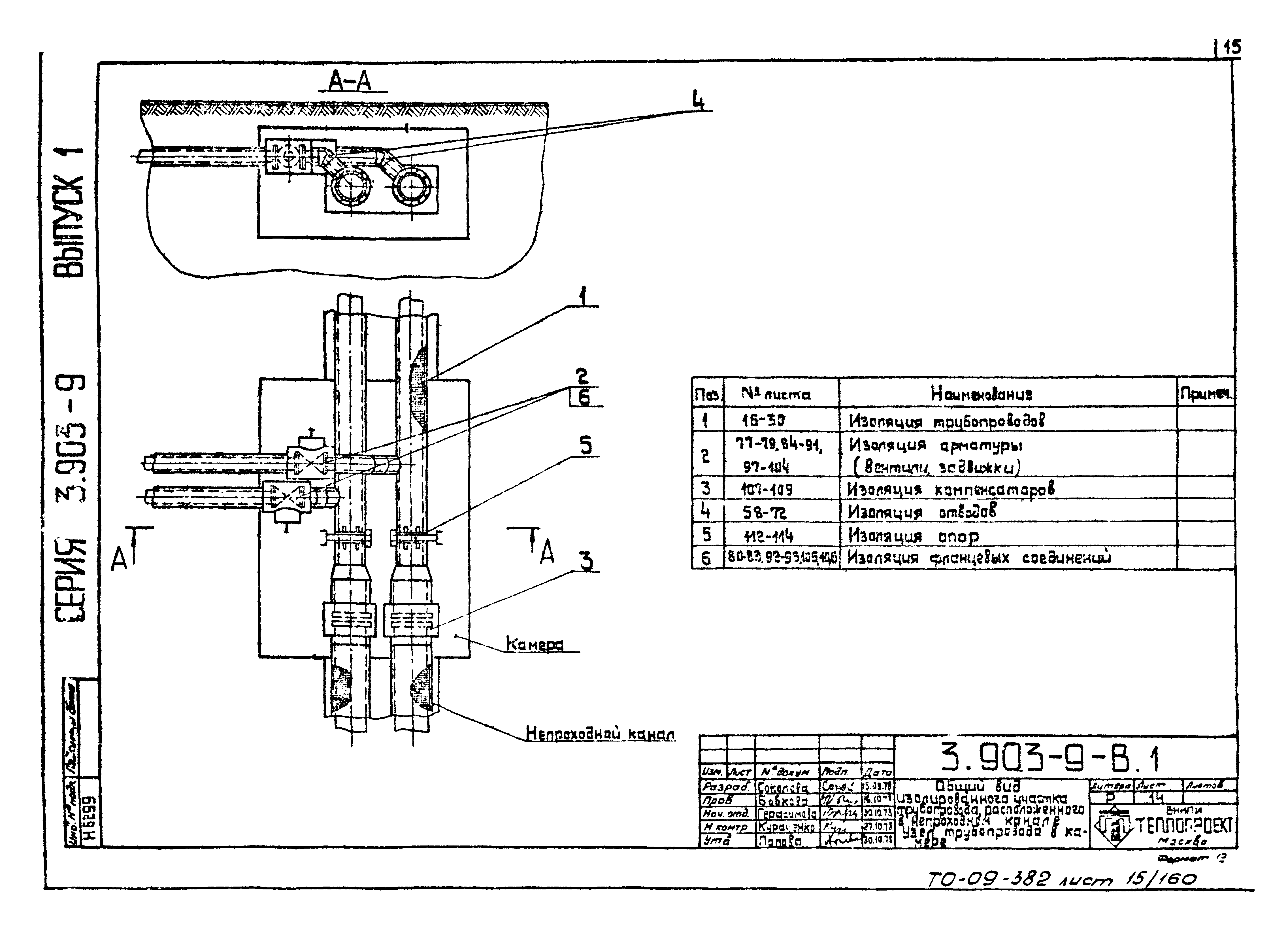
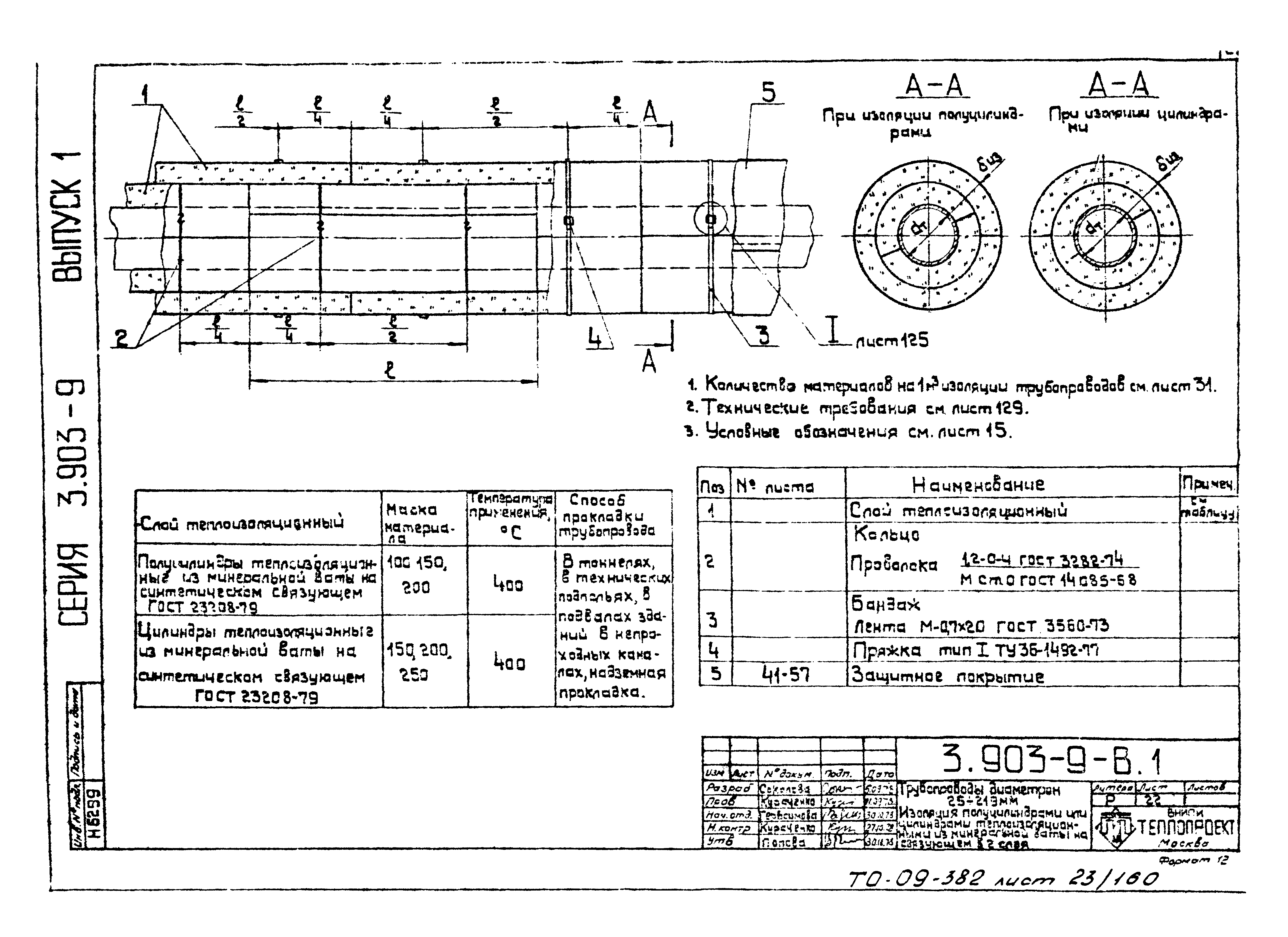
| Оглавление: | Содержание Пояснительная записка Область применения теплоизоляционных материалов конструкций и защитных покрытий Перечень теплоизоляционных материалов и конструкций Область применения и перечень защитных покрытий Общий вид изолированного участка трубопровода, расположенного при надземной прокладке в тоннелях, в технических подпольях и в подвалах зданий Общий вид изолированного участка трубопровода, расположенного в непроходном канале. Узел трубопровода в камере Условные обозначения Трубопроводы диаметром 25 - 273 мм. Изоляция полносборными теплоизоляционными конструкциями Трубопроводы диаметром 25 мм и более. Изоляция теплоизоляционными конструкциями Трубопроводы диаметром 25 мм и более. Изоляция теплоизоляционными конструкциями. Узел и сечения Трубопроводы диаметром 25 мм и более. Изоляция теплоизоляционными конструкциями. Таблица Трубопроводы диаметром 25 - 108 мм. Изоляция шнуром теплоизоляционным Трубопроводы диаметром 25 - 219 мм. Изоляция полуцилиндрами или цилиндрами теплоизоляционными из минеральной ваты на связующем в 1 слой Трубопроводы диаметром 25 - 219 мм. Изоляция полуцилиндрами или цилиндрами теплоизоляционными из минеральной ваты на связующем в 2 слоя Трубопроводы диаметром 108 - 273 мм. Изоляция плитами мягкими и матами из волокнистых материалов на связующем в 1 слой Трубопроводы диаметром 108 - 273 мм. Изоляция плитами мягкими и матами из волокнистых материалов на связующем в 2 слоя Трубопроводы диаметром 273 - 1420 мм. Изоляция плитами или матами из волокнистых материалов на связующем в 1 слой Трубопроводы диаметром 273 - 1420 мм. Изоляция плитами или матами из волокнистых материалов на связующем в 2 слоя Трубопроводы диаметром 529 - 1420 мм. Изоляция плитами полужесткими из волокнистых материалов на связующем в 1 слой Трубопроводы диаметром 529 - 1420 мм. Изоляция плитами полужесткими из волокнистых материалов на связующем в 2 слоя Трубопроводы диаметром 273 - 1420 мм. Изоляция матами минераловатными прошивными в обкладках или безобкладочными в 1 слой Трубопроводы диаметром 273 - 1420 мм. Изоляция матами минераловатными прошивными в обкладках или безобкладочными в 2 слоя Трубопроводы. Изоляция изделиями из волокнистых материалов. Количество материалов на 1 куб. м изоляции (без защитного покрытия) Трубопроводы диаметром 57 - 273 мм. Изоляция полуцилиндрами (скорлупами) теплоизоляционными из жестких материалов Полуцилиндры (скорлупы) теплоизоляционные из жестких материалов. Размеры изделий и количество материалов на 1 куб. м изоляции Трубопроводы диаметром 219 - 426 мм. Изоляция сегментами теплоизоляционными из жестких материалов (заводского изготовления) Сегменты теплоизоляционные. Размеры изделий и количество материалов на 1 куб. м изоляции Трубопроводы диаметром 529 - 1420 мм. Изоляция сегментами из жестких теплоизоляционных плит в 1 слой Трубопроводы диаметром 529 - 1420 мм. Изоляция сегментами из жестких теплоизоляционных плит в 2 слоя Сегмент из жестких теплоизоляционных плит. Размеры и количество сегментов Сегменты из жестких теплоизоляционных плит. Размеры изделий и количество материалов на 1 куб. м изоляции Трубопроводы диаметром 45 - 1020 мм. Изоляция теплоизоляционными изделиями из пенопласта марки ФРП-1 Трубопроводы dиз 100 мм и более. Защитное покрытие из металла. Крепление бандажами Трубопроводы dиз 50 мм и более. Защитное покрытие из металла. Крепление винтами Трубопроводы dиз 50 мм и более. Защитное покрытие из металла. Крепление язычковое Трубопроводы dиз 350 мм и более. Защитное покрытие из металла. Крепление винтами Трубопроводы dиз 50 - 200 мм расположенные в непроходных каналах. Защитное покрытие рулонным стеклопластиком Трубопроводы dиз более 200 мм расположенные в непроходных каналах. Защитное покрытие рулонным стеклопластиком Трубопроводы dиз 50 - 200 мм. Защитное покрытие рулонным стеклопластиком Трубопроводы dиз более 200 мм. Защитное покрытие рулонным стеклопластиком Трубопроводы dиз 100 - 300 мм. Защитное покрытие стеклоцементом текстолитовым. Крепление бандажами Трубопроводы dиз 50 мм и более. Защитное покрытие элементами из упругих материалов. Крепление винтами Трубопроводы dиз 50 мм и более. Защитное покрытие элементами из упругих материалов. Крепление винтами по кляммерам Трубопроводы dиз 50 мм и более расположенных в непроходных каналах. Защитное покрытие элементами из упругих материалов Трубопроводы dиз 50 мм и более. Элемент покрытия из упругих материалов с обрамлением Трубопроводы dиз 50 мм и более. Защитное покрытие из фольгоизола, фольги алюминиевой дублированной, фольгорубероида Трубопроводы dиз 50 мм и более. Защитное покрытие - штукатурка Трубопроводы dиз 130 - 750 мм. Защитное покрытие из асбестоцементных полуцилиндров с раструбом Трубопроводы dиз 50 мм и более. Защитные покрытия. Количество материалов на 10 кв. м изолированного трубопровода Отводы крутоизогнутые и гнутые. Защитное покрытие из металлических листов Отводы крутоизогнутые и гнутые. Раскрой секций элементов металлического покрытия Отводы трубопроводов. Изоляция волокнистыми изделиями с защитным покрытием из штукатурки Отводы крутоизогнутые и гнутые. Защитное покрытие из стеклопластика рулонного РСТ Отводы крутоизогнутые и гнутые Ф 57 - 426 мм. Защитное покрытие гофрированное Отводы гнутые и крутоизогнутые Ф 57 - 426 мм. Защитное покрытие гофрированное. Таблица размеров, масс и количество материалов Отводы крутоизогнутые диаметром 57 - 529 мм. Размеры образующих секций защитного покрытия Отводы гнутые диаметром 57 - 426 мм. Размеры образующих секций защитного покрытия Тройники. Изоляция волокнистыми изделиями с защитным покрытием из металлических листов Тройники. Изоляция волокнистыми изделиями с защитным покрытием из штукатурки Тройники. Развертка металлических защитных покрытий Тройники. Описание построения разверток металлического защитного покрытия Арматура муфтовая. Изоляция теплоизоляционными материалами с металлическим защитным покрытием Арматура муфтовая. Изоляция теплоизоляционными материалами с защитным покрытием рулонными материалами Арматура муфтовая. Количество материалов и объемы работ на изоляцию единицы арматуры Фланцевые соединения Dy до 40 мм. Изоляция теплоизоляционными материалами под металлическим защитным покрытием. Общий вид Фланцевые соединения Dy до 40 мм. Изоляция теплоизоляционными материалами с защитным покрытием рулонными материалами Фланцевые соединения Dy до 40 мм. Полукожух и детали Фланцевые соединения Dy до 40 мм. Количество материалов и объемы работ для изоляции одного фланцевого соединения Арматура фланцевая Dy до 500 мм. Изоляция полуфутлярами Арматура фланцевая Dy до 500 мм. Полуфутляр левый Арматура фланцевая Dy до 500 мм. Узлы и детали Арматура фланцевая Dy до 500 мм. Детали Арматура фланцевая Dy до 500 мм. Полуфутляр правый Арматура фланцевая Dy до 500 мм. Изоляция полуфутлярами. Количество материалов и объемы работ на изоляцию единицы арматуры Фланцевые соединения Dy до 500 мм. Изоляция полуфутлярами Фланцевые соединения Dy до 500 мм. Полуфутляр правый Фланцевые соединения Dy до 500 мм. Полуфутляр левый Фланцевые соединения Dy до 500 мм. Изоляция полуфутлярами. Количество материалов и объемы работ на изоляцию одного фланцевого соединения Арматура фланцевая Dy 200 - 500 мм. Изоляция полуфутлярами Арматура фланцевая Dy 200 - 500 мм. Полуфутляр правый Арматура фланцевая Dy 200 - 500 мм. Полуфутляр левый Арматура фланцевая Dy 200 - 500 мм. Полуфутляр. Детали Арматура фланцевая с обводом Dy более 500 мм. Изоляция материалами под металлическим кожухом Арматура фланцевая с обводом Dy более 500 мм. Полукожух левый Арматура фланцевая с обводом Dy более 500 мм. Полукожух правый Арматура фланцевая Dy более 500 мм. Изоляция матрацами. Количество материалов и объемы работ на изоляцию единицы арматуры Фланцевые соединения Dy более 500 мм. Изоляция матрацами под металлическим кожухом Фланцевые соединения Dy более 500 мм. Изоляция матрацами. Количество материалов и объемы работ на изоляцию единицы арматуры П-образные компенсаторы. Схема изоляции Компенсаторы сальниковые Dy 100 - 1000 мм. Изоляция полуфутлярами Компенсаторы сальниковые Dy 100 - 1000 мм. Количество материалов и объемы работ на изоляцию одного салькового компенсатора Матрац минераловатный в обкладках Матрац минераловатный в обкладках. Узлы и детали Изоляция горизонтальных трубопроводов в местах установки опор Изоляция горизонтальных трубопроводов в местах установки опор. Узлы и детали Изоляция неподвижных лобовых опор Трубопроводы диаметром до 630 мм. Опорное кольцо тип I Опорное кольцо тип I. Таблица размеров и масс Трубопроводы диаметром 720 мм и более. Опорные кольца тип II и III Опорные кольца тип II и III. Таблица размеров и масс Трубопроводы диаметром dиз 350 мм и более. Установка скобы опорной (ограничитель толщины) Отделка торцов изоляции при защитном покрытии из различных материалов Отделка торцов изоляции при защитном покрытии из различных материалов. Узлы и разрезы Узлы крепления бандажа Арматура фланцевая. Замок Арматура фланцевая. Замок. Сечения и детали Трубопроводы диаметром до 1420 мм. Стыки сварные. Изоляция матрацами минераловатными в обкладке Технические требования Трубопроводы диаметром 32 - 1420 мм. Объем и поверхности тепловой изоляции на 1 п. м. трубопровода Отводы крутоизогнутые Ф 57 - 523 мм. Объем и поверхность тепловой изоляции на 10 единиц Отводы гнутые Ф 57 - 426 мм. Объем и поверхность тепловой изоляции на 10 единиц Отводы сварные dт 630 - 1220 мм. Объем и поверхность тепловой изоляции на 10 единиц Трубопроводы dиз 50 мм и более. Защитное покрытие из рубероида |
| Разработан: | ВНИПИТеплопроект |
| Утверждён: | 10.09.1979 ВНИПИ Теплопроект (Teploproject VNIPI 176) |
| Чем заменён: |































































































































































