Скачать Руководство по проектированию новых городов

Дата актуализации: 01.01.2021

Руководство по проектированию новых городов

Статус:справочные материалы, мп, тпр
Название рус.:Руководство по проектированию новых городов
Дата добавления в базу:01.10.2014
Дата актуализации:01.01.2021
Область применения:В документе изложены основы организации проектирования новых городов, раскрываются функции проектирования в системе управления градостроительным процессом, состав и задачи проектных работ по этапам развития нового города и организационные формы проектирования для новых городов разных типов. Для проектировщиков и научных работников, занимающихся проблемами новых и интенсивно развивающихся городов.
Оглавление:Введение
1. Общие положения
2. Функции проектирования
   2.1. Выбор территории
   2.2. Составление задания на проектирование
   2.3. Обследования
   2.4. Состав и стадия градостроительных проектных решений
   2.5. Согласование проектной документации
   2.6. Контроль за реализацией проектов
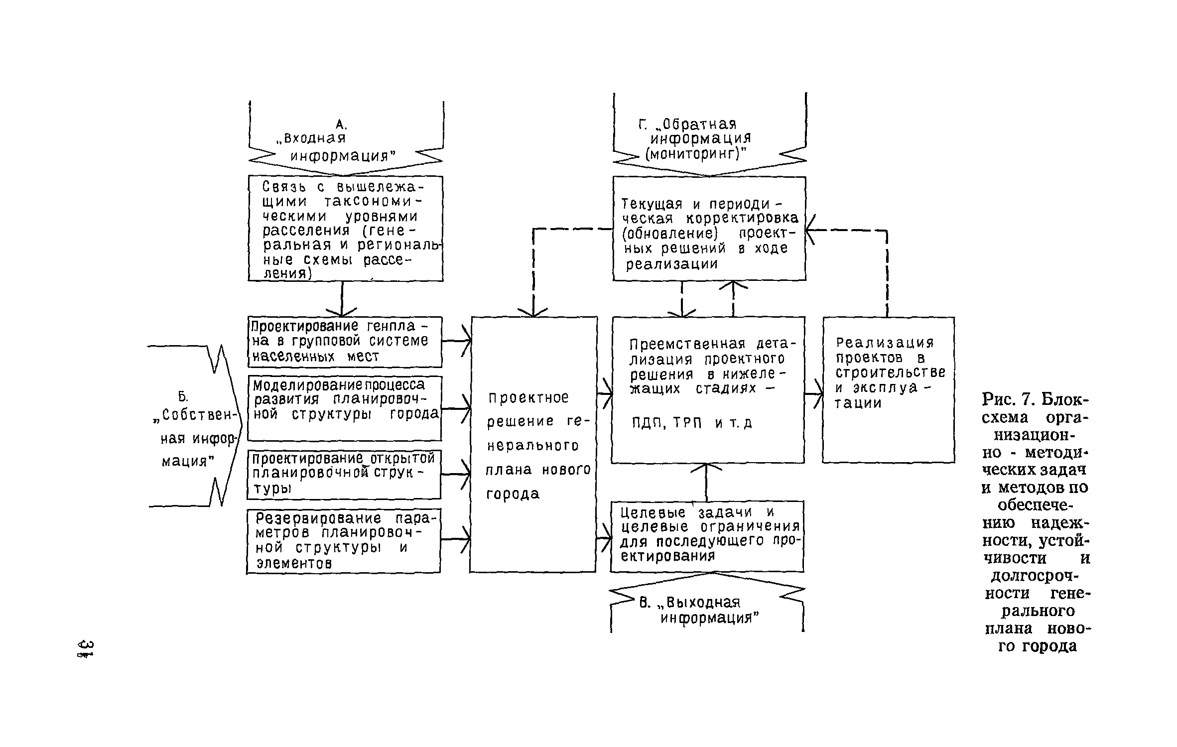
3. Задачи проектирования в обеспечении надежности и устойчивости генерального плана нового города
   3.1. Общая схема задач (состав и соподчиненность)
   3.2. Связь с вышележащими проектно-градостроительными уровнями - Генеральной и региональными схемами расселения, а также ТПК
   3.3. Проектирование нового города в групповой системе населенных мест
   3.4. Градостроительные резервы
   3.5. Градостроительный прогноз и моделирование развития структуры города
   3.6. Целевые задачи и ограничения для последующего проектирования, преемственность проектных решений
   3.7. Текущая и периодическая корректировка (обновление) проектов
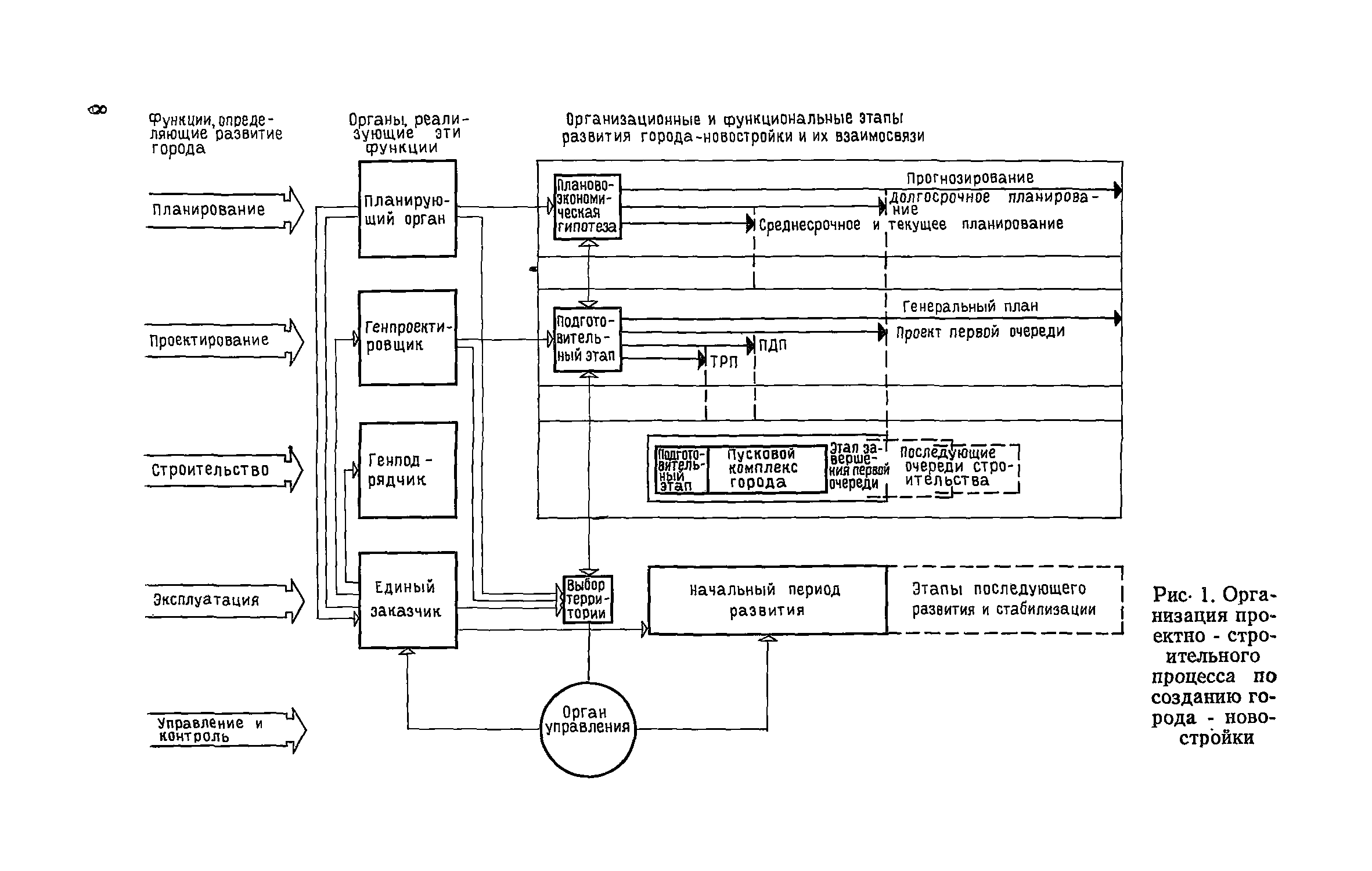
4. Задачи проектных работ в начальный период развития нового города
   4.1. Основные этапы становления нового города
   4.2. Подготовительный этап
   4.3. Пусковой этап и первая очередь строительства
   4.4. Последующие этапы
5. Организация проектирования
   5.1. Координация участников
   5.2. Авторский коллектив и служба главного инженера проекта города
   5.3. Работа на площадке строительства
Список литературы
Разработан: ЦНИИП градостроительства
Утверждён: ЦНИИП градостроительства Госгражданстроя
Издан: Стройиздат (1982 г. )
Нормативные ссылки: