Скачать Предварительно-напряженные конструкции зданий и инженерных сооружений

Дата актуализации: 01.01.2021

Предварительно-напряженные конструкции зданий и инженерных сооружений

Статус:справочные материалы, мп, тпр
Название рус.:Предварительно-напряженные конструкции зданий и инженерных сооружений
Дата добавления в базу:01.10.2014
Дата актуализации:01.01.2021
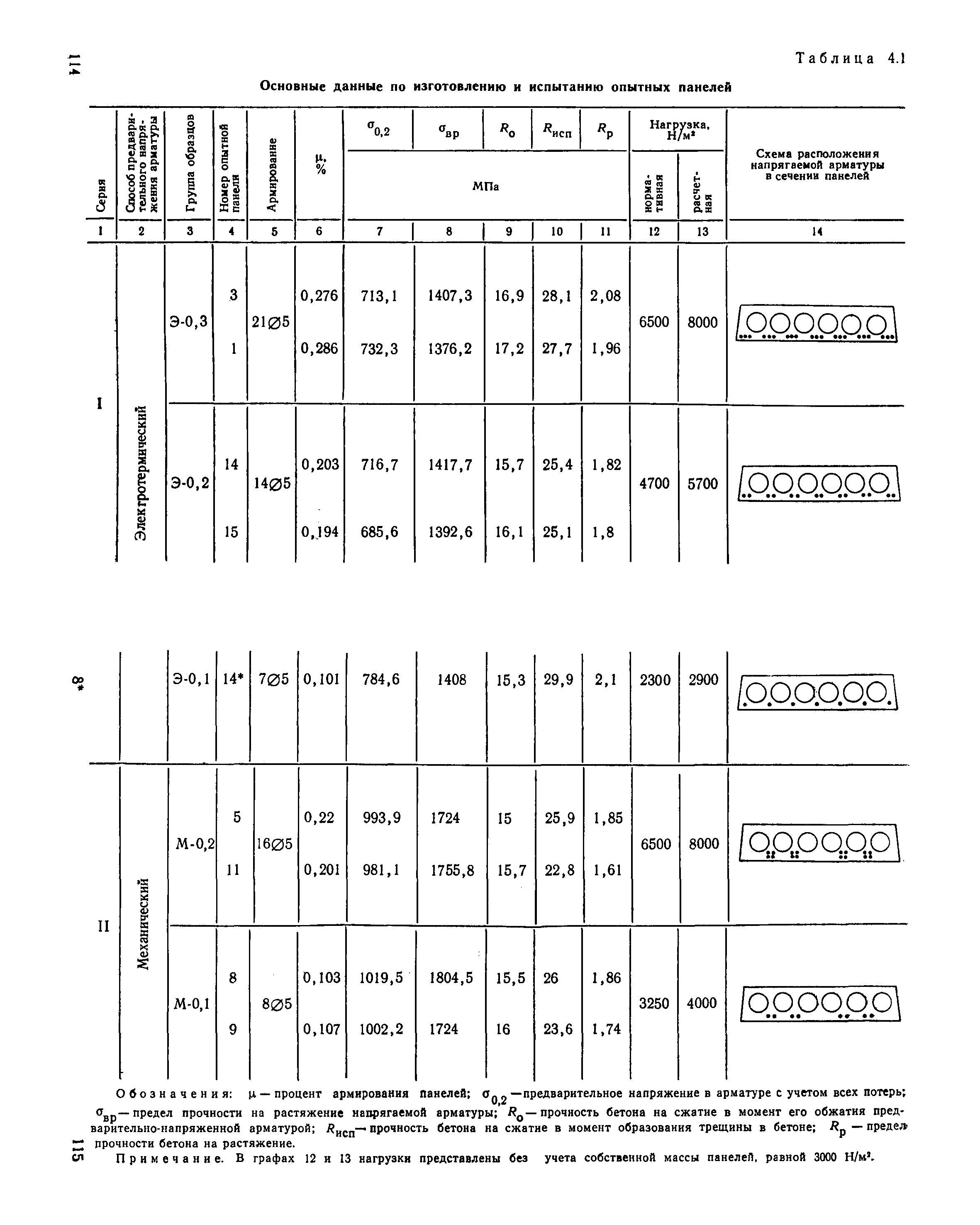
Область применения:В документе рассмотрена совместная работа предварительно-напряженных плит и стропильных конструкций покрытий одноэтажных промышленных зданий, податливость узлов сопряжений сборных конструкций каркасов таких зданий. Приведены данные исследования прочности предварительно-напряженных стропильных ферм и их напряженного состояния в доэксплуатационной стадии, а также прочности и трещиностойкости предварительно-напряженных колонн одной многоэтажных промышленных зданий. Изложены результаты исследований предварительно-напряженных многопустотных панелей перекрытий, сборных конструкций силосов для зерна и предварительно-напряженных свай. Книга предназначена для инженерно-технических работников научно-исследовательских и проектных организаций.
Оглавление:Предисловие
Раздел I. Исследования предварительно-напряженных конструкций производственных зданий
Глава 1. Исследования совместной работы предварительно-напряженных несущих конструкций покрытий производственных зданий
   § 1. Учет работы плит покрытия при расчете прочности стропильных балок
   § 2. Исследование плит покрытия с учетом их совместной работы со стропильными конструкциями
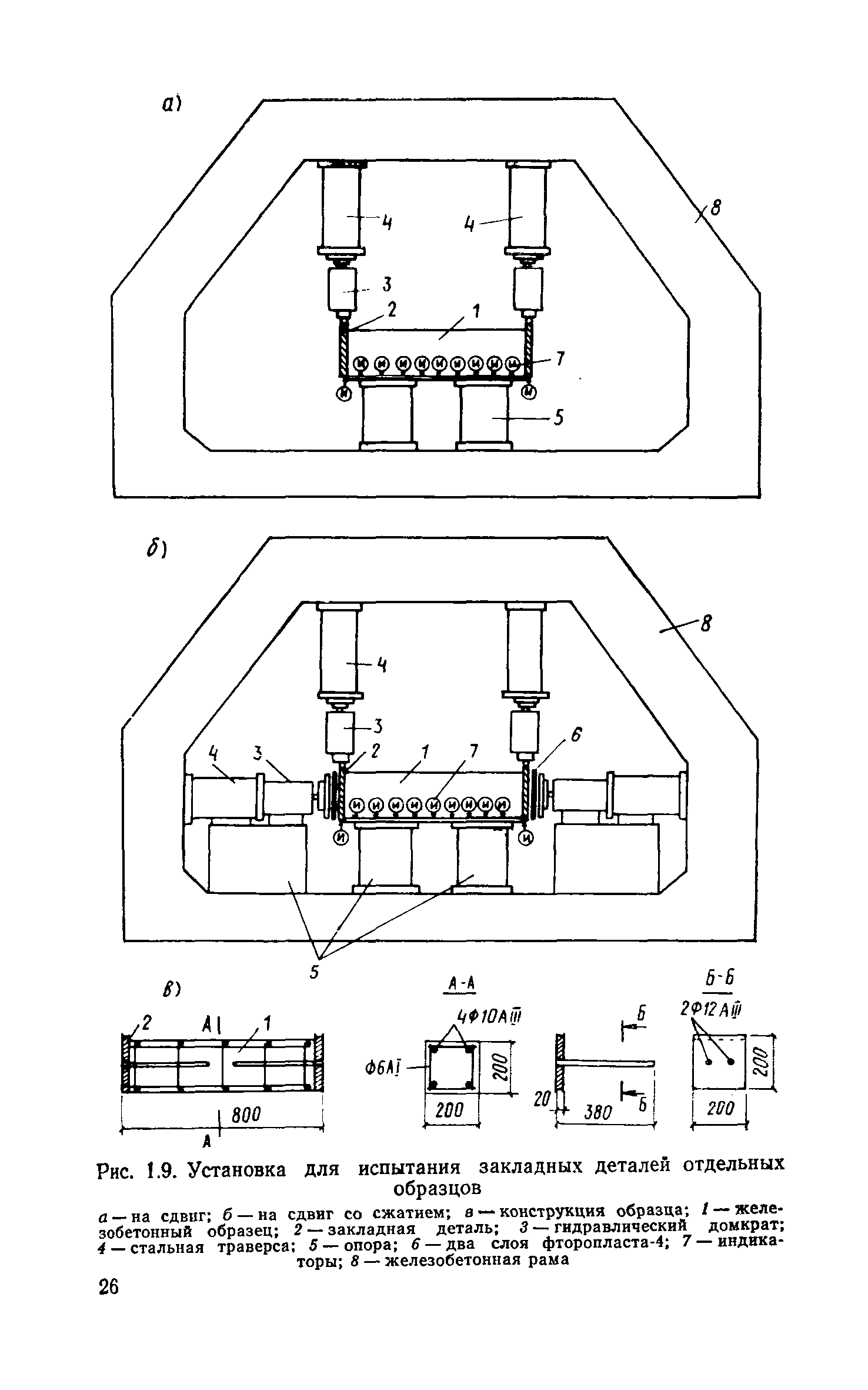
   § 3. Исследование закладных деталей узлов сопряжений сборных конструкций каркасов одноэтажных производственных зданий
Список литературы
Глава 2. Исследования предварительно-напряженных стропильных ферм
   § 1. Учет изменчивости свойств материалов и геометрии сечений при расчете статически неопределимых ферм
   § 2. Исследование плит покрытия с учетом их совместной работы со стропильными конструкциями
   § 3. Исследование напряженного состояния предварительно-напряженных ферм в доэксплуатационной стадии
   § 4. Исследование потерь напряжения в предварительно напряжённых элементах с прядевой арматурой из бетона марки 800 (применительно к конструкциям стропильных ферм)
   § 5. Практический метод определения потерь напряжений в арматуре, возникающих при тепловой обработке предварительно-напряженных изделий стендового изготовления
   Список литературы
Глава 2. Исследования колонн производственных зданий .
   § 1. Предварительно-напряженные колонны с малыми эксцентриситетами нагруженная для одноэтажных зданий
   § 2. Исследование работы железобетонных колонн многоэтажных зданий
   Список литературы
Раздел II. Исследования предварительно-напряженных конструкций жилых и общественных зданий
Глава 4. Исследование предварительно-напряженных панелей перекрытий
   § 1. Условия закрытия нормальных трещин в многопустотных панелях с проволочной арматурой
   § 2. Трещиностойкость многопустотных панелей перекрытий при воздействии монтажных нагрузок
   Список литературы
Глава 5. Исследование предварительно-напряженных сталежелезобетонных изгибаемых элементов для перекрытий общественных зданий
   Список литературы
Раздел III. Исследования конструкций инженерных сооружений
Глава 6. Исследования сборных конструкций зерновых силосов
   § 1. Исследование стеновых керамзитобетонных элементов квадратных силосов с учетом их действительной работы в сооружении
Глава 7. Исследование напряженного состояния конструкций с внутренними анкерами различной жесткости при отпуске арматуры
Глава 8. Исследование предварительно-напряженных свай без поперечного армирования на внецентренное сжатие
Список литературы
Разработан: НИИЖБ Госстроя СССР
Утверждён: НИИЖБ Госстроя СССР (NIIZhB, USSR Gosstroy )
Издан: Стройиздат (1977 г. )
Нормативные ссылки: