Скачать Типовой проект 409-29-61 Альбом VI. Выпуск 7. Нестандартизированное оборудованиеДата актуализации: 01.01.2021
|
| Обозначение: | Типовой проект 409-29-61 |
| Обозначение англ: | 409-29-61 |
| Статус: | действует |
| Название рус.: | Альбом VI. Выпуск 7. Нестандартизированное оборудование |
| Дата добавления в базу: | 01.10.2014 |
| Дата актуализации: | 01.01.2021 |
| Дата введения: | 30.11.1979 |
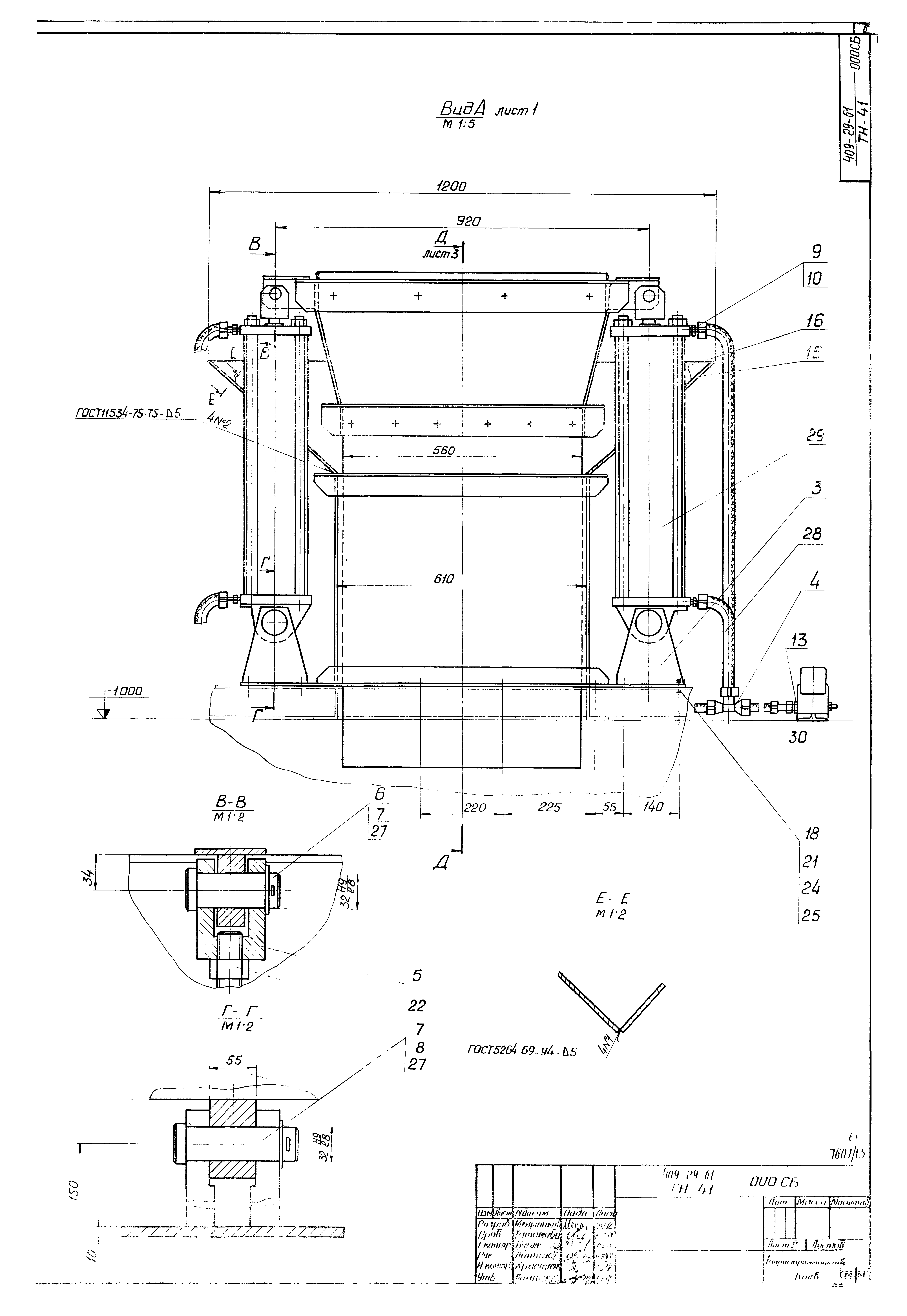
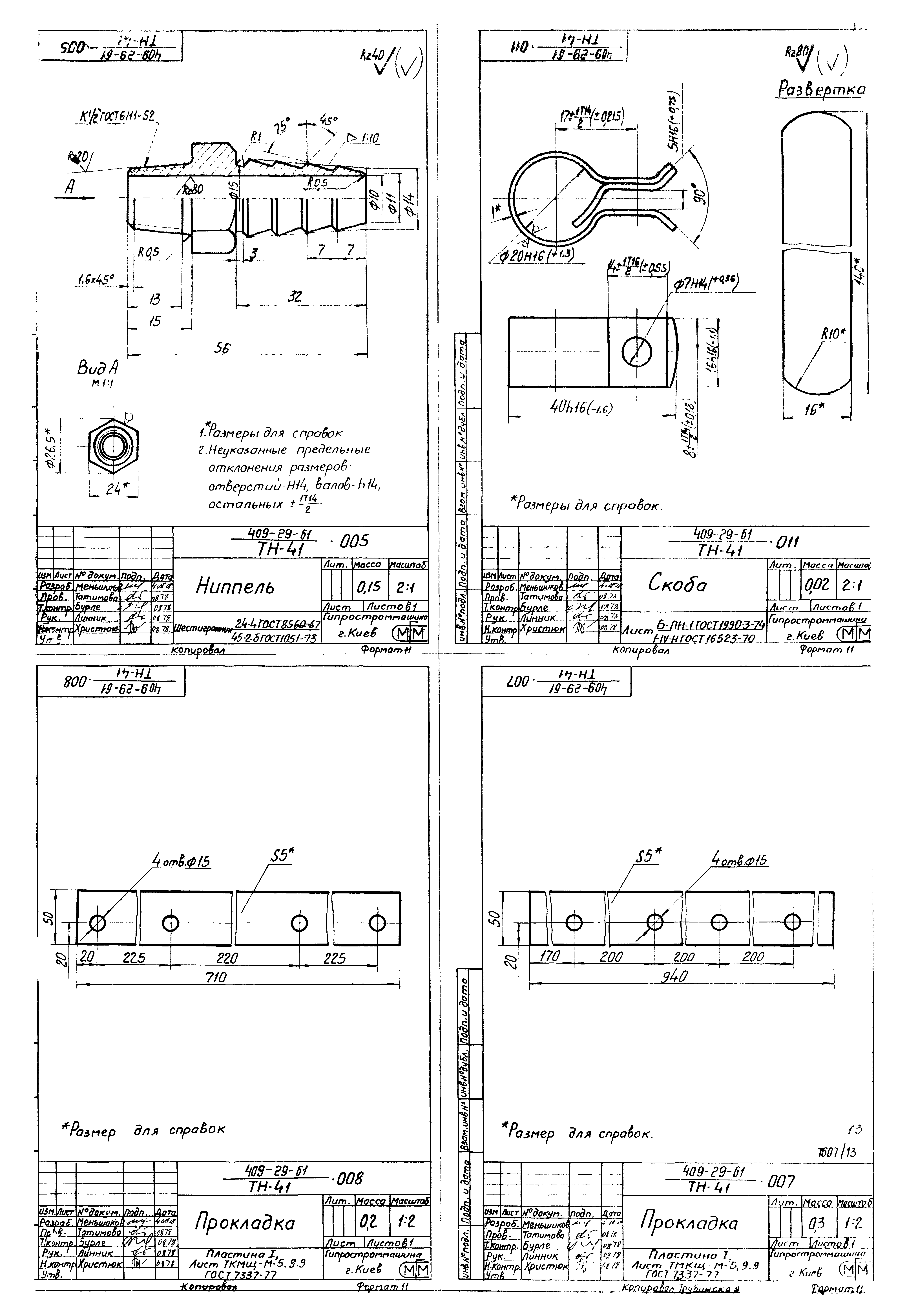
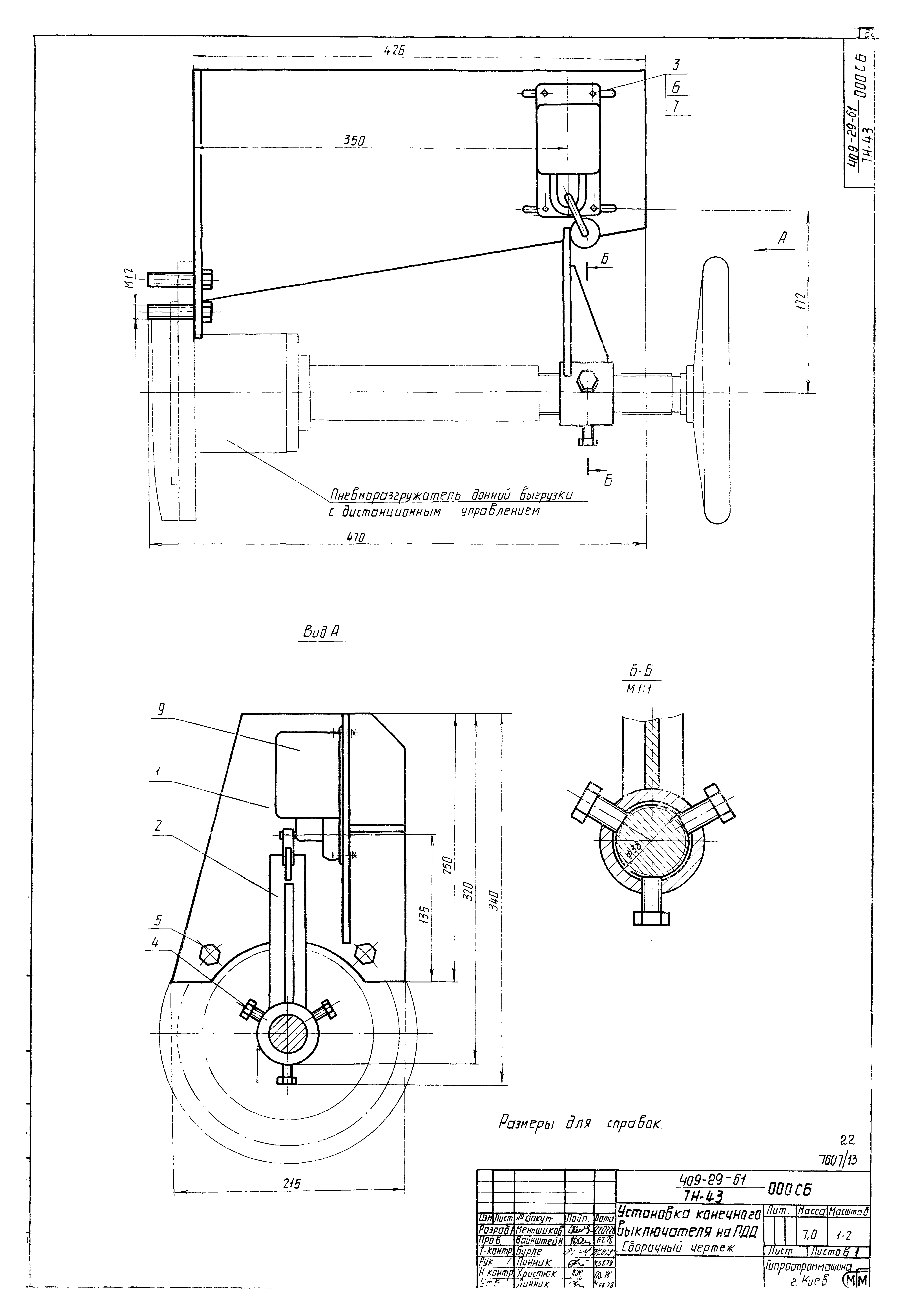
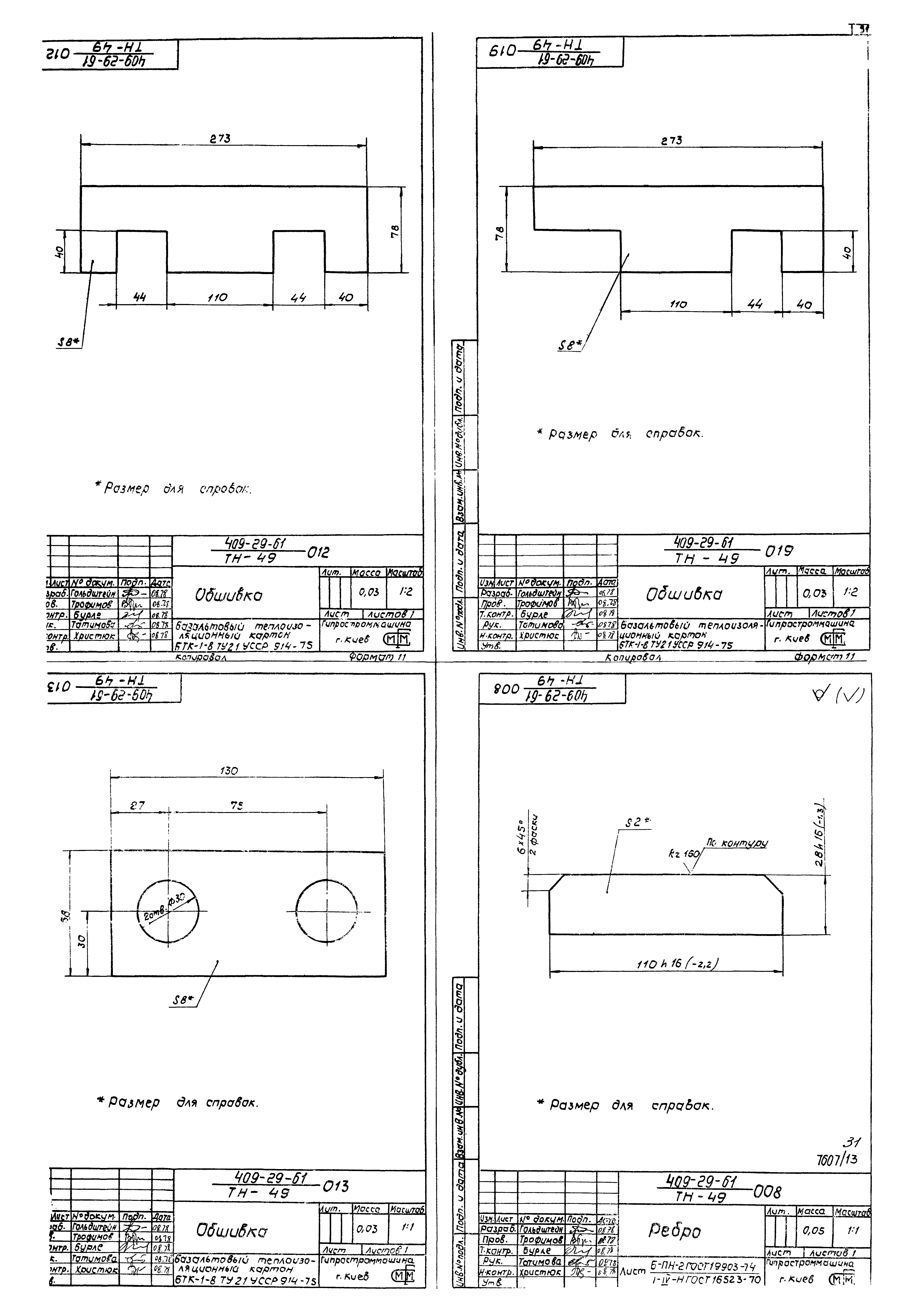
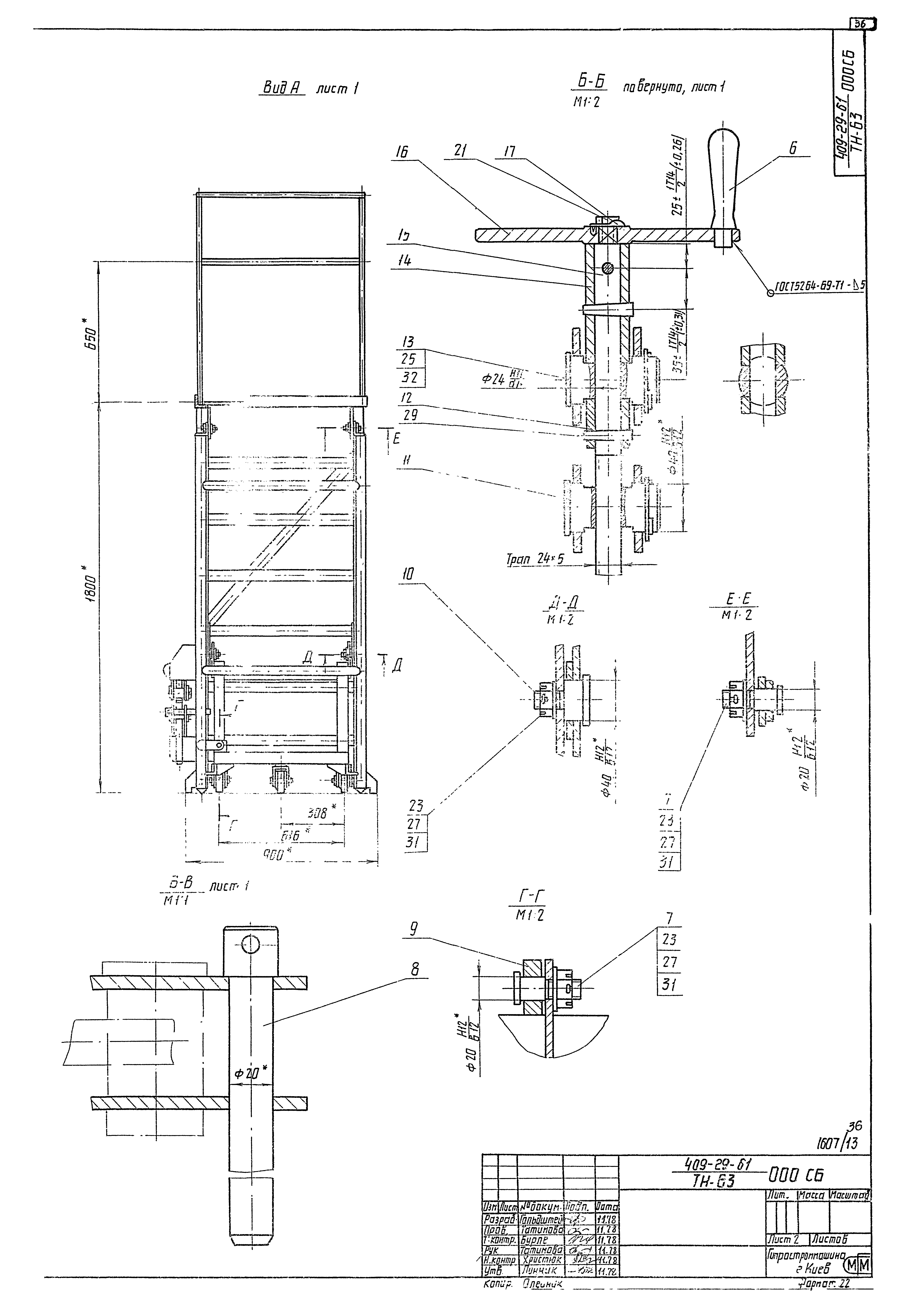
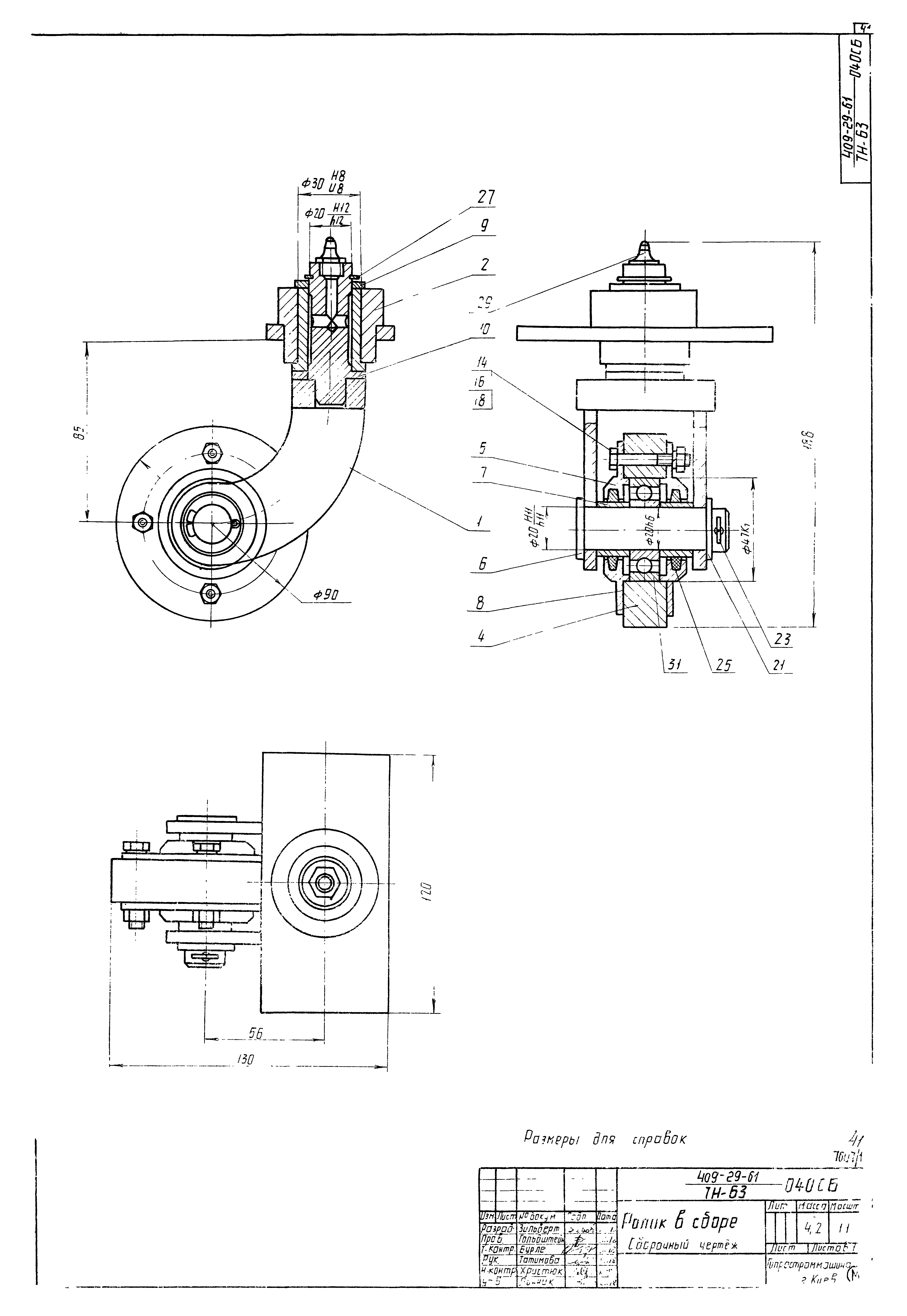
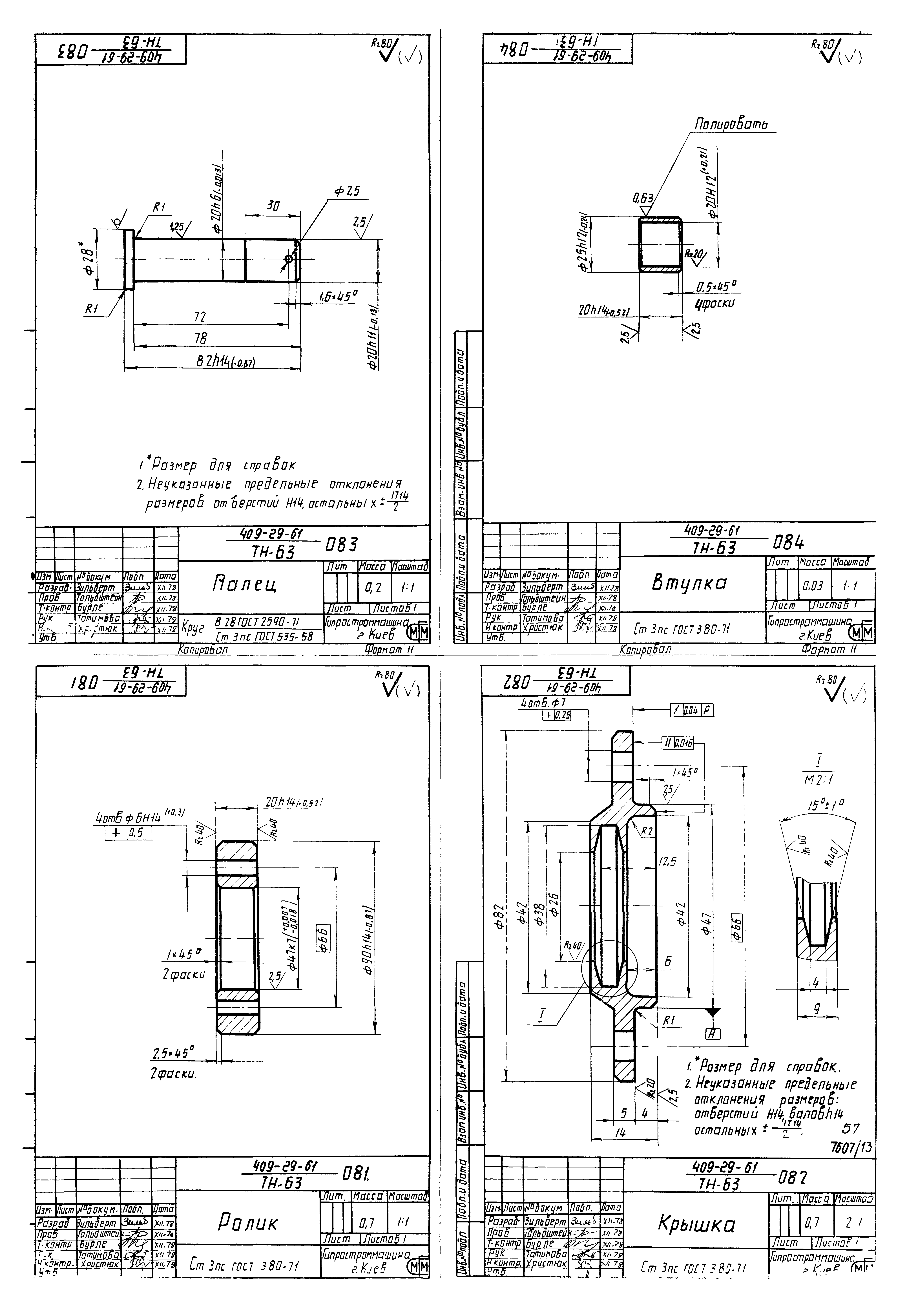
| Оглавление: | 409-29-61/ТН-41 000СБ Рукав приемный 409-29-61/ТН-41 010СБ Течка 409-29-61/ТН-41 020СБ Воронка 409-29-61/ТН-41 030СБ Корпус 409-29-61/ТН-41 050СБ Тройник 409-29-61/ТН-41 040СБ Кронштейн 409-29-61/ТН-41 001 Вилка 409-29-61/ТН-41 003 Шайба 409-29-61/ТН-41 002 Палец 409-29-61/ТН-41 004 Палец 409-29-61/ТН-41 006 Прокладка 409-29-61/ТН-41 009 Ниппель 409-29-61/ТН-41 005 Ниппель 409-29-61/ТН-41 007 Прокладка 409-29-61/ТН-41 008 Прокладка 409-29-61/ТН-41 011 Скоба 409-29-61/ТН-41 012 Стенка 409-29-61/ТН-41 013 Стенка 409-29-61/ТН-41 018 Уплотнение 409-29-61/ТН-41 019 Уплотнение 409-29-61/ТН-41 017 Рукав 409-29-61/ТН-41 026 Стенка 409-29-61/ТН-41 027 Стенка 409-29-61/ТН-41 021 Планка 409-29-61/ТН-41 022 Планка 409-29-61/ТН-41 023 Планка 409-29-61/ТН-41 024 Планка 409-29-61/ТН-41 028 Угольник 409-29-61/ТН-41 029 Окантовка 409-29-61/ТН-41 031 Угольник 409-29-61/ТН-41 032 Окантовка 409-29-61/ТН-41 033 Проушина 409-29-61/ТН-41 038 Окантовка 409-29-61/ТН-41 044 Ребро 409-29-61/ТН-41 047 Ниппель 409-29-61/ТН-41 048 Ниппель 409-29-61/ТН-41 000 Рукав приемный 409-29-61/ТН-41 010 Течка 409-29-61/ТН-41 020 Воронка 409-29-61/ТН-41 030 Корпус 409-29-61/ТН-41 040 Кронштейн 409-29-61/ТН-41 050 Тройник 409-29-61/ТН-41 000ВП Рукав приемный 409-29-61/ТН-41 000ВС Рукав приемный 409-29-61/ТН-43 000СБ Установка конечного выключателя на ПДД 409-29-61/ТН-43 010СБ Кронштейн 409-29-61/ТН-43 020СБ Упор 409-29-61/ТН-43 001 Стенка 409-29-61/ТН-43 002 Стойка 409-29-61/ТН-43 003 Ребро 409-29-61/ТН-43 004 Стойка 409-29-61/ТН-43 005 Ребро 409-29-61/ТН-43 006 Втулка 409-29-61/ТН-43 000 Установка конечного выключателя на ПДД 409-29-61/ТН-43 010 Кронштейн 409-29-61/ТН-43 020 Упор 409-29-61/ТН-43 000ВП Установка конечного выключателя на ПДД 409-29-61/ТН-43 000ВС Установка конечного выключателя на ПДД 409-29-61/ТН-49 000СБ Обогреватель воздухораспределителя 409-29-61/ТН-49 010СБ Бак 409-29-61/ТН-49 020СБ Крышка 409-29-61/ТН-49 020 Крышка 409-29-61/ТН-49 000ВЗ Обогреватель воздухораспределителя 409-29-61/ТН-49 001 Плита 409-29-61/ТН-49 005 Корпус 409-29-61/ТН-49 006 Крышка 409-29-61/ТН-49 007 Плита 409-29-61/ТН-49 008 Ребро 409-29-61/ТН-49 012 Обшивка 409-29-61/ТН-49 013 Обшивка 409-29-61/ТН-49 019 Обшивка 409-29-61/ТН-49 011 Стенка 409-29-61/ТН-49 018 Обшивка 409-29-61/ТН-49 025 Пластина 409-29-61/ТН-49 000 Обогреватель воздухораспределителя 409-29-61/ТН-49 000ВП Обогреватель воздухораспределителя 409-29-61/ТН-49 000ВС Обогреватель воздухораспределителя 409-29-61/ТН-63 000СБ Площадка передвижная 409-29-61/ТН-63 010СБ Лестница 409-29-61/ТН-63 020СБ Стойка 409-29-61/ТН-63 069 Подкос левый 409-29-61/ТН-63 071 Подкос правый 409-29-61/ТН-63 030СБ Тележка 409-29-61/ТН-63 040СБ Ролик в сборе 409-29-61/ТН-63 050СБ Вилка 409-29-61/ТН-63 060СБ Подшипник 409-29-61/ТН-63 070СБ Корпус 409-29-61/ТН-63 098 Плита 409-29-61/ТН-63 099 Втулка 409-29-61/ТН-63 080СБ Ролик в сборе 409-29-61/ТН-63 090СБ Вилка 409-29-61/ТН-63 001 Рукоятка 409-29-61/ТН-63 002 Палец 409-29-61/ТН-63 003 Шкворень 409-29-61/ТН-63 004 Флажок 409-29-61/ТН-63 005 Палец 409-29-61/ТН-63 006 Ось 409-29-61/ТН-63 007 Втулка 409-29-61/ТН-63 009 Втулка 409-29-61/ТН-63 008 Ось 409-29-61/ТН-63 011 Винт 409-29-61/ТН-63 012 Маховик 409-29-61/ТН-63 013 Шайба 409-29-61/ТН-63 017 Стойка 409-29-61/ТН-63 018 Боковина 409-29-61/ТН-63 019 Боковина 409-29-61/ТН-63 022 Щека 409-29-61/ТН-63 021 Поручень 409-29-61/ТН-63 023 Ребро 409-29-61/ТН-63 033 Опора 409-29-61/ТН-63 024 Наба 409-29-61/ТН-63 025 Проушина 409-29-61/ТН-63 027 Ребро 409-29-61/ТН-63 032 Поперечина 409-29-61/ТН-63 026 Ребро 409-29-61/ТН-63 028 Проушина 409-29-61/ТН-63 029 Связь 409-29-61/ТН-63 034 Связь 409-29-61/ТН-63 031 Подкос 409-29-61/ТН-63 042 Подкос 409-29-61/ТН-63 045 Заглушка 409-29-61/ТН-63 046 Втулка 409-29-61/ТН-63 047 Связь 409-29-61/ТН-63 048 Угольник 409-29-61/ТН-63 055 Ребро 409-29-61/ТН-63 056 Пластина 409-29-61/ТН-63 057 Ребро 409-29-61/ТН-63 068 Щека 409-29-61/ТН-63 058 Стойка 409-29-61/ТН-63 063 Ребро 409-29-61/ТН-63 064 Проушина 409-29-61/ТН-63 073 Поперечина 409-29-61/ТН-63 061 Раскос 409-29-61/ТН-63 062 Поперечина 409-29-61/ТН-63 065 Стойка правая 409-29-61/ТН-63 066 Стойка левая 409-29-61/ТН-63 081 Ролик 409-29-61/ТН-63 082 Крышка 409-29-61/ТН-63 083 Палец 409-29-61/ТН-63 084 Втулка 409-29-61/ТН-63 085 Прокладка 409-29-61/ТН-63 086 Шайба 409-29-61/ТН-63 087 Шайба 409-29-61/ТН-63 102 Щека 409-29-61/ТН-63 091 Ось 409-29-61/ТН-63 092 Плита 409-29-61/ТН-63 093 Щека 409-29-61/ТН-63 096 Втулка 409-29-61/ТН-63 000 Площадка передвижная 409-29-61/ТН-63 010 Лестница 409-29-61/ТН-63 020 Стойка 409-29-61/ТН-63 030 Тележка 409-29-61/ТН-63 050 Вилка 409-29-61/ТН-63 040 Ролик в сборе 409-29-61/ТН-63 060 Подшипник 409-29-61/ТН-63 070 Корпус 409-29-61/ТН-63 080 Ролик в сборе 409-29-61/ТН-63 090 Вилка 409-29-61/ТН-63 000ВП Площадка передвижная 409-29-61/ТН-63 000ВС Площадка передвижная 409-29-61/ТН-64 000СБ Рама 409-29-61/ТН-64 000 Рама |
| Разработан: | Гипростроммашина |
| Утверждён: | 02.07.1979 Госстрой СССР (Государственный комитет Совета Министров СССР по делам строительства) (USSR Gosstroy 35) |

































































