Скачать Рекомендации по устранению эксплуатационных недостатков крупнопанельных зданий повышенной этажности

Дата актуализации: 01.01.2021

Рекомендации по устранению эксплуатационных недостатков крупнопанельных зданий повышенной этажности

Статус:справочные материалы, мп, тпр
Название рус.:Рекомендации по устранению эксплуатационных недостатков крупнопанельных зданий повышенной этажности
Дата добавления в базу:01.10.2014
Дата актуализации:01.01.2021
Область применения:Рекомендации предназначены для инженерно—технического персонала, занятого технической эксплуатацией крупно—панельных жилых домов повышенной этажности
Оглавление:1. Основные положения
2. Устранение недостатков наружных стен
3. Герметизация и утепление открытых стыков панелей наружных стен
4. Герметизация и утепление закрытых стыков панелей наружных стен
5. Усиление звукоизоляции внутренних стен
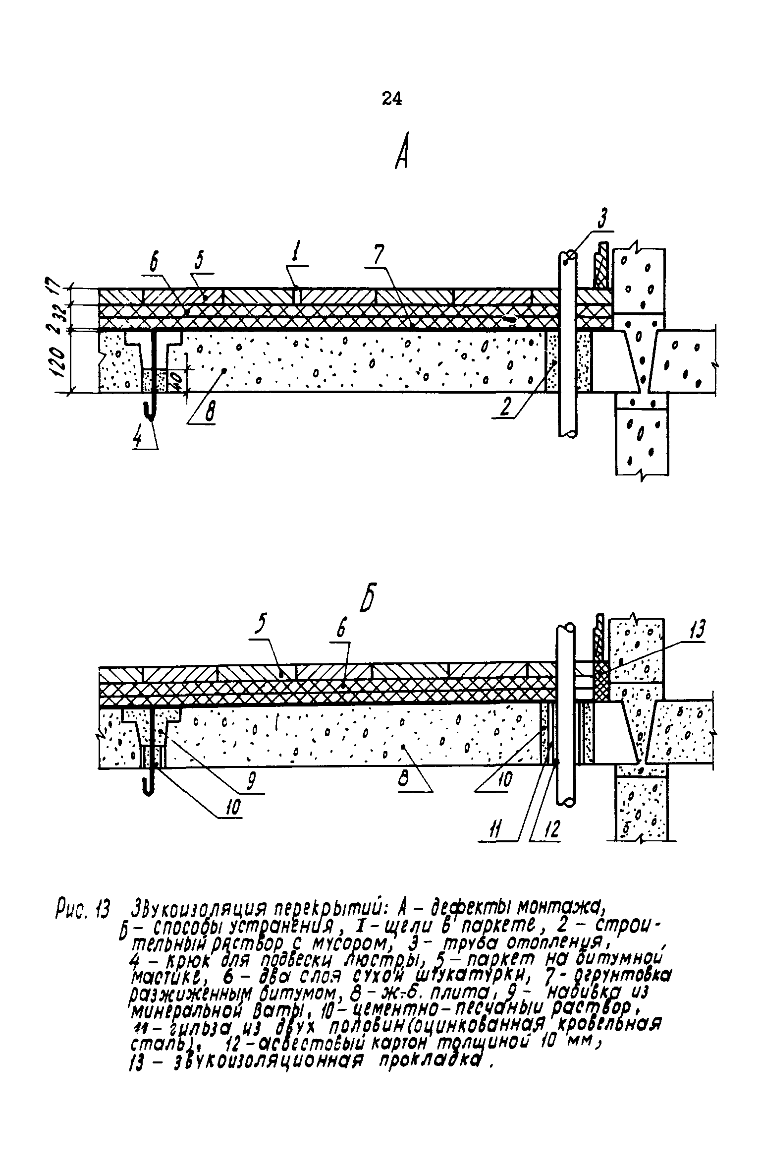
6. Усиление звукоизоляции перекрытий
7. Ремонт полов
8. Герметизация оконных заполнений
9. Герметизация дверей
10. Устранение протечек стен через балконы и лоджии
11. Устранение протечек кровли
12. Наладка систем отопления и горячего водоснабжения
13. Водоснабжение и канализация
14. Реконструкция мусоропроводов
Приложение. Руководство по герметизации стыков панелей наружных стен
Разработан: Ленинградский научно-исследовательский институт Академии коммунального хозяйства
Утверждён: Министерство коммунального хозяйства РСФСР
Список изменений:
Нормативные ссылки:

Текстовое изменение опечатки

опечатки