Скачать Руководство по производству земляных работ бульдозерамиДата актуализации: 01.01.2021
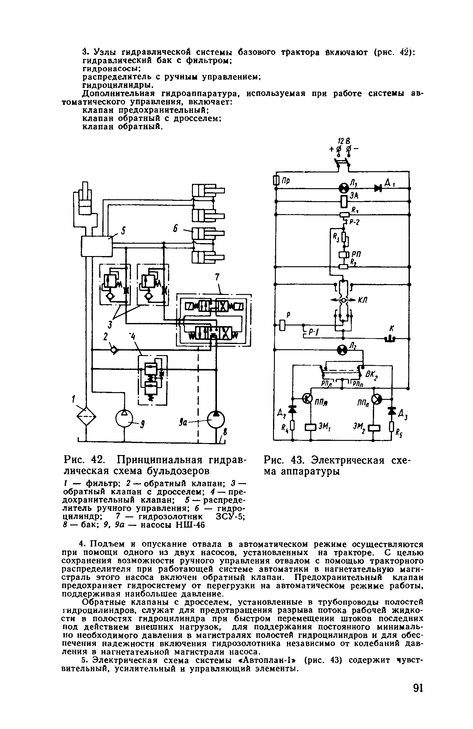
Руководство по производству земляных работ бульдозерами| Статус: | справочные материалы, мп, тпр | | Название рус.: | Руководство по производству земляных работ бульдозерами | | Дата добавления в базу: | 01.10.2014 | | Дата актуализации: | 01.01.2021 | | Область применения: | В документе рассматриваются вопросы рационального выполнения элементов цикла разработки грунта, применения прогрессивных технологических схем и способов при проектировании и производстве земляных работ, выбора марки и типа бульдозера для земляных работ, разработки грунта как бульдозерами с канатно-блочным и гидравлическим управлением, так и бульдозерами с автоматическим отвалом "Автоллан-1". Освещены производство подготовительных и вспомогательных работ и организация комплексных бульдозерных бригад. Отражены вопросы технического обслуживания бульдозеров, контроля качества производства земляных работ и их приемки, указания по технике безопасности и противопожарным мероприятиям. Руководство предназначено для инженерно-технических работников строительных и проектных организаций и машинистов бульдозерных бригад, занимающихся производством земляных работ. | | Оглавление: | Предисловие 1. Виды земляных сооружений, подготовительных и вспомогательных работ, выполняемых бульдозерами 2. Общие сведения о бульдозерах 3. Факторы, определяющие область применения бульдозеров 4. Выбор марки бульдозера в зависимости от вида сооружения и объема земляных работ 5. Подготовительные и вспомогательные работы 6. Указания по выполнению элементов цикла работы бульдозеров 7. Рациональные схемы производства работ 8. Разработка грунта выемок и возведение насыпей 9. Разработка грунта в каналах и возведение дамб 10. Разработка котлованов и траншей 11. Планировка территории 12. Обратные засыпки котлованов, траншей и пазух грунтом 13. Зачистка и планировка откосов 14. Разные работы, выполняемые бульдозерами 15. Способы повышения и определения производительности бульдозеров 16. Разработка мерзлых и скальных грунтов 17. Организация комплексных бульдозерных бригад 18. Контроль качества и приемка работ 19. Переходы и транспортирование бульдозера 20. Техническое обслуживание и ремонт бульдозеров 21. Техника безопасности и противопожарные мероприятия Приложение 1. Техническая характеристика бульдозеров на гусеничном ходу с неповоротным отвалом Приложение 2. Техническая характеристика бульдозеров на гусеничном ходу с поворотным отвалом Приложение 3. Техническая характеристика бульдозеров на пневмоколесном ходу с неповоротным отвалом Приложение 4. Техническая характеристика рыхлителей Приложение 5. Техническая характеристика гусеничных тракторов Приложение 6. Техническая характеристика колесных тракторов Приложение 7. Описание аппаратуры автоматического управления системы "Автоплан-1" на бульдозерах Д3-54А (Д-687А) и Д3-18Б (Д-493Б) Приложение 8. Ежесменное техническое обслуживание и возможные неисправности бульдозеров Д3-54 (Д-687А) и Д3-18Б (Д-493Б) с системой "Автоплан-1" Приложение 9. Таблица объемов грунта (в плотном теле) на отвалах бульдозеров в зависимости от степени разрыхления грунта | | Разработан: | ЦНИИОМТП Госстроя СССР
| | Утверждён: | ЦНИИОМТП Госстроя СССР (TsNIIOMTP, USSR Gosstroy )
| | Издан: | Стройиздат (1976 г. )
|
                                                                                              
|