Скачать ОСТ 102-62-81 Детали магистральных трубопроводов стальные приварные на Ру до 10,0 МПа (100 кгс/см2). Днища эллиптические отбортованные. РазмерыДата актуализации: 01.01.2021
|
| Обозначение: | ОСТ 102-62-81 |
| Обозначение англ: | OST 102-62-81 |
| Статус: | отменен |
| Название рус.: | Детали магистральных трубопроводов стальные приварные на Ру до 10,0 МПа (100 кгс/см2). Днища эллиптические отбортованные. Размеры |
| Дата добавления в базу: | 01.10.2014 |
| Дата актуализации: | 01.01.2021 |
| Дата введения: | 01.07.1981 |
| Дата окончания срока действия: | 01.07.1989 |
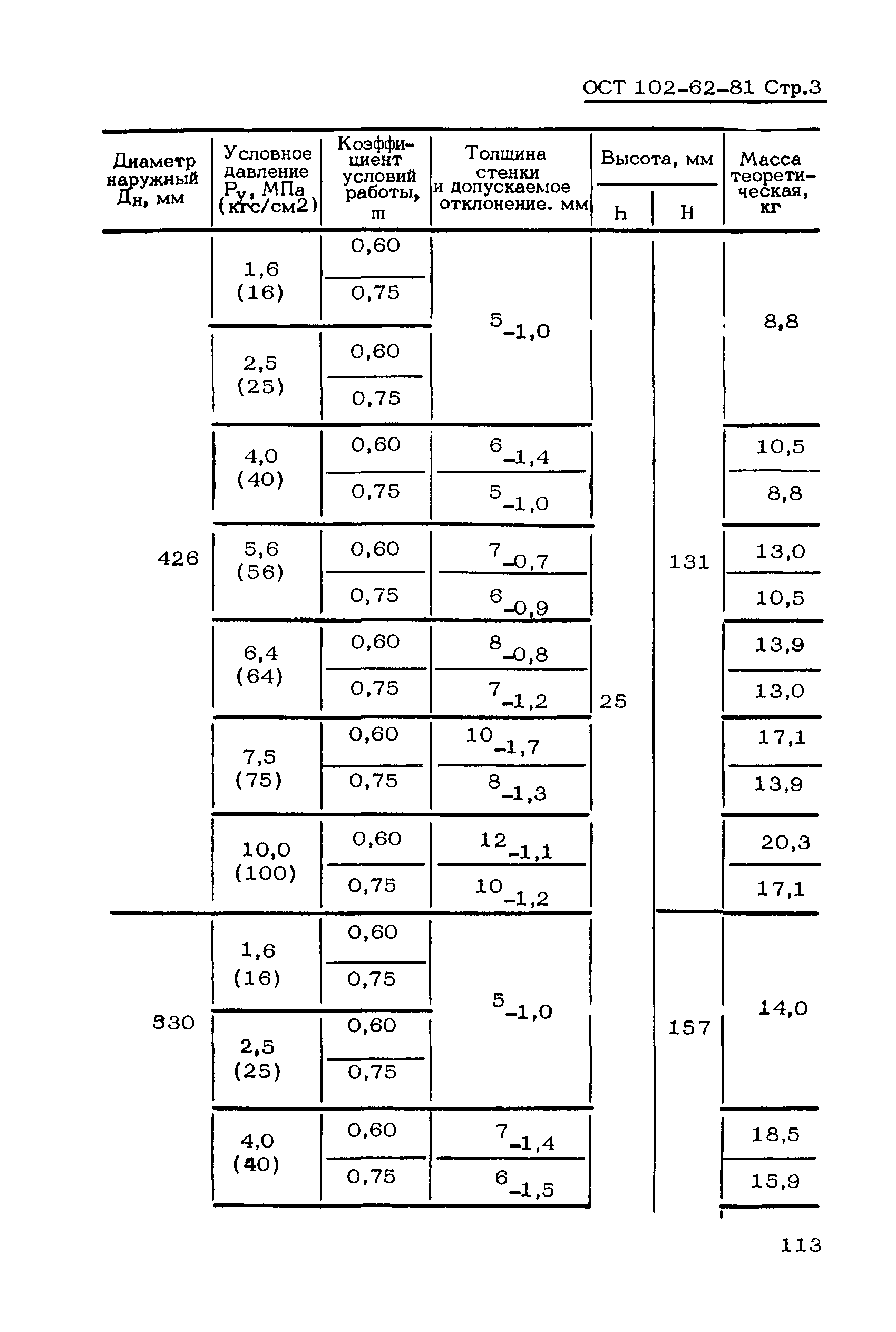
| Область применения: | Стандарт распространяется на днища эллиптические отбортованные. |
| Разработан: | СПКБ Проектнефтегазспецмонтаж Миннефтегазстроя Челябинский филиал СПКБ Проектнефтегазспецмонтаж ВНИИСТ |
| Утверждён: | 22.01.1981 Министерство строительства предприятий нефтяной и газовой промышленности (Ministry of Construction Facilities in the Oil and Gas Industry 16) |
| Принят: | Миннефтегазстрой (Minneftegazstroy ) Мингазпром (Mingazprom ) Миннефтепром (Minnefteprom ) |
| Заменяет собой: |
|
| Нормативные ссылки: |











