Скачать РПД ГПТР-2009 Руководство по деятельности групп подводно-технических работ ВМФ. Часть II. Подводно-технические работы ВМФ. Практическое пособиеДата актуализации: 01.01.2021
|
| Обозначение: | РПД ГПТР-2009 |
| Обозначение англ: | РПД ГПТР-2009 |
| Статус: | действует |
| Название рус.: | Руководство по деятельности групп подводно-технических работ ВМФ. Часть II. Подводно-технические работы ВМФ. Практическое пособие |
| Дата добавления в базу: | 01.10.2014 |
| Дата актуализации: | 01.01.2021 |
| Область применения: | Руководство определяет общие требования к организации, планированию, техническим средствам и способам производства подводно-технических работ, выполняемых подразделениями УПАСР флота. |
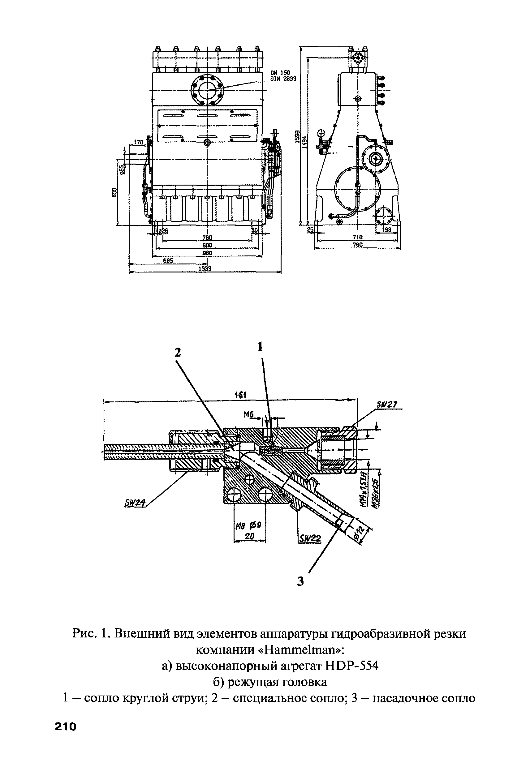
| Оглавление: | Глава 1. Организация и планирование подводно-технических работ 1.1. Общие положения 1.2. Организация и планирование ПТР 1.3. Отчетность по ПТР Глава 2. Технология выполнения подводно-технических работ 2.1. Подготовка к проведению подводно-технических работ 2.1.1. Инженерная подготовка ПТР 2.1.2. Водолазное обследование объектов ПТР 2.1.3. Обследование объектов ПТР с использованием подводных аппаратов 2.1.4. Особенности выполнения ПТР в зимних условиях и на течении 2.2. Расчистка акваторий и фарватеров 2.2.1. Назначение и основные методы расчистки акваторий и фарватеров 2.2.2. Разделка подводных объектов с использованием средств сварки и резки 2.2.3. Разделка подводных объектов взрывами 2.2.4. Разделка подводных объектов с помощью механических усилий 2.2.5. Разборка завалов разрушенных гидротехнических сооружений 2.3. Прокладка и ремонт подводных трубопроводов и кабелей 2.3.1. Выбор способа прокладки и заглубления трубопроводов 2.3.2. Укладка подводных трубопроводов способом протаскивания 2.3.3. Укладка трубопроводов с регулированием плавучести, и использованием плавтехсредств 2.3.4. Прокладка трубопроводов в зимних условиях 2.3.5. Ремонт подводных трубопроводов 2.3.6. Укладка и ремонт подводных кабелей 2.4. Подводно-технические работы при строительстве и ремонте гидротехнических сооружений 2.4.1. Устройство подводного основания под сооружение 2.4.2. Подводное бетонирование 2.4.3. Установка и ремонт плавучих причалов 2.4.4. Очистка и окраска подводных элементов сооружений Приложение 1. Расчет облегченной горизонтальной опоры Приложение 2. Расчет гравитационной опоры незаглубленного типа Приложение 3. Расчет гравитационной опоры полузаглубленного типа Приложение 4. Акт обследования объекта подводно-технических работ Приложение 5. Характеристики источников сварочного тока Приложение 6. Основные технические характеристики электродов для ручной подводной сварки и электрокислородной резки Приложение 7. Режимы электрокислородной резки под водой Приложение 8. Формулы расчета электровзрывных сетей Приложение 9. Основные характеристики взрывчатых веществ и имущества, используемых при подводных взрывных работах Приложение 10. Описание специализированного оборудования для резки крупногабаритных объектов механическим способом в направлении сверху вниз Приложение 11. Состав, назначение и основные технические характеристики гидравлического инструмента "Станлей" Приложение 12. Основные технические характеристики систем гидроабразивной резки Приложение 13. Комплекты оборудования для спуска трубопроводов с рельсового пути ОСД-2 и ОСД-3 Приложение 14. Методика расчета усилий протаскивания трубопровода по грунту в момент страгивания Приложение 15. Методика определения количества поддерживающих средств, их грузоподъемности и мест расстановки при погружении трубопроводов с использованием плавкранов Приложение 16. Типовой перечень материально-технических ресурсов, плавсредств и оборудования для производства работ по подводному бетонированию Приложение 17. Акт на постановку (приемку) плавучего причала в эксплуатацию Приложение 18. Карточка учета плавучего причала Приложение 19. Технические характеристики инструментов для механической очистки поверхностей под водой Приложение 20. Состав лакокрасочных покрытий, изготавливаемых на основе битума БН-III и применяемых для подводной окраски Приложение 21. Состав покрытий, изготовленных на основе эпоксидных смол и применяемых для подводной окраски Приложение 22. Характеристики и состав этиленовых красок, изготавливаемых на основе этиленового лака и применяемых для подводной окраски Приложение 23. Технические характеристики установки для центробежной окраски поверхностей под водой |
| Разработан: | ФГУ 40 ГНИИ МО РФ |
| Утверждён: | ФГУ 40 ГНИИ МО РФ |








































































































































































































































