Скачать Методика проведения неразрушающего контроля насосно-компрессорных труб

Дата актуализации: 01.01.2021

Методика проведения неразрушающего контроля насосно-компрессорных труб

Статус:действует
Название рус.:Методика проведения неразрушающего контроля насосно-компрессорных труб
Дата добавления в базу:01.10.2014
Дата актуализации:01.01.2021
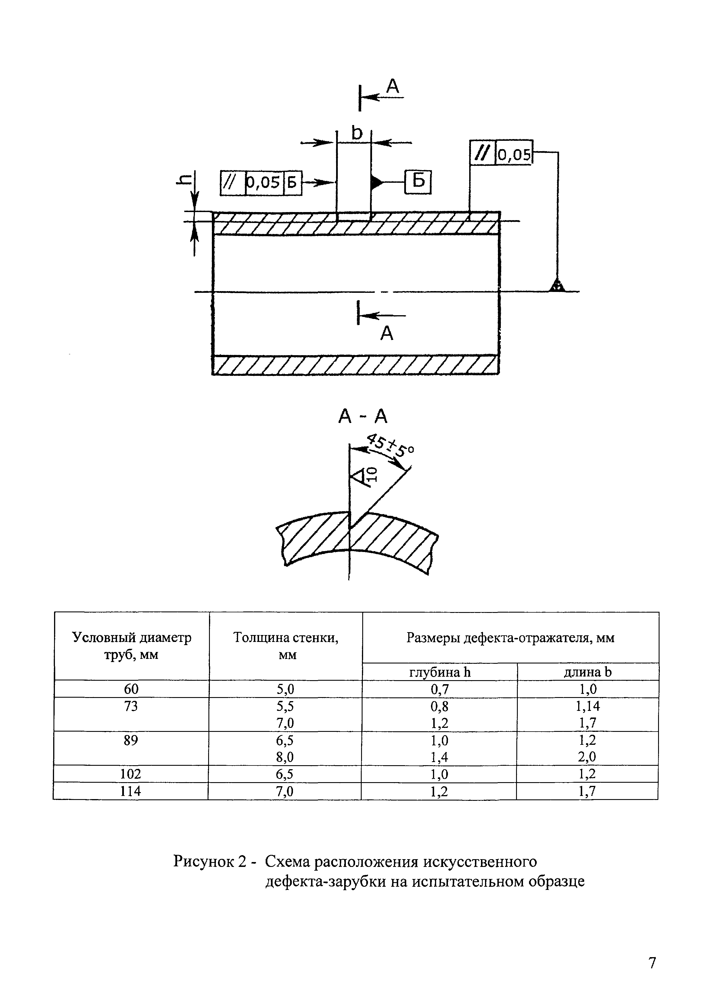
Область применения:В документе приводится технология визуального, ультразвукового и магнитоиндукционного методов контроля труб
Оглавление:1 Общие положения
2 Аппаратура
3 Подготовка к контролю
4 Порядок контроля
5 Оформление результатов контроля
6 Техника безопасности
Приложение А. Акт результатов неразрушающего контроля
Разработан: СПКТБ Нефтегазмаш
Утверждён: СПКТБ Нефтегазмаш
Принят:19.07.1999 Госгортехнадзор РФ (Russian Federation Gosgortekhnadzor 10-13/46)
Нормативные ссылки: