Скачать МУ 0397-00.002 Методика проведения неразрушающего контроля вертлюгов ВЭ-50, ВП-50

Дата актуализации: 01.01.2021

МУ 0397-00.002

Методика проведения неразрушающего контроля вертлюгов ВЭ-50, ВП-50

Обозначение: МУ 0397-00.002
Обозначение англ: MU 0397-00.002
Статус:действует
Название рус.:Методика проведения неразрушающего контроля вертлюгов ВЭ-50, ВП-50
Дата добавления в базу:01.10.2014
Дата актуализации:01.01.2021
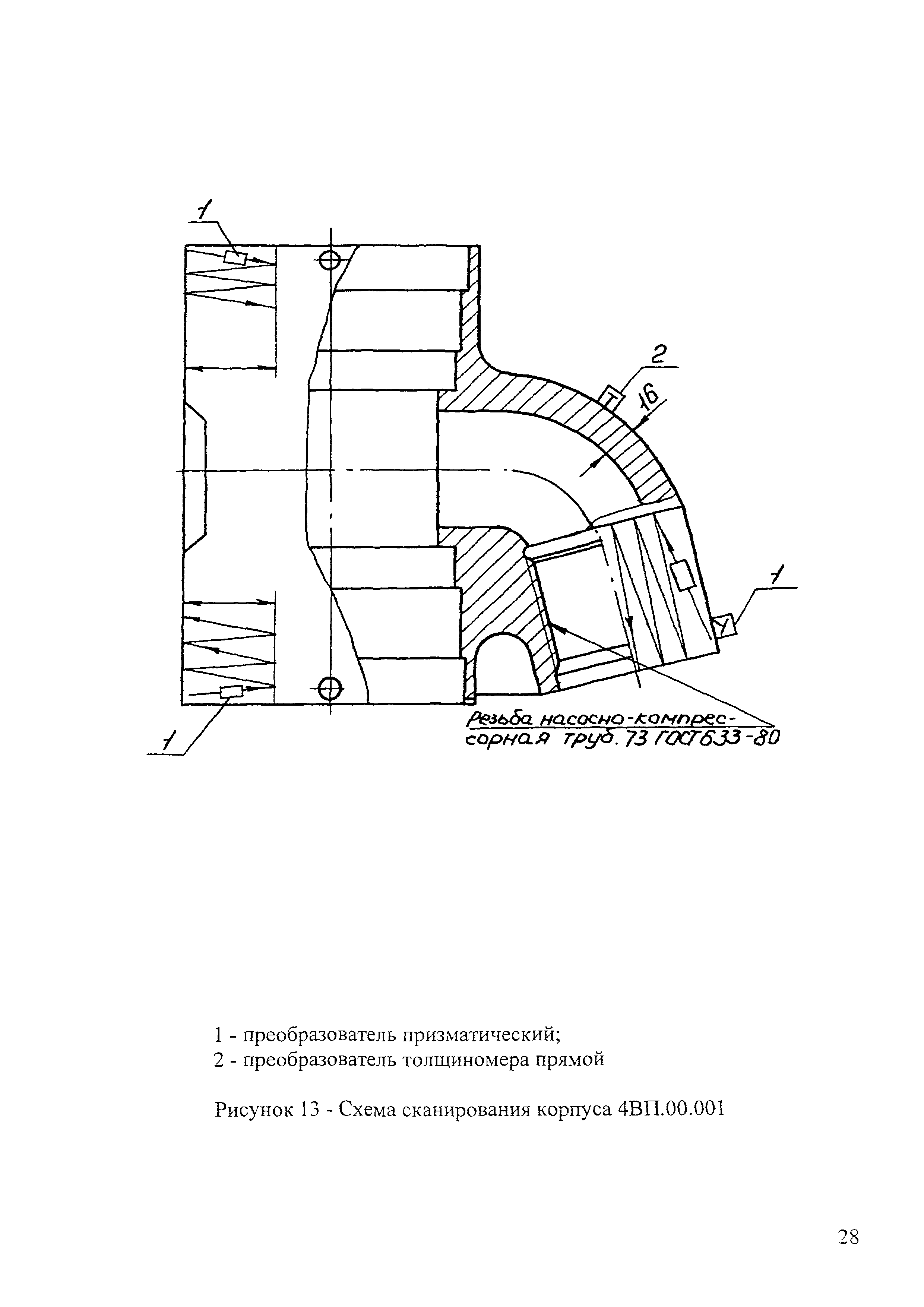
Область применения:В «Методике проведения неразрушающего контроля вертлюгов ВЭ-50, ВП-50» приводится технология визуального, измерительного, ультразвукового и капиллярного методов контроля деталей вертлюгов ВЭ-50, ВП-50. Данную Методику разрешается использовать при проведении визуального, измерительного, ультразвукового и капиллярного методов контроля деталей вертлюгов ВЭ-80 и King-10 МВ.
Оглавление:1 Общие положения
2 Аппаратура
3 Подготовка к контролю
4 Порядок контроля
5 Оформление результатов контроля
6 Техника безопасности
Приложение А
Приложение Б
Приложение В
Разработан: СПКТБ Нефтегазмаш
Утверждён: СПКТБ Нефтегазмаш
Принят:19.07.1999 Госгортехнадзор России (Russian Federation Gosgortekhnadzor 10-13/46)
Нормативные ссылки:
МУ 0397-00.002МУ 0397-00.002МУ 0397-00.002МУ 0397-00.002МУ 0397-00.002МУ 0397-00.002МУ 0397-00.002МУ 0397-00.002МУ 0397-00.002МУ 0397-00.002МУ 0397-00.002МУ 0397-00.002МУ 0397-00.002МУ 0397-00.002МУ 0397-00.002МУ 0397-00.002МУ 0397-00.002МУ 0397-00.002МУ 0397-00.002МУ 0397-00.002МУ 0397-00.002МУ 0397-00.002МУ 0397-00.002МУ 0397-00.002МУ 0397-00.002МУ 0397-00.002МУ 0397-00.002МУ 0397-00.002МУ 0397-00.002МУ 0397-00.002МУ 0397-00.002МУ 0397-00.002МУ 0397-00.002МУ 0397-00.002МУ 0397-00.002