Скачать Рекомендации по ударно-канатному бурению скважин при инженерных изысканиях в строительствеДата актуализации: 01.01.2021 |
| Статус: | справочные материалы, мп, тпр |
| Название рус.: | Рекомендации по ударно-канатному бурению скважин при инженерных изысканиях в строительстве |
| Дата добавления в базу: | 01.10.2014 |
| Дата актуализации: | 01.01.2021 |
| Область применения: | В документе обобщен отечественный и зарубежный опыт технологии ударноканатного бурения при производстве инженерных изысканий в строительстве. Освещены вопросы малой механизации буровых работ и приведены пути развития и совершенствования способа ударно-канатного бурения, оборудования и инструмента. Особое внимание уделено технологии бурения и возможным осложнениям в различных геолого-гидрогеологических условиях. Приведены основные данные о буровых станках, буровом технологическом, вспомогательном и аварийном инструментах, обсадных трубах, стальных канатах, а также по технике безопасности. Для техников и инженеров, геологов, гидрогеологов и буровиков, а также буровых мастеров, проводящих изыскания для всех видов строительства. |
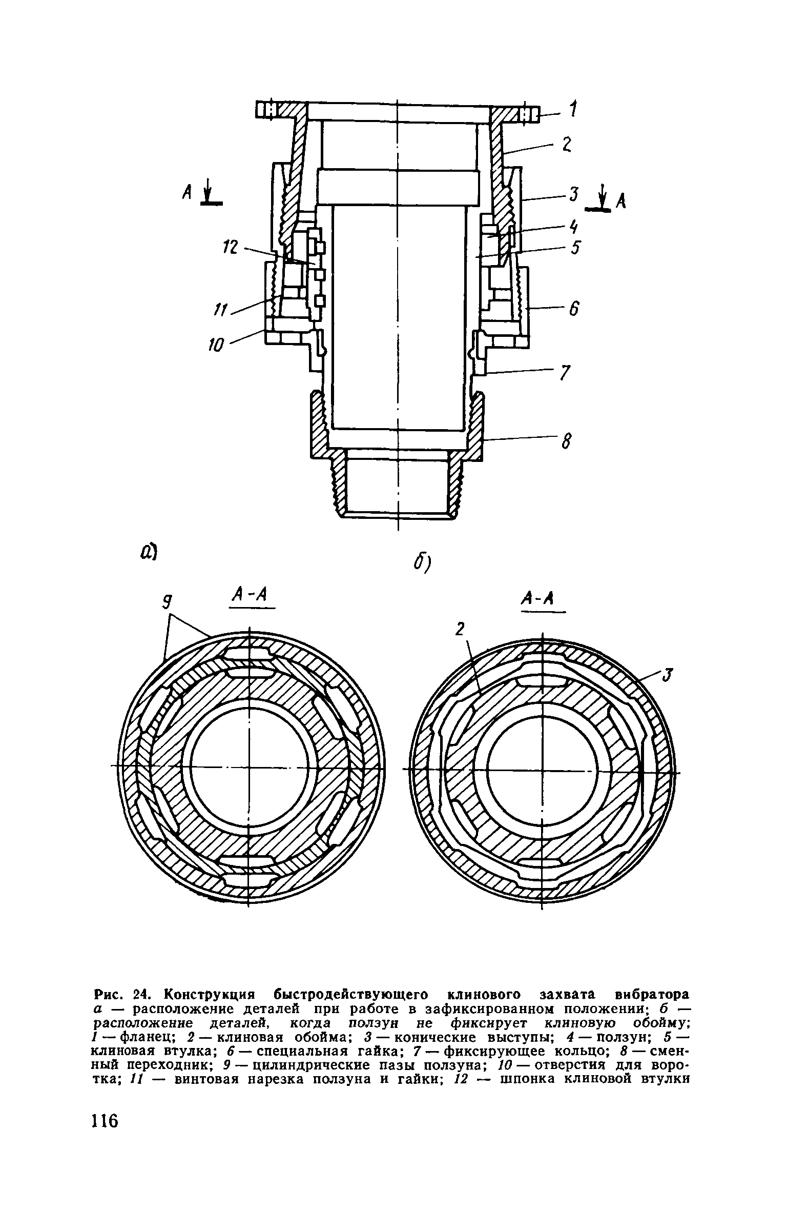
| Оглавление: | 1. Общие сведения Сущность и область применения ударно-канатного бурения при инженерных изысканиях в строительстве Типовые конструкции скважин при инженерных изысканиях Типовые конструкции инженерно-геологических скважин Типовые конструкции гидрогеологических скважин 2. Буровые станки для ударно-канатного бурения Буровые станки, используемые при инженерно-геологических изысканиях Буровые станки, используемые при гидрогеологических изысканиях 3. Буровой инструмент Буровой инструмент для ударно-канатного бурения скважин сплошным забоем Буровой инструмент для ударно-канатного бурения скважин кольцевым забоем 4. Технология бурения Общие сведения Монтаж и демонтаж станков ударно-канатного бурения Забуривание скважин и бурение в различных геологических условиях Некоторые особенности технологии бурения скважин при инженерно-геологических изысканиях Причины и меры предотвращения искривления скважин Крепление скважин трубами Извлечение труб из скважин Способы погружения и извлечения обсадных труб при бурении инженерно-геологических скважин Предупреждение и ликвидация аварий Анализ неполадок, аварий, их устранение и предупреждение Осложнения при бурении в различных геологических условиях Тампонаж скважин 5. Основные направления совершенствования буровой техники и технологии бурения скважин ударно-канатным способом Совершенствование технологии бурения Совершенствование буровой техники 6. Краткие сведения по технике безопасности Приложение 1. Обсадные трубы и стальные канаты Приложение 2. Основные формы геолого-технической документации |
| Разработан: | ПНИИИС Госстроя России |
| Утверждён: | ПНИИИС Госстроя СССР (PNIIIS, USSR Gosstroy ) |
| Издан: | Стройиздат (1986 г. ) |
| Нормативные ссылки: |
|












































































































































