Скачать МУ 4184-86 Методические указания по фотометрическому измерению концентраций никеля, его окислов и сульфидов в воздухе рабочей зоныДата актуализации: 01.01.2021 МУ 4184-86
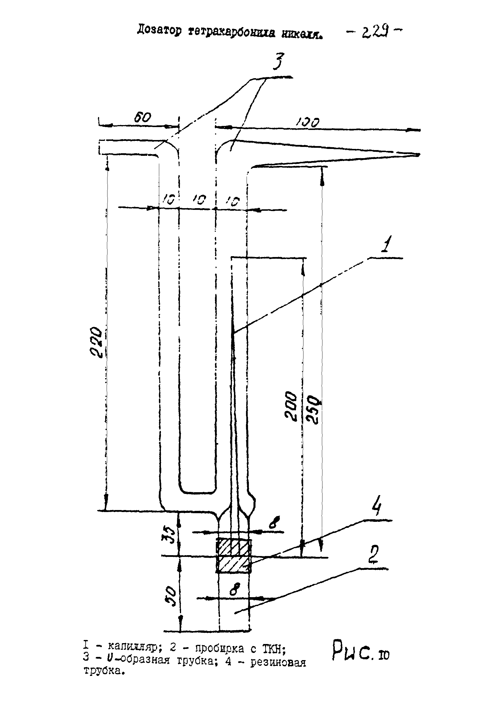
Методические указания по фотометрическому измерению концентраций никеля, его окислов и сульфидов в воздухе рабочей зоны| Обозначение: | МУ 4184-86 | | Обозначение англ: | MU 4184-86 | | Статус: | справочные материалы, мп, тпр | | Название рус.: | Методические указания по фотометрическому измерению концентраций никеля, его окислов и сульфидов в воздухе рабочей зоны | | Дата добавления в базу: | 01.10.2014 | | Дата актуализации: | 01.01.2021 | | Область применения: | Методические указания распространяются на измерение содержание вредных веществ в воздухе промышленных помещений при санитарном контроле. | | Оглавление: | 1. Характеристика метода 2. Реактивы, растворы и материалы 3. Приборы и посуда 4. Проведение измерения Приложение 1. Приведение объема воздуха к стандартным условиям Приложение 2. Коэффициенты для приведения воздуха к стандартным условиям Приложение 3. Перечень учреждений, представивших методические указания Приложение 4. Вещества, определяемые по ранее утвержденным Методическим указаниям | | Разработан: | Ангарский НИИ ГТиПЗ
| | Утверждён: | 06.11.1986 Заместитель Главного государственного санитарного врача СССР
| | Нормативные ссылки: | |
                               
|