Скачать МИ 481-84 Методические указания. Индикатор часового типа с демпфирующим устройством. Модель ИЧ 10МД. Методы и средства поверкиДата актуализации: 01.01.2021
|
| Обозначение: | МИ 481-84 |
| Обозначение англ: | MI 481-84 |
| Статус: | действует |
| Название рус.: | Методические указания. Индикатор часового типа с демпфирующим устройством. Модель ИЧ 10МД. Методы и средства поверки |
| Дата добавления в базу: | 01.10.2014 |
| Дата актуализации: | 01.01.2021 |
| Дата введения: | 12.03.1984 |
| Область применения: | Методические указания распространяются на индикаторы часового типа с демпфирующим устройством, выпускаемый по ГОСТ 577-68, и устанавливают методы и средства их первичной и периодической поверок |
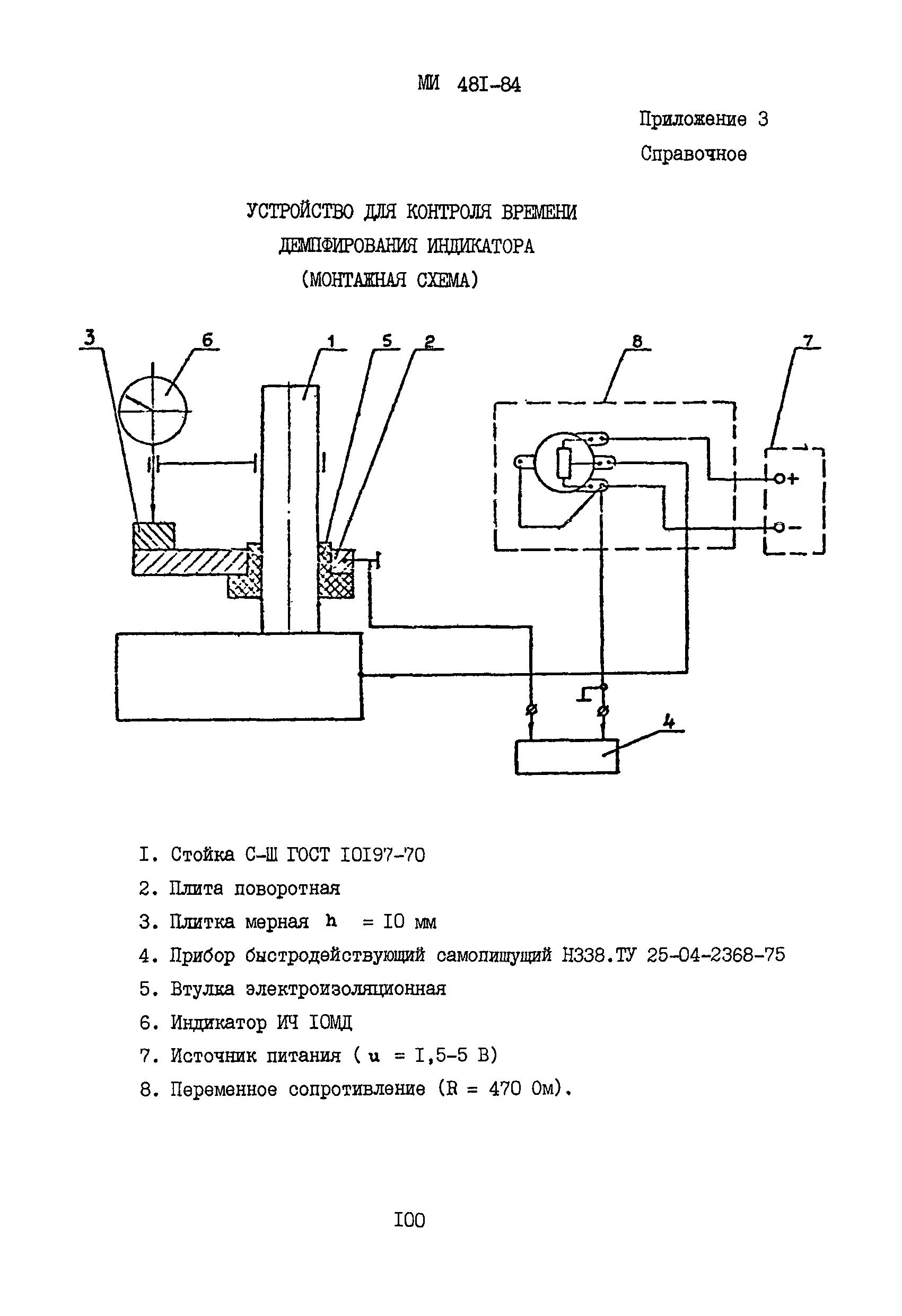
| Оглавление: | 1. Операции и средства поверки 2. Условия поверки и подготовка к ней 3. Проведение поверки 4. Оформление результатов поверки Приложение 1 (справочное). Примеры записи в протоколе поверки индикатора Приложение 2 (справочное). Приспособление с микрометрической головкой Приложение 3 (справочное). Устройство для контроля времени демпфирования индикатора (монтажная схема) |
| Разработан: | Кировский инструментальный завод Красный инструментальщик имени 60-летия Союза ССР Министерства станкостроительной и инструментальной промышленности СССР |
| Утверждён: | 12.03.1984 НПО ВНИИМ им. Д.И. Менделеева |
| Заменяет собой: |
|
| Нормативные ссылки: |
|
















