Скачать Каталоги промышленного оборудования. Электромонтажные изделия треста Гидроэлектромонтаж

Дата актуализации: 01.01.2021

Каталоги промышленного оборудования. Электромонтажные изделия треста "Гидроэлектромонтаж"

Статус:справочные материалы, мп, тпр
Название рус.:Каталоги промышленного оборудования. Электромонтажные изделия треста "Гидроэлектромонтаж"
Дата добавления в базу:01.10.2014
Дата актуализации:01.01.2021
Область применения:Каталог содержит технические характеристики электрические схемы, а также номенклатуру основных изделий, выпускаемых промышленными предприятиями треста "Гидроэлектромонтаж"
Оглавление:Раздел 1. Высоковольтное оборудование
   1. Подстанции трансформаторные комплектные передвижные (КТПП) 6 - 10 кВ
Раздел II. Низковольтное оборудование
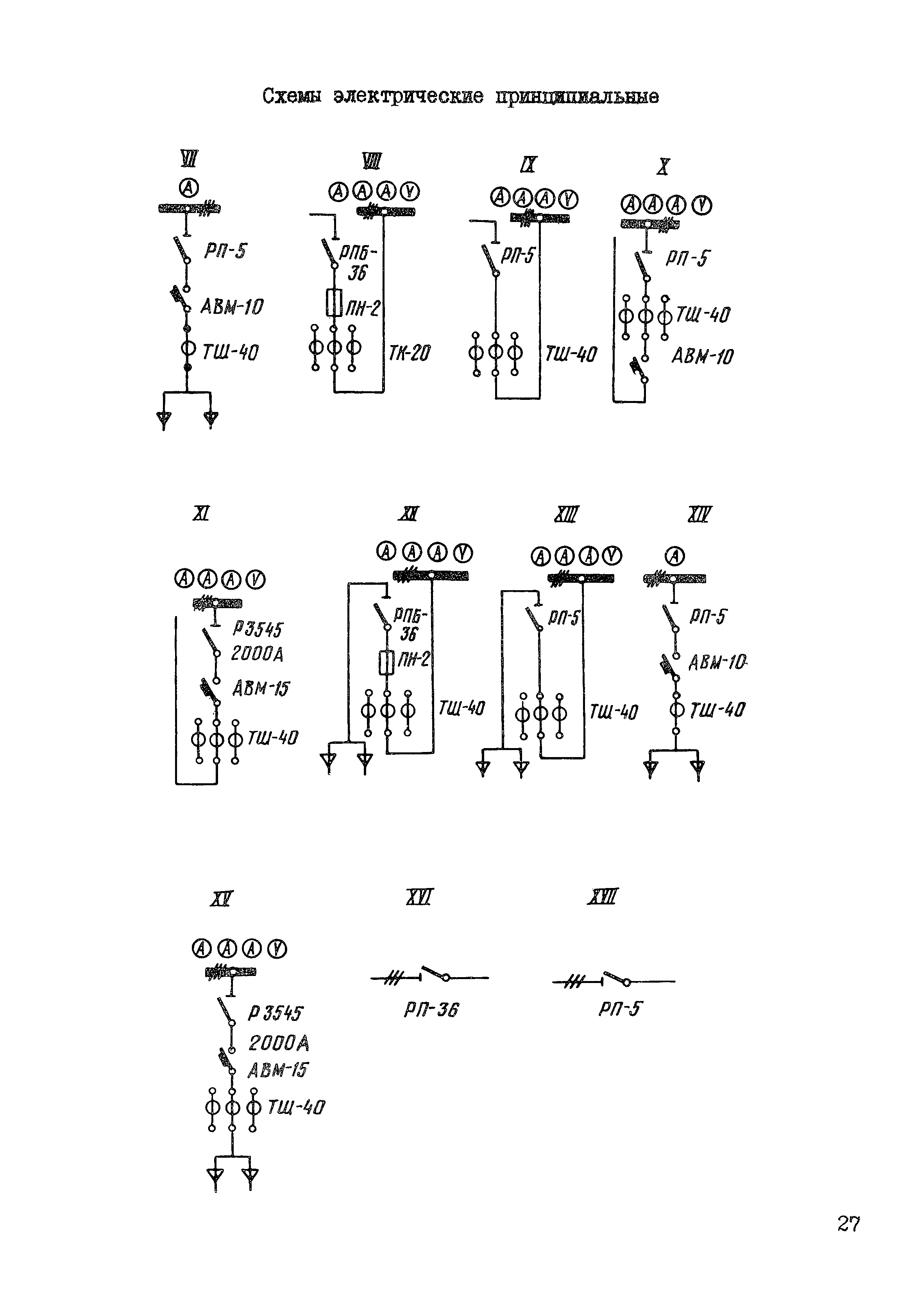
   1. Шкафы распределительные силовые на номинальное напряжение до 660 В
   2. Шкафы для питания трансформаторов термообработки
   3. Щиты распределительные типа ЩО-59
   4. Шкафы сборок задвижек типа РТ30-69
   5. Шкафы силовые типа ШС
   6. Шкафы релейные типа ШР
   7. Щитки этажные осветительные совмещенные
Раздел III. Токопроводы
   1. Токопровод экранированный комплектный с непрерывной оболочкой для генераторов мощностью 500 - 800 МВ
   2. Токопровод экранированный комплектвый с непрерывной оболочкой для генераторов мощностью 60 - 300 МВт
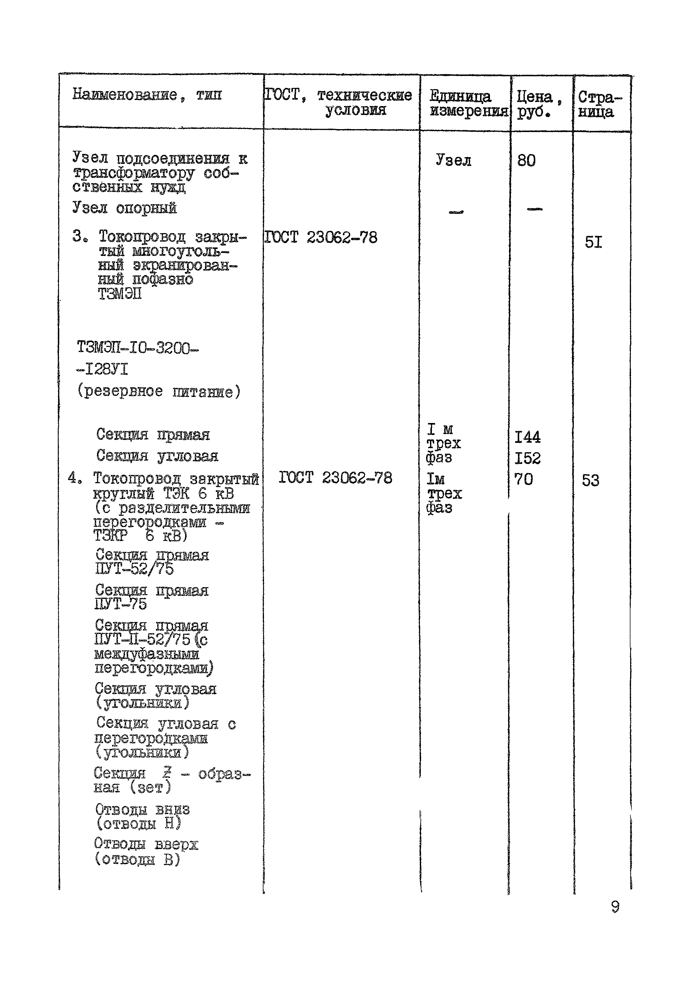
   3. Токопровод закрытый многоугольный экранированный пофазно ТЗМЭП
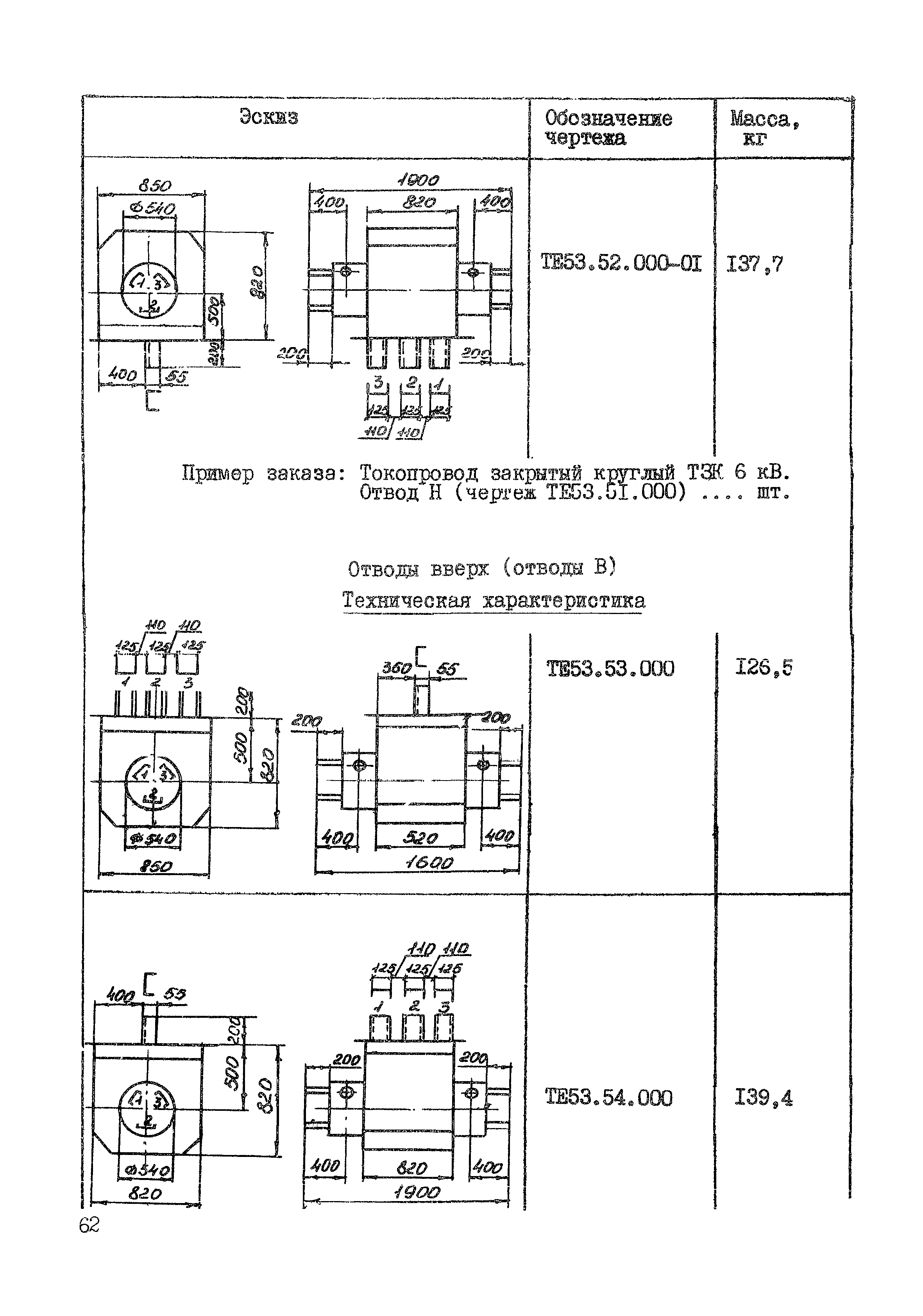
   4. Токопровод закрытый круглый ТЭК 6 кВ (с разделительными перегородками-ТЗКР 6 кВ)
Раздел IV. Электроустановочные изделия
   1. Изделия для монтажа кабелей и труб
   2. Профили монтажные
   3. Изделия для оконцевания, соединения проводов и жил кабелей
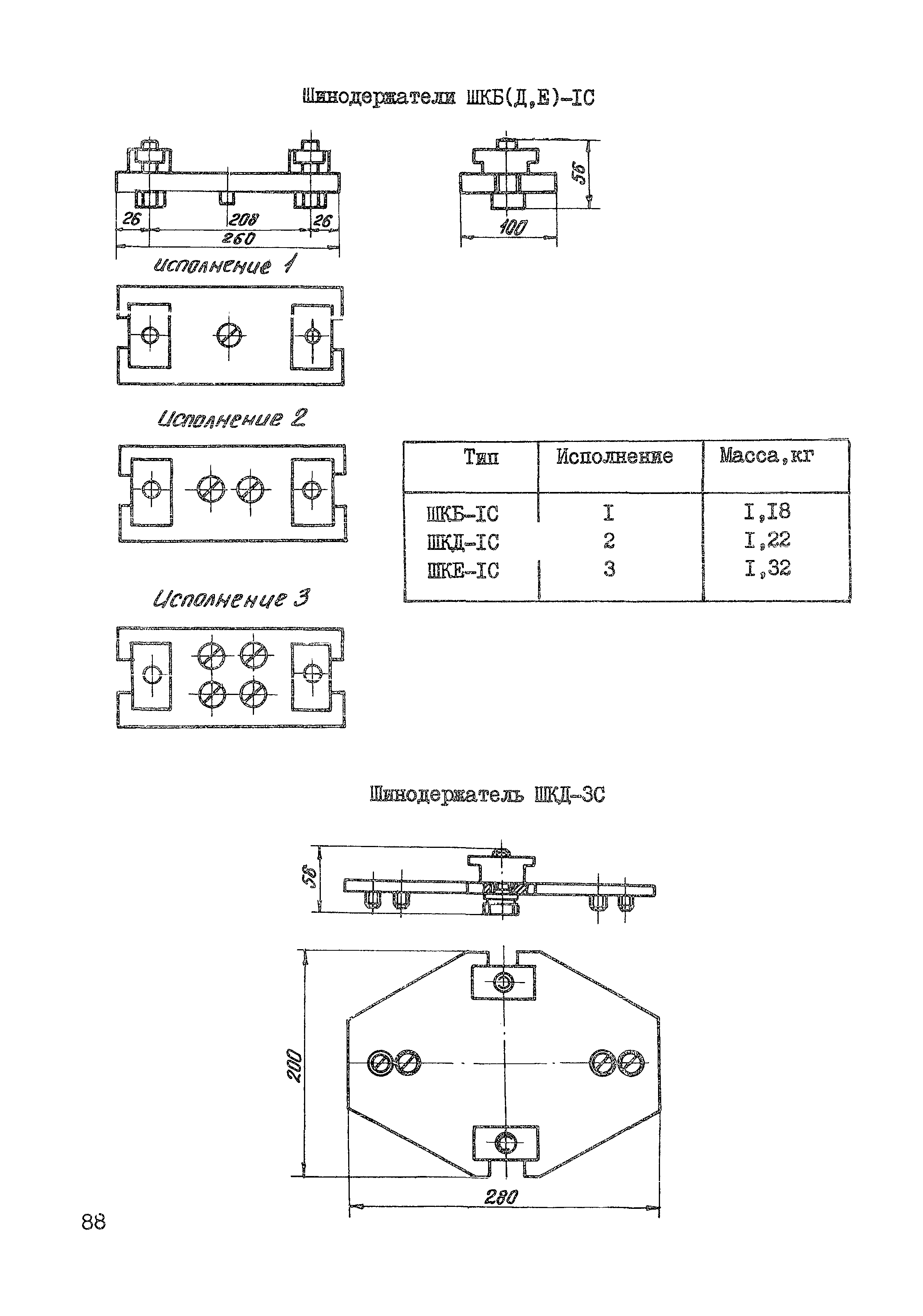
   4. Изделия для монтажа ошиновки
   5. Коробки соединительные и ответвительные
   6. Изделия для монтажа вторичных целей
   7. Изделия для осветительных проводов
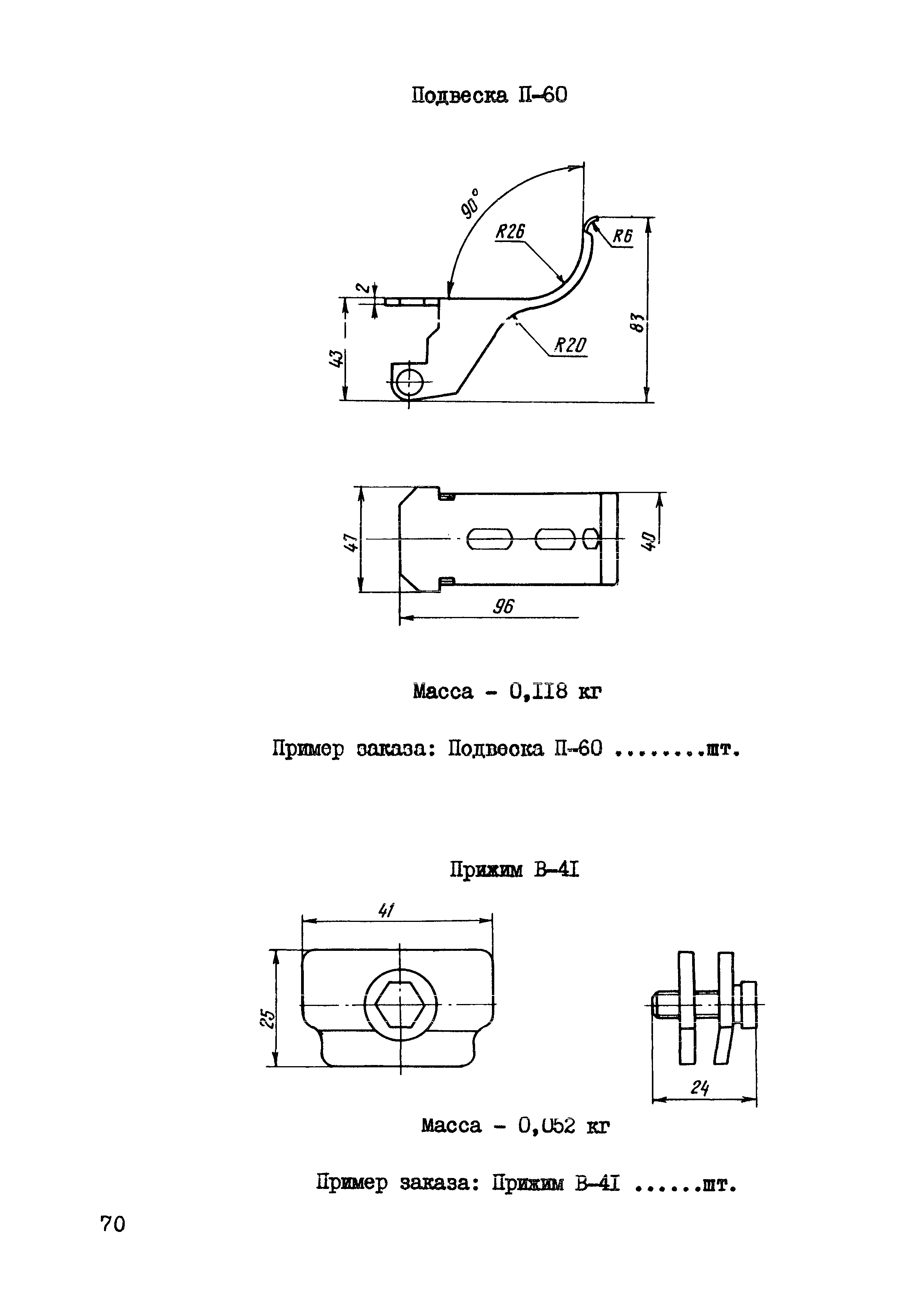
   8. Изделия монтажные разные
Разработан: НТИ-10
Утверждён:20.03.1980 Главэлектромонтаж Минэнерго СССР (1/80)