Скачать Каталог унифицированного оборудования для строящихся объектов канализации

Дата актуализации: 01.01.2021

Каталог унифицированного оборудования для строящихся объектов канализации

Статус:справочные материалы, мп, тпр
Название рус.:Каталог унифицированного оборудования для строящихся объектов канализации
Дата добавления в базу:01.10.2014
Дата актуализации:01.01.2021
Область применения:Каталог содержит основные сведения по не стандартизированному оборудованию, применяемому для комплектации строящихся объектов канализации.
Оглавление:Аэраторы
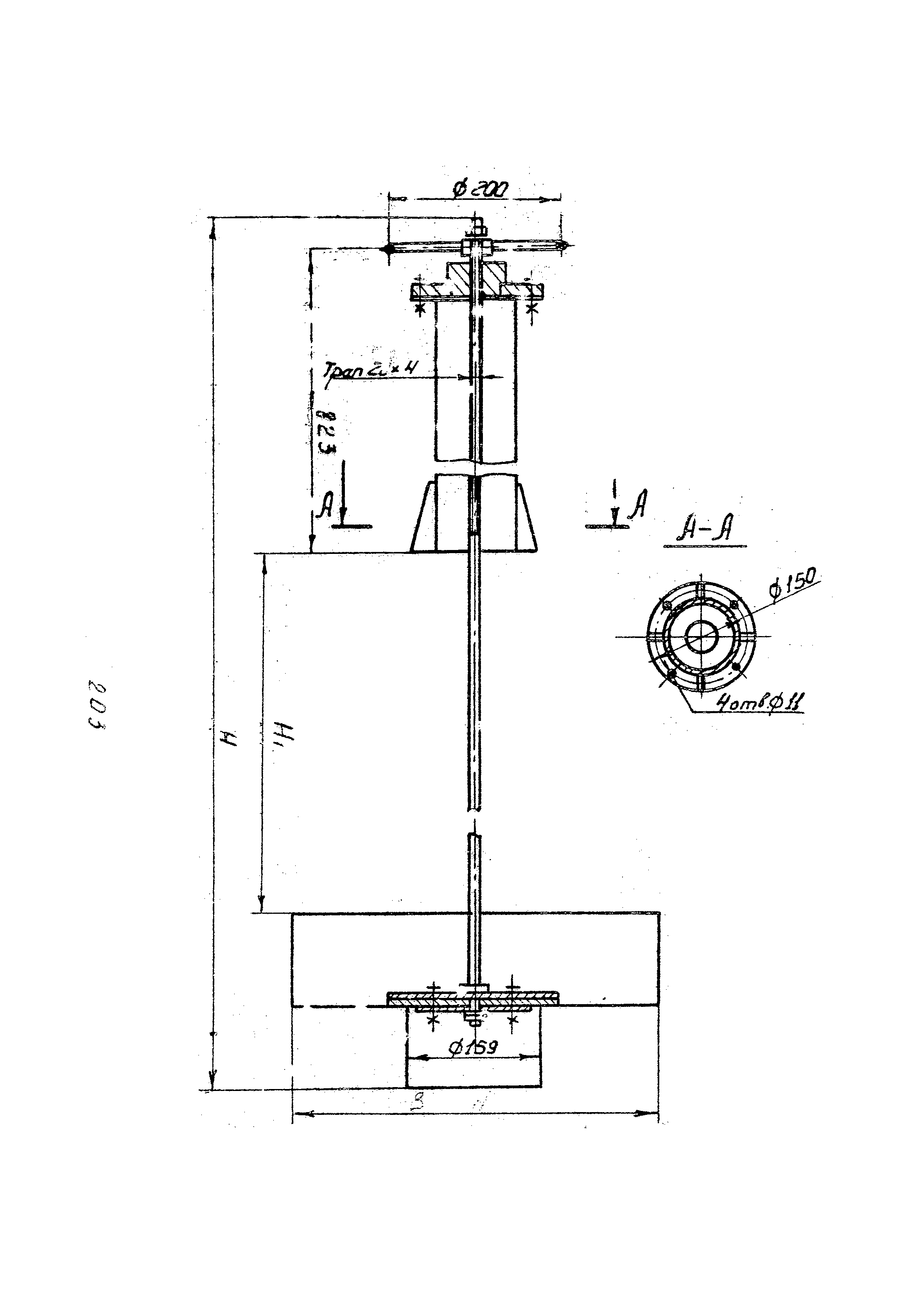
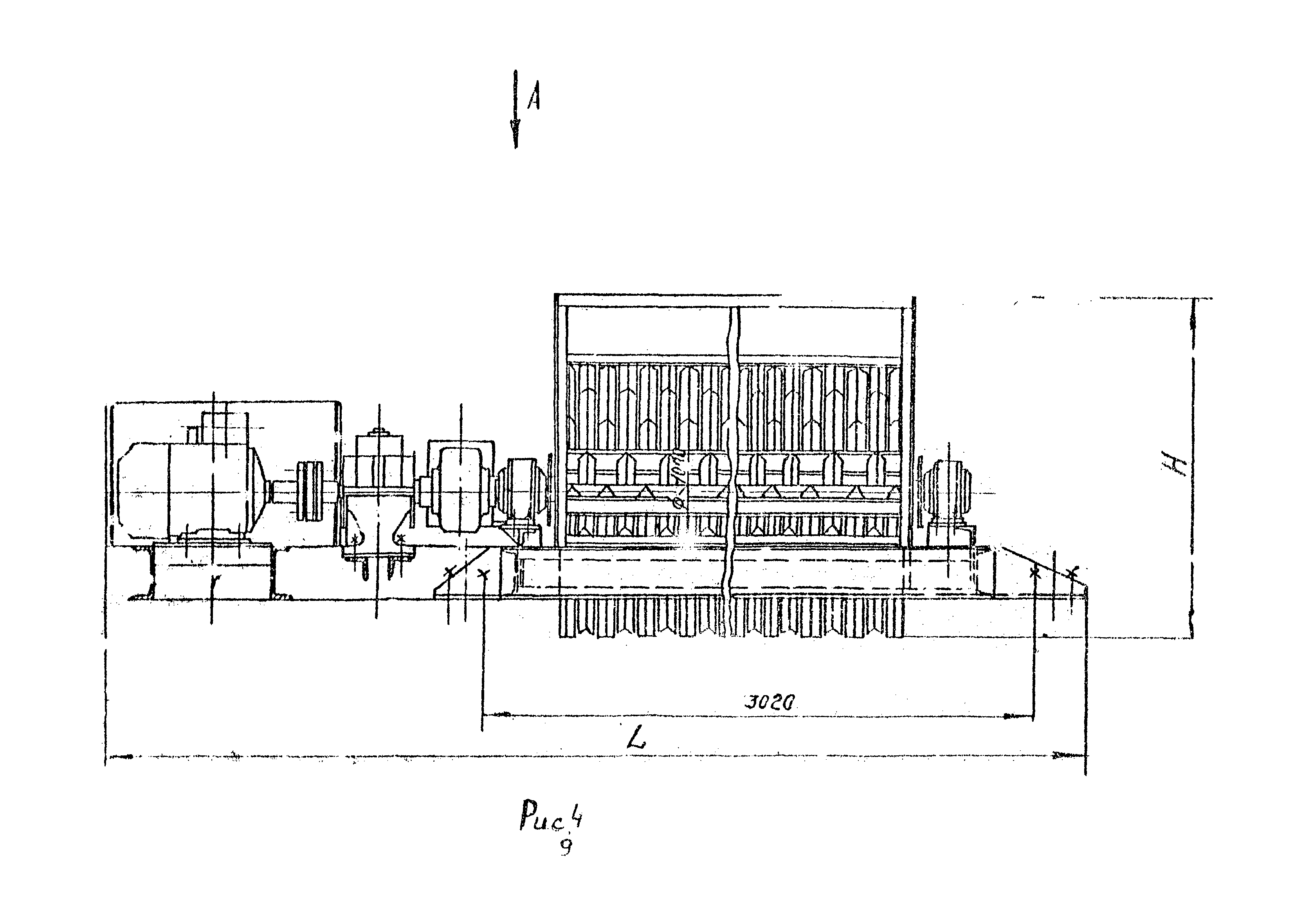
Аэратор планетарный
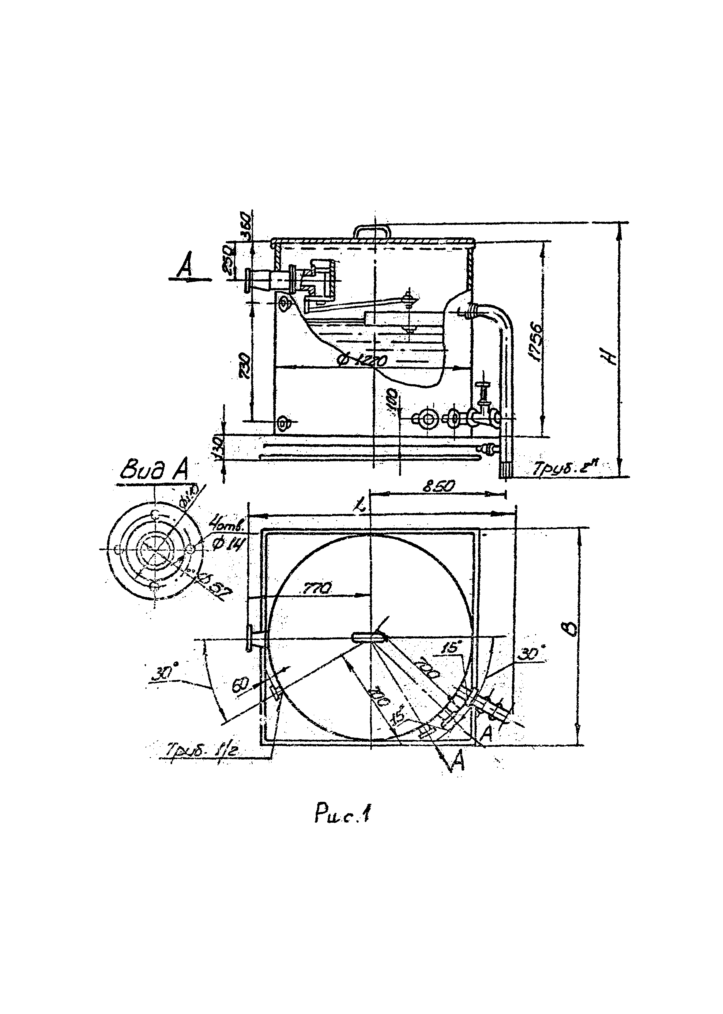
Бак перелива
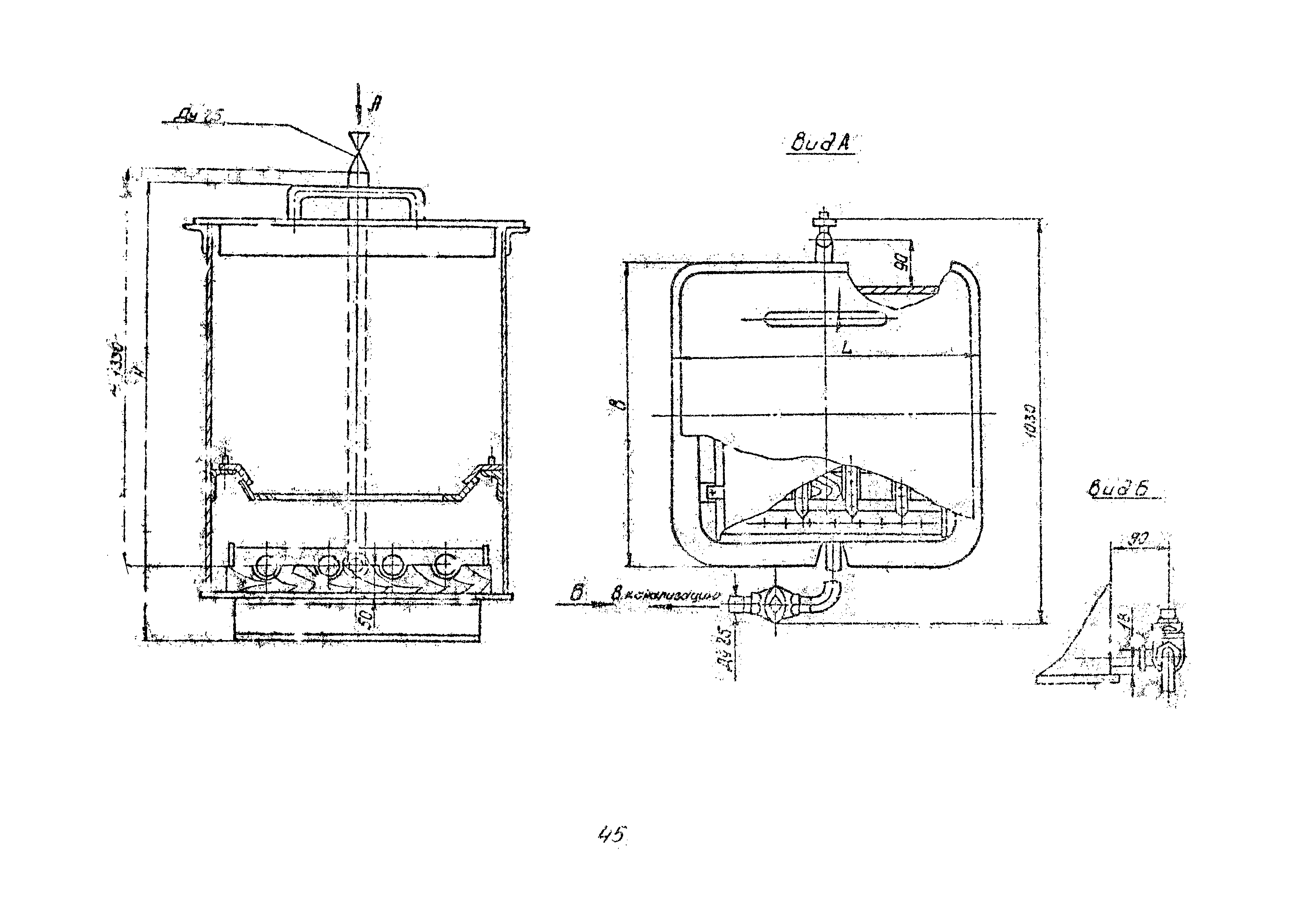
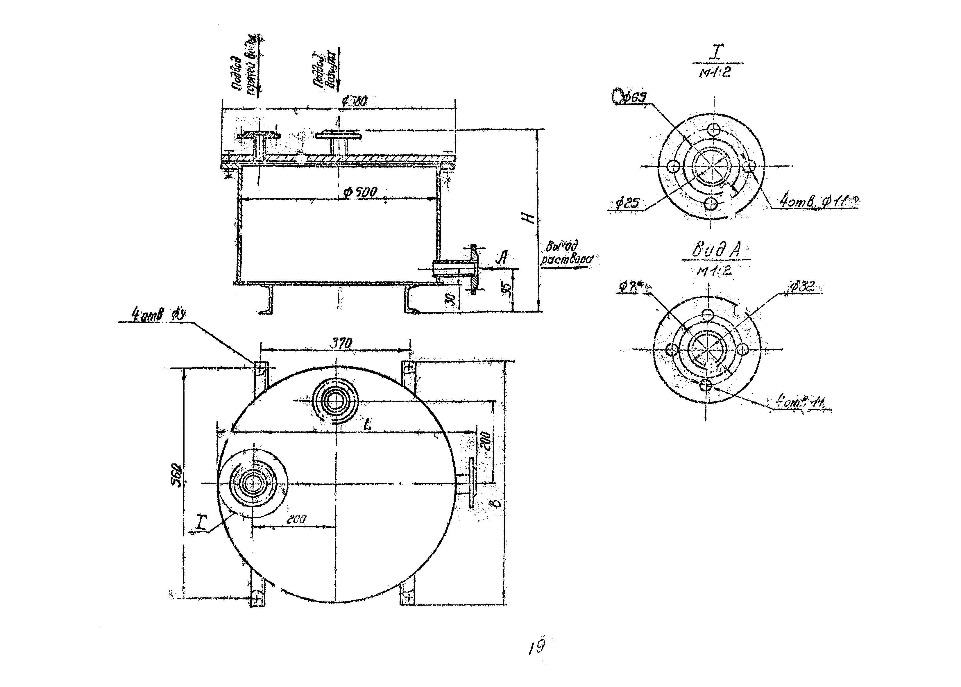
Бак растворный
Баr приготовления
Бак для разрыва струи
Бак расходный
Бак для масла
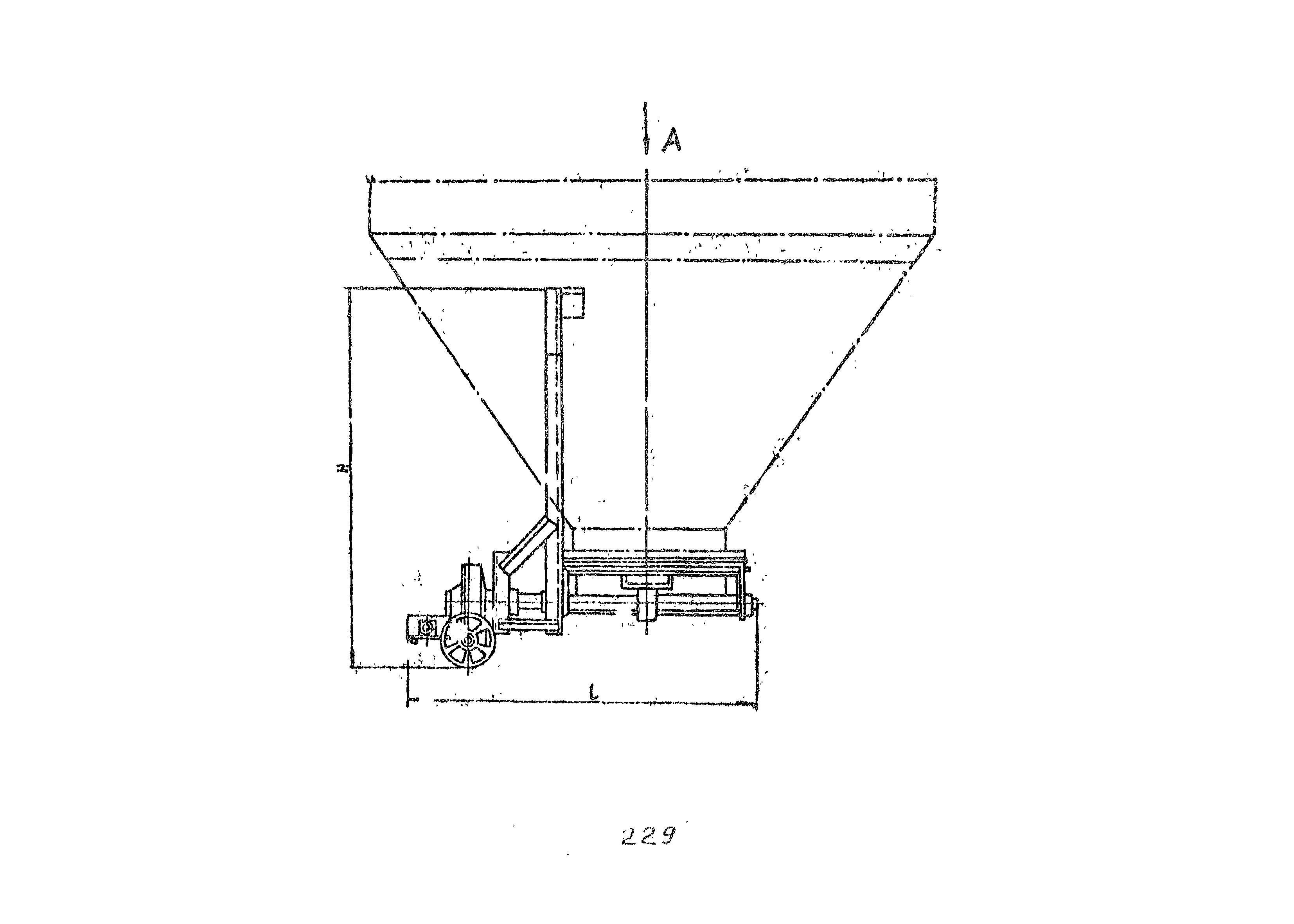
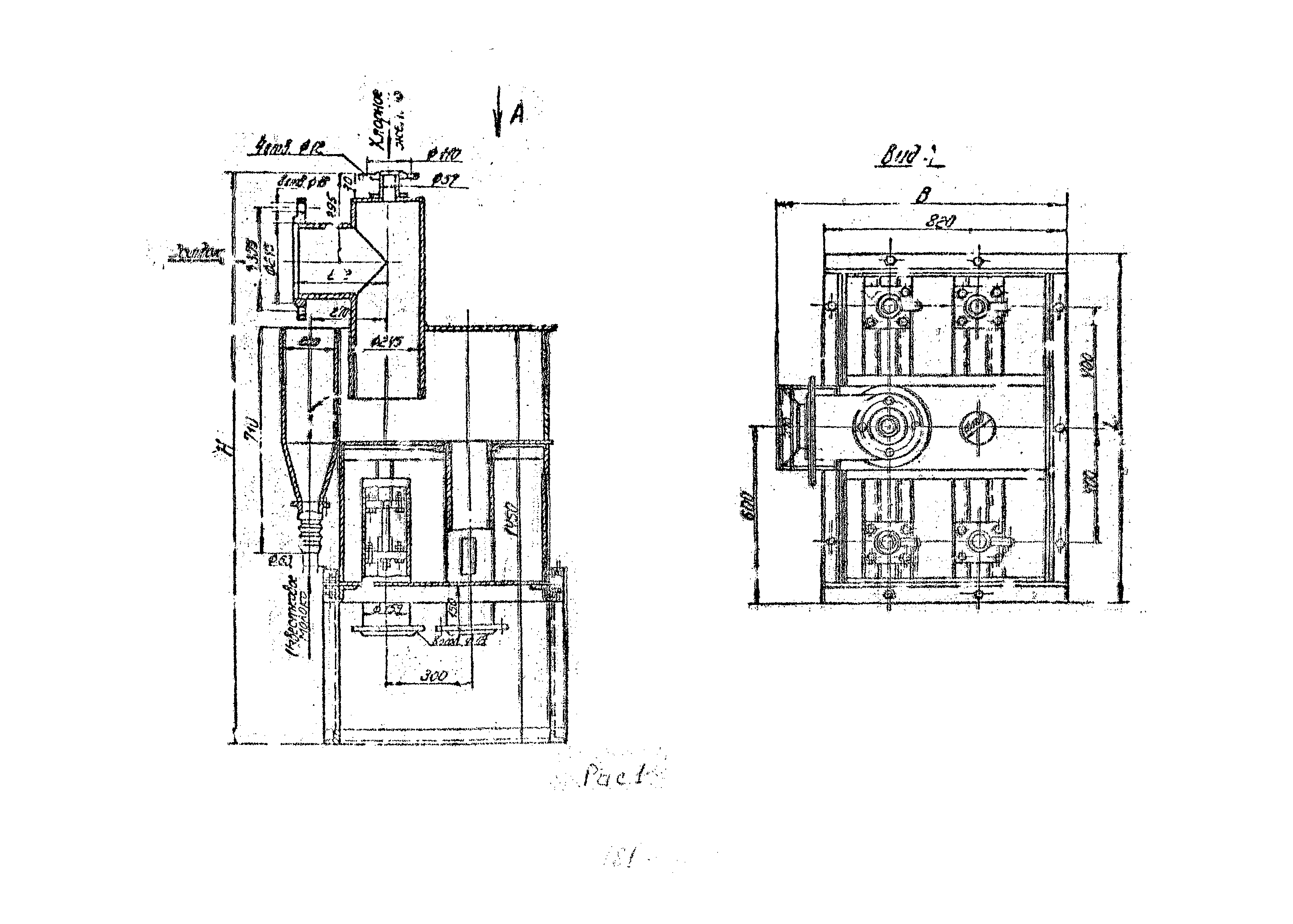
Бункер для песка
Бак 10% ингибированной соляной кислоты
Бункер для отбросов
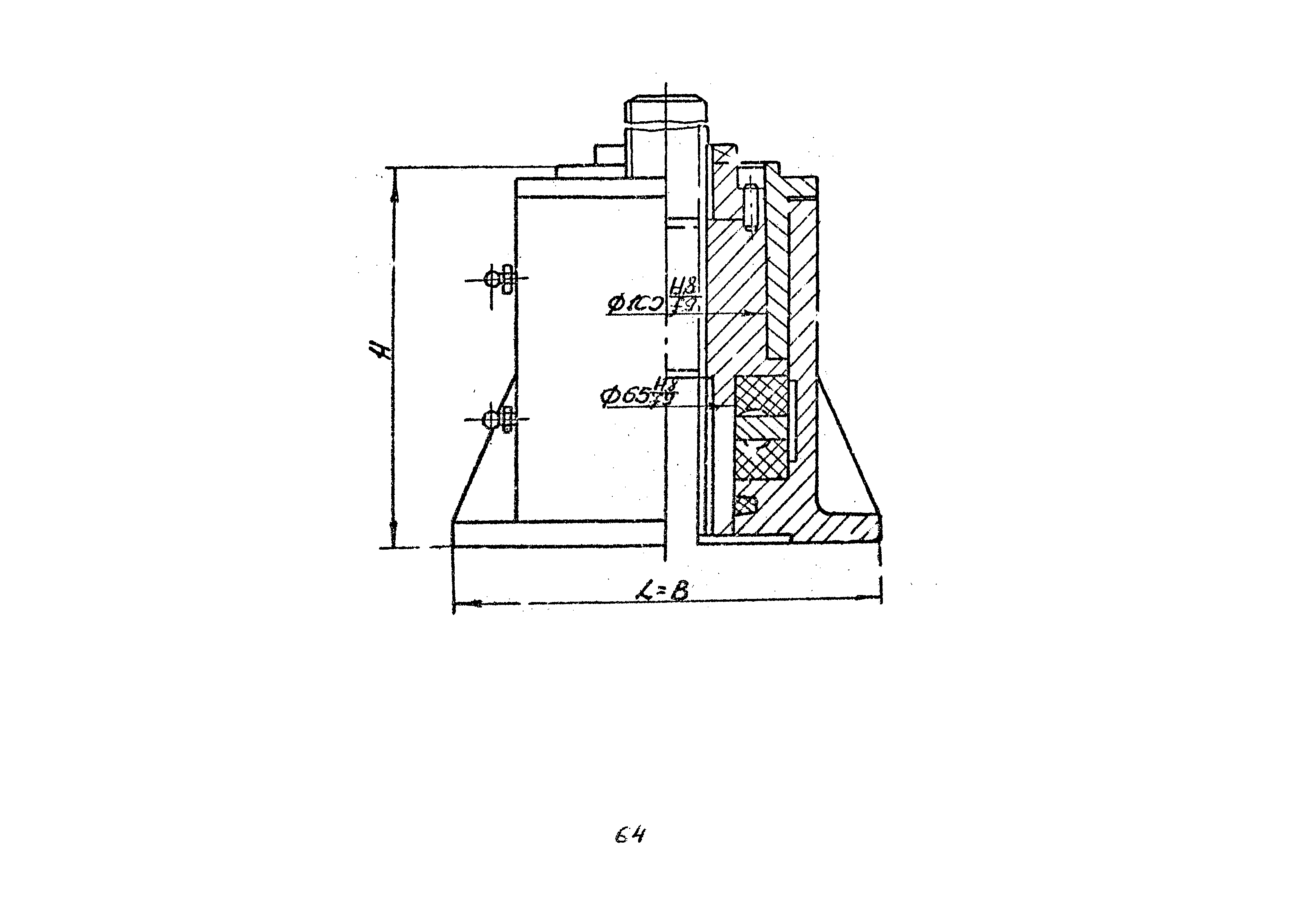
Вставки монтажные
Ванна для промывки ячеек фильтров
Ванна для зарядки ячеек фильтров
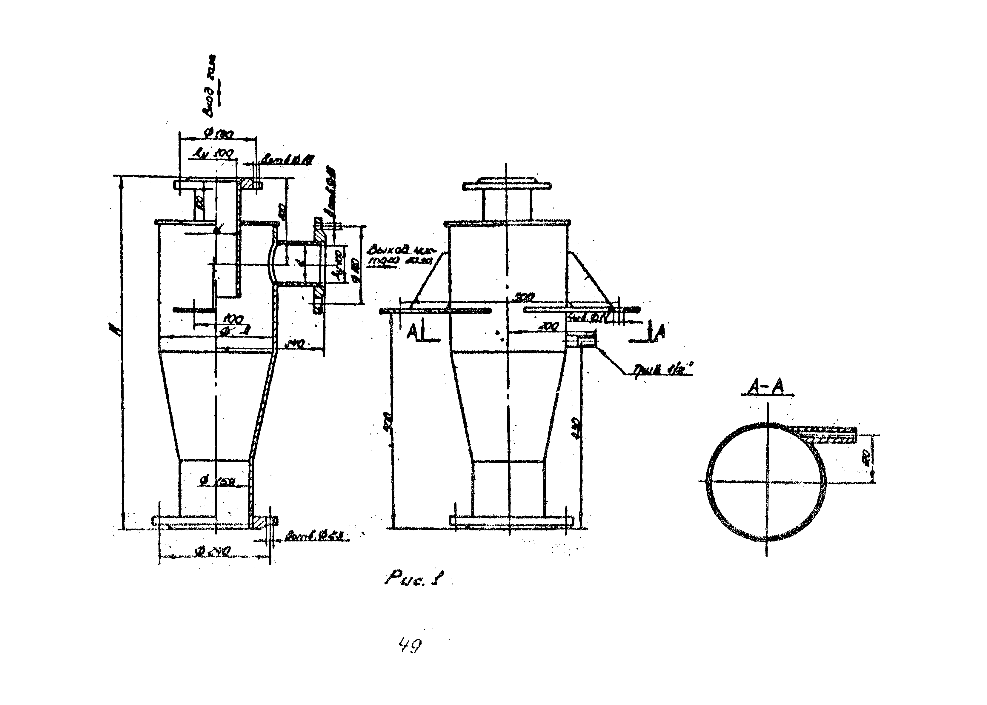
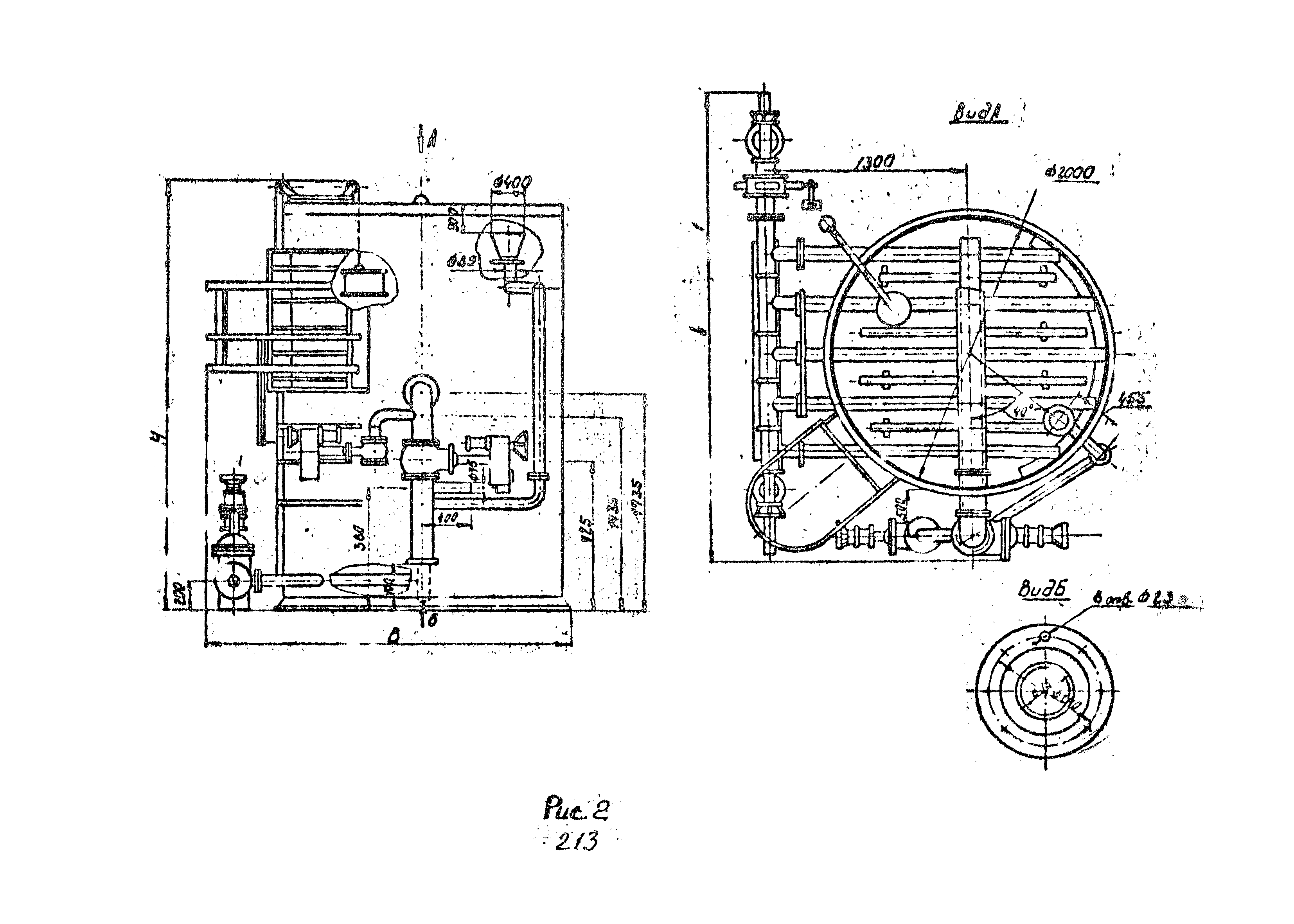
Водогрязеотделители
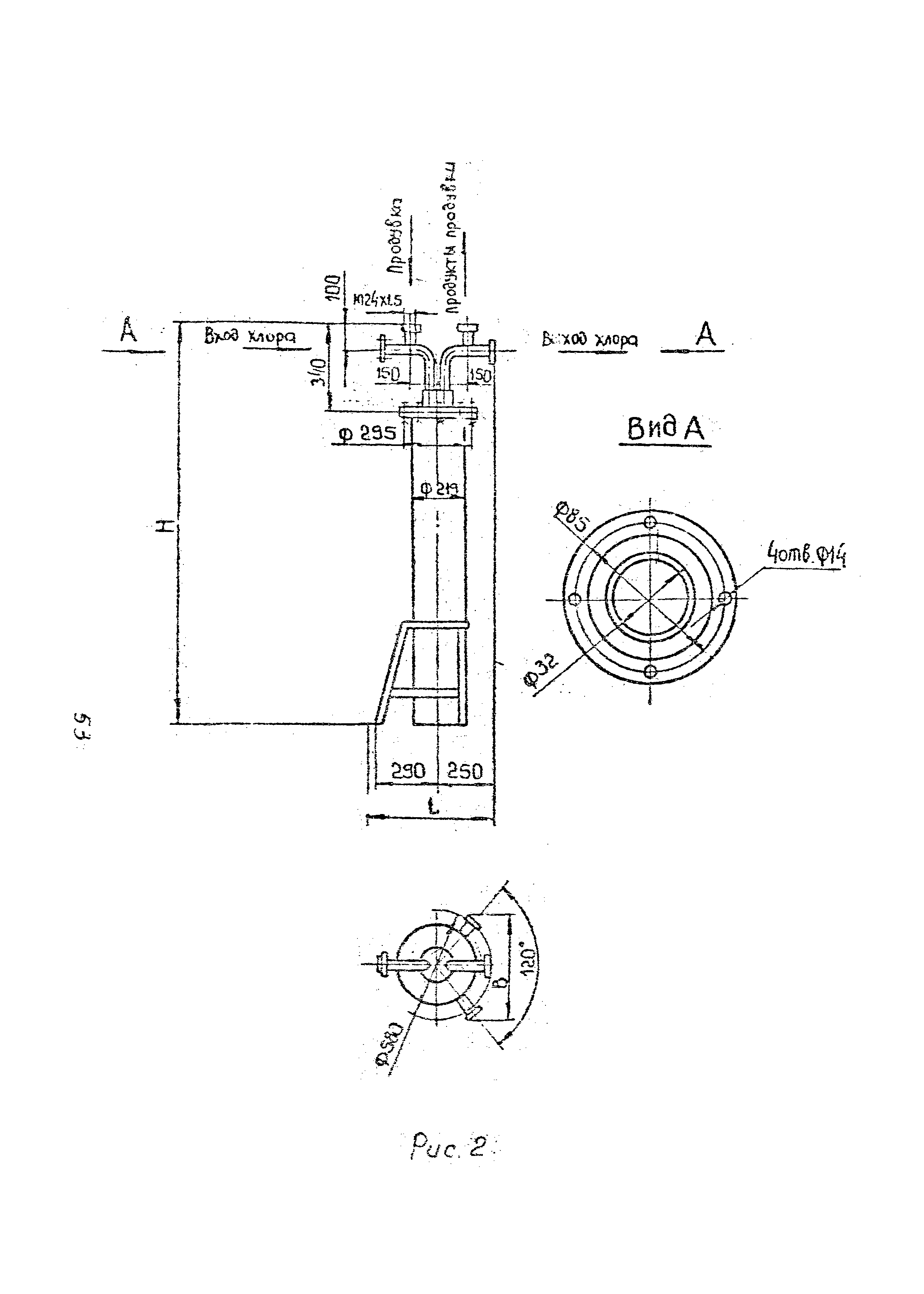
Грязевики для хлора
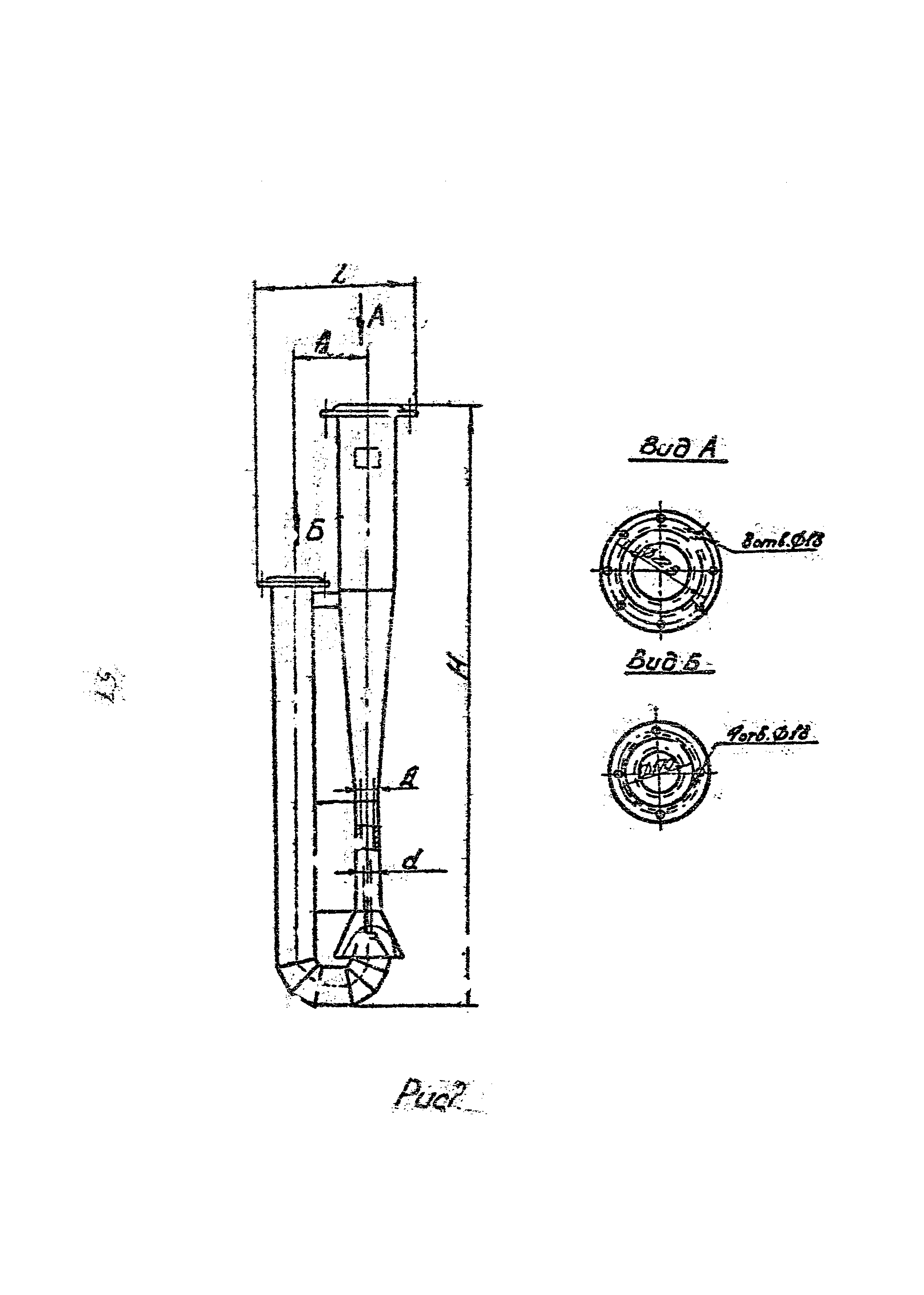
Гидроэлеваторы
Головка под электропривод
Деталь ввода реагента
Дроссель дисковый
Диафрагмы сегментные
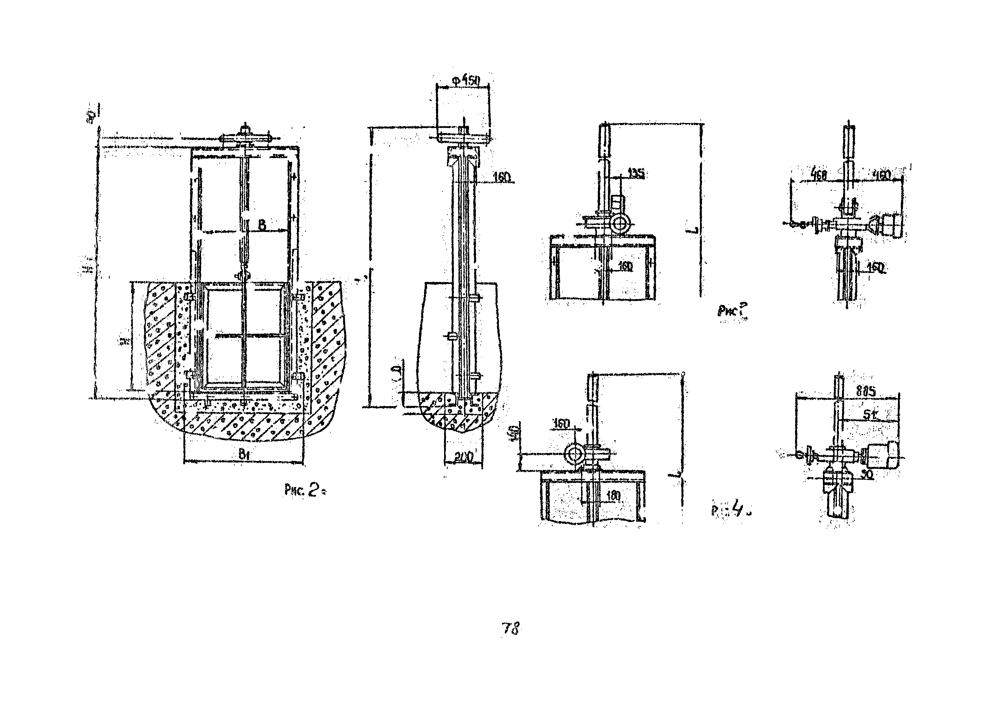
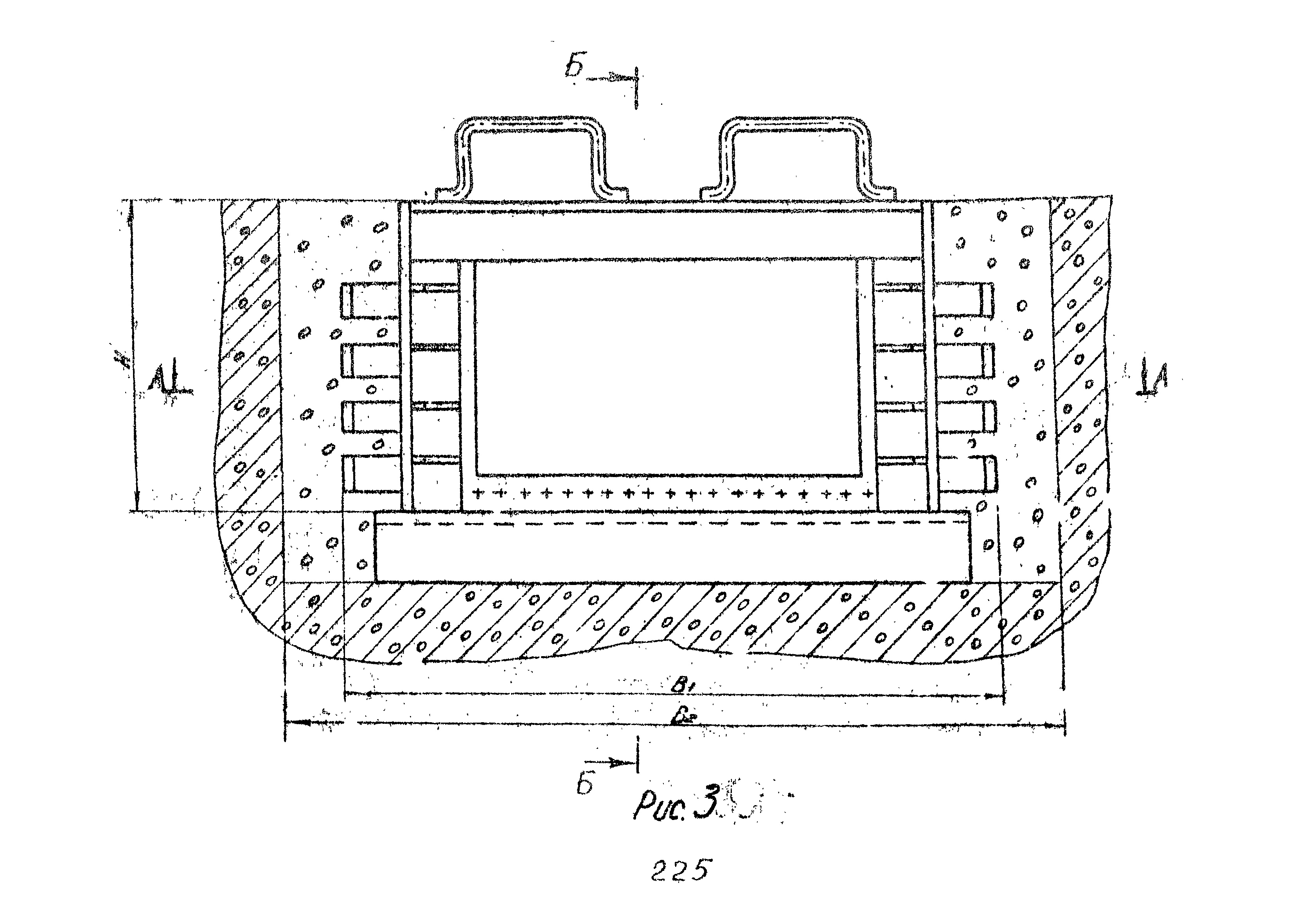
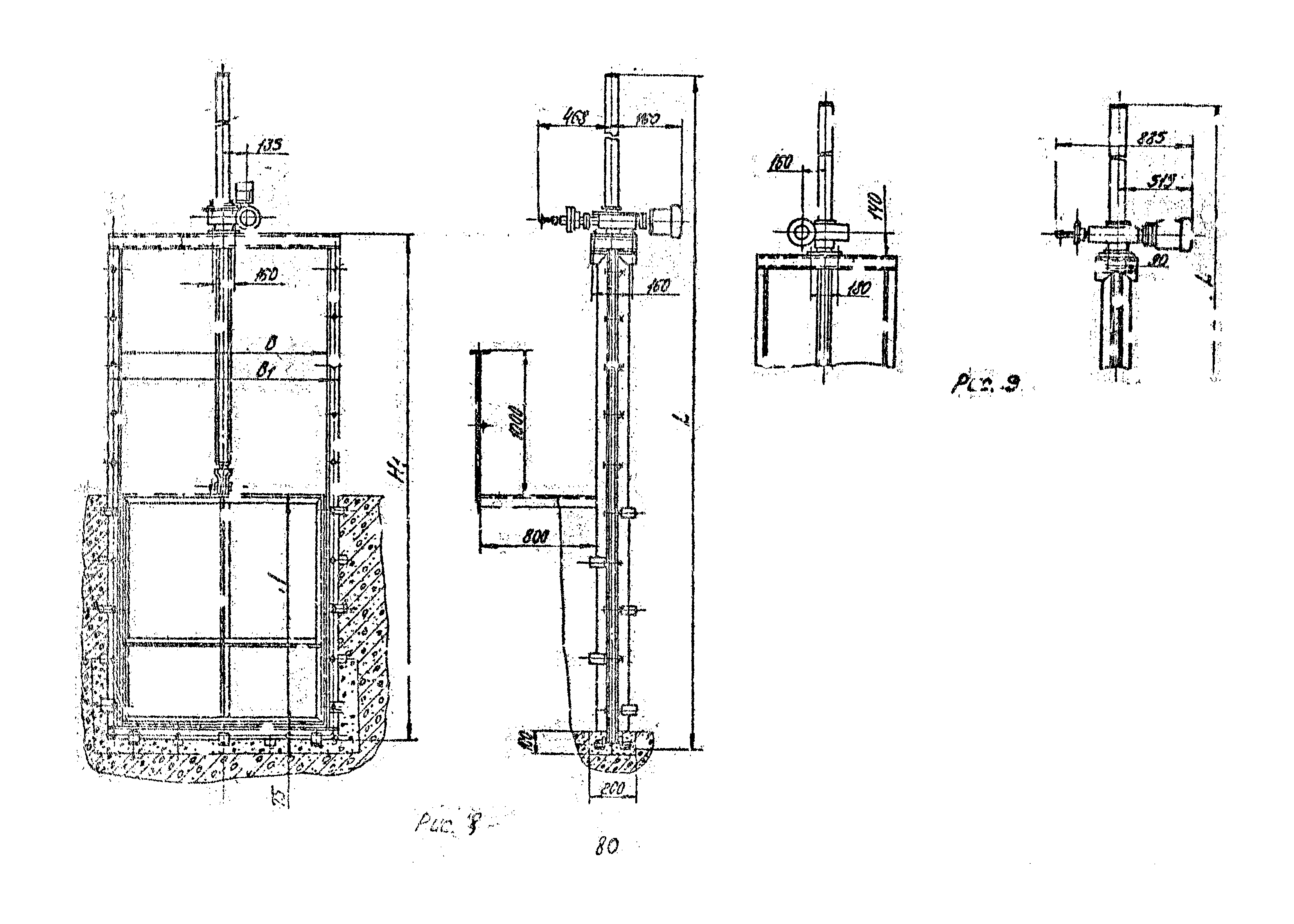
Затворы щитовые
Затвор щитовой аварийный
Затворы щитовые
Затвор донного выпуска
Затвор четырехсекционный
Затворы плоские регулирующие .с водосливом
Затворы плоские глубинные
Дозатор 10% хлорного железа
Измеритель расхода избыточного ила
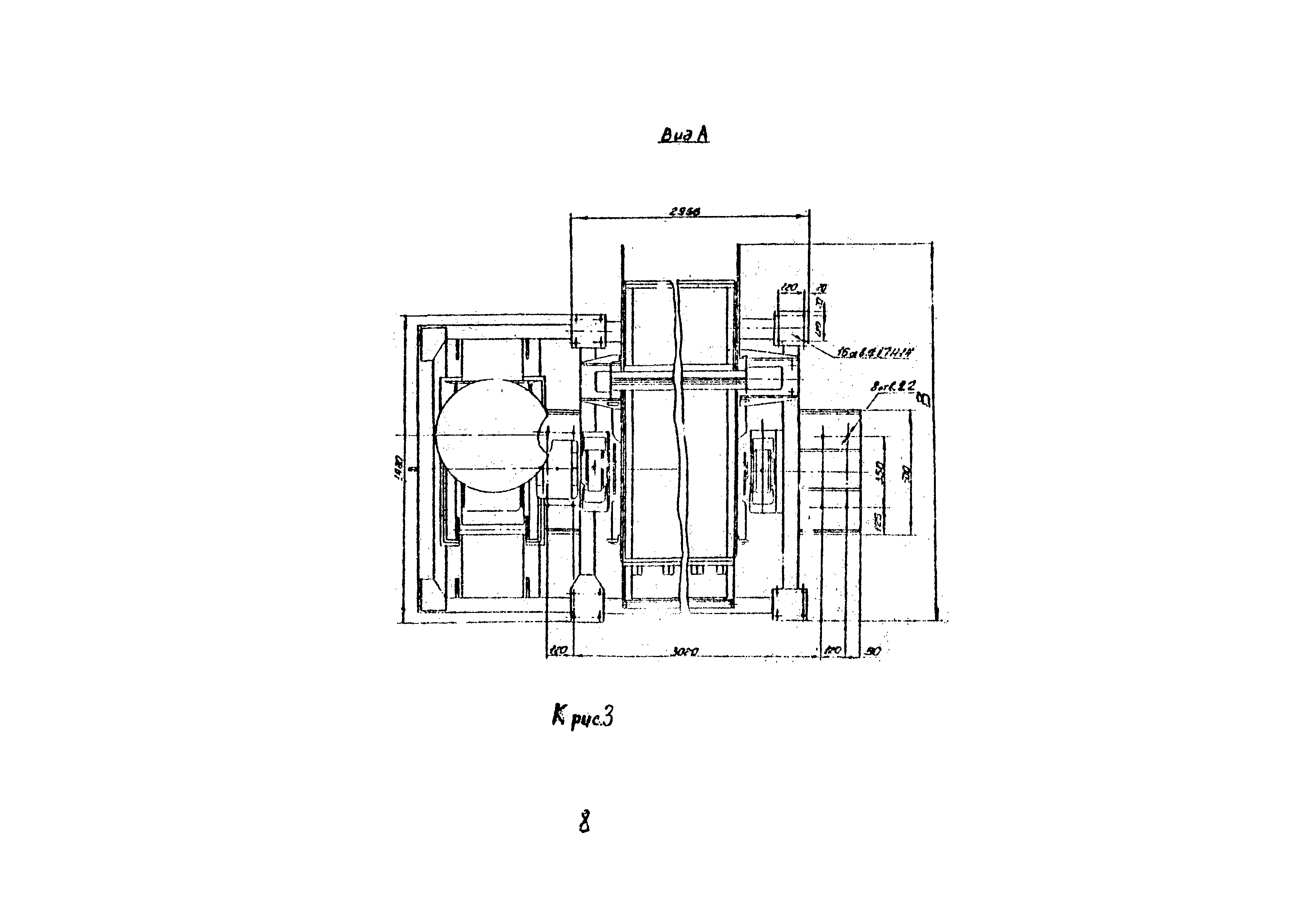
Илоскреб вторичных прямоугольных отстойников
Колпаки газовые
Контейнеры герметические для отбросов ‘
Корыто дырчатое
Колонки с ручным приводом
Колонки с электроприводом
Колонка
Контейнер для отходов известогашения
Компенсаторы сальниковые
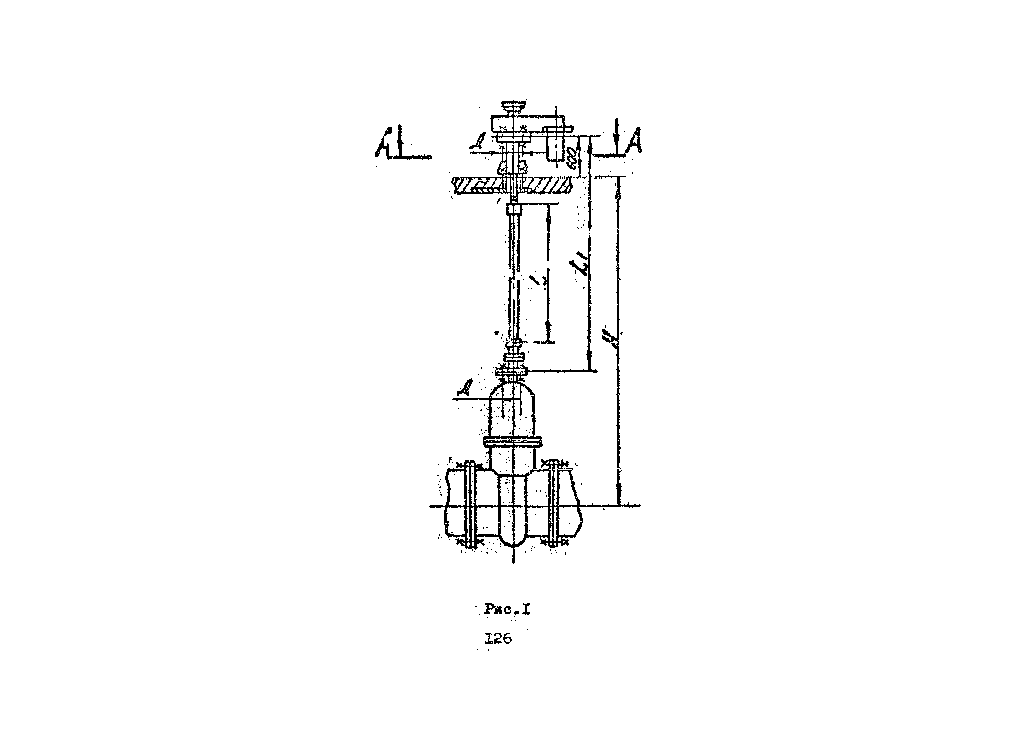
Клапан впуска и выпуска воздуха
Клапан донного выпуска
Клапан донный с ручным приводом
Контейнер
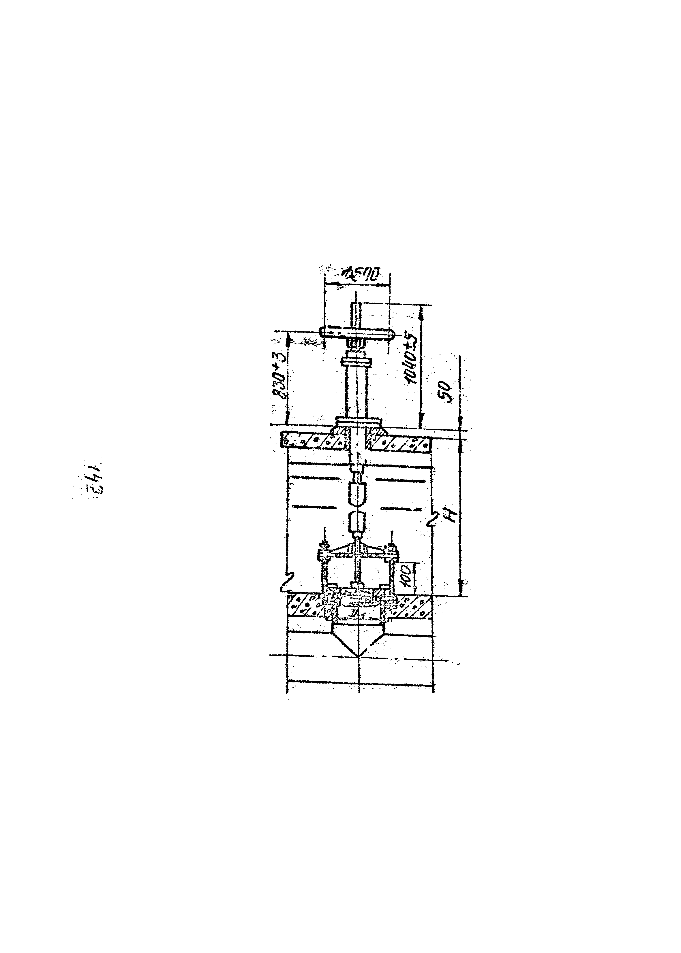
Камера смешения
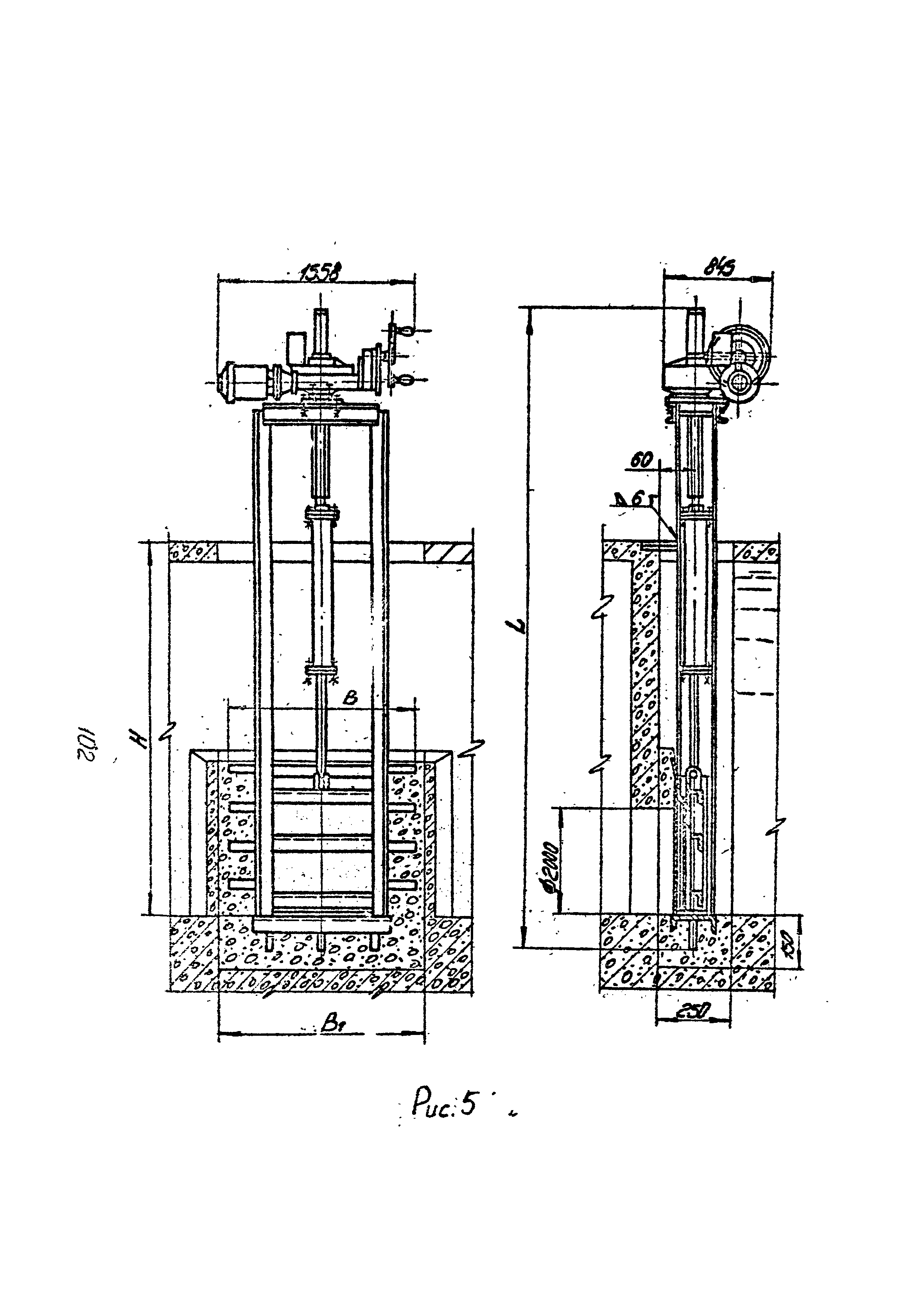
Механизм скребковый
Мерник раствора хлорного железа
Мешалка 30 % известкового теста
Мешалка известкового молока
Механизм сбрасывания
Оросители
Подставка для хранения баллонов
Подставка под рабочие баллоны
Пробоотборник
Привода ручные
Процеживатель сточной жидкости
Регулятор-смеситель
Регулятор-смеситель осадка с реагентами
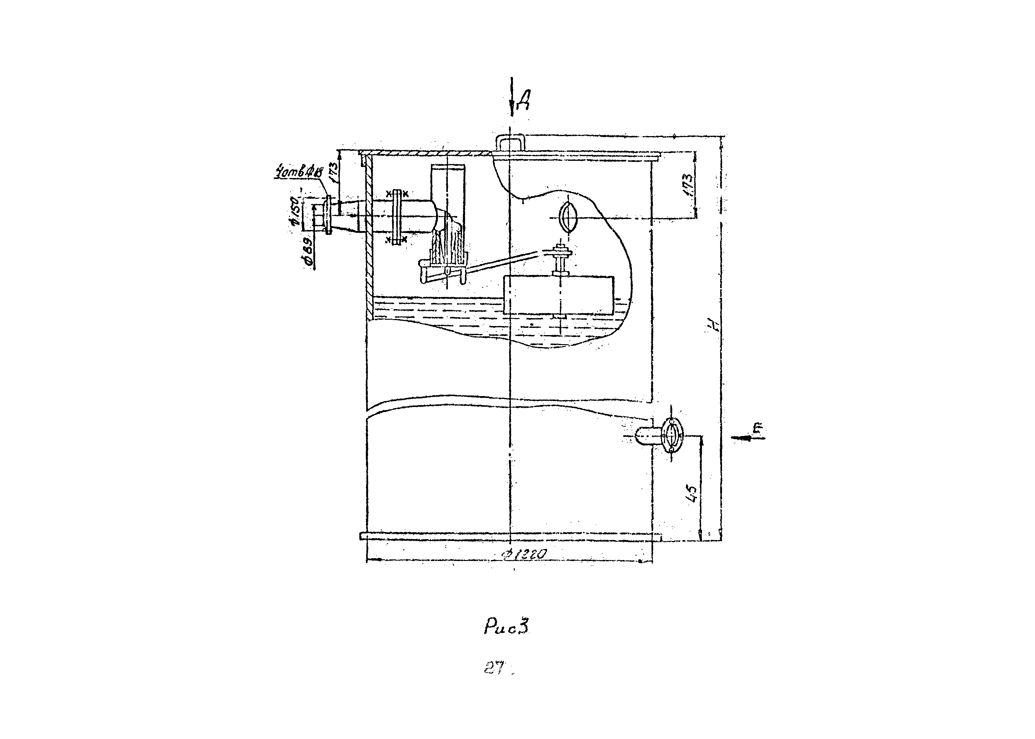
Сепаратор
Смеситель осадка с промывной водой
Траверса
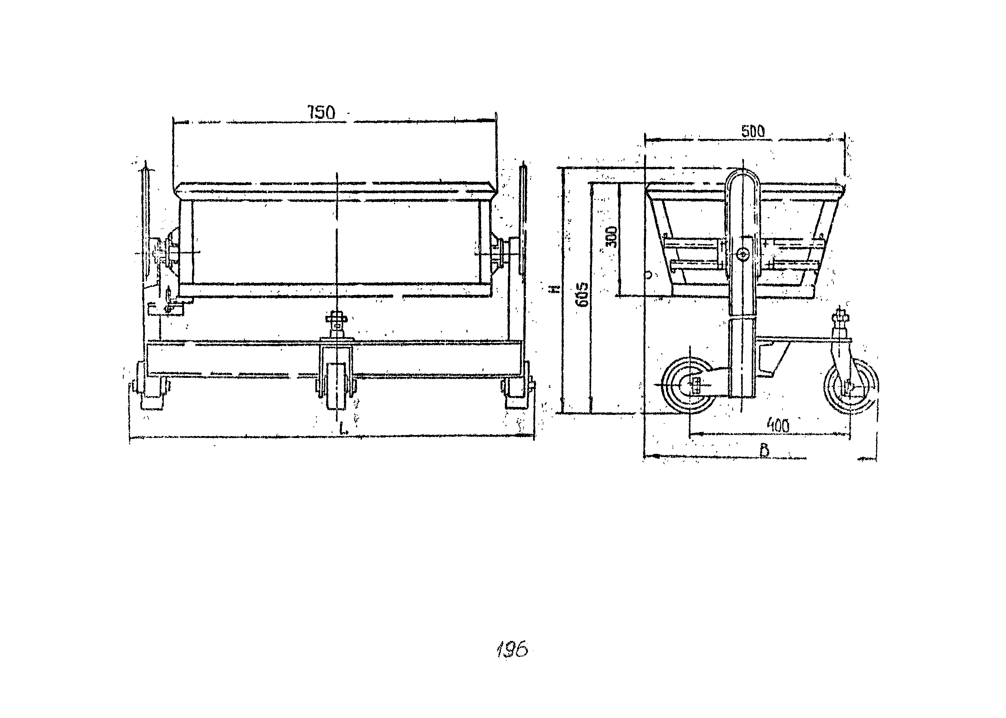
Тележка скребковая
Тележка для отходов извести
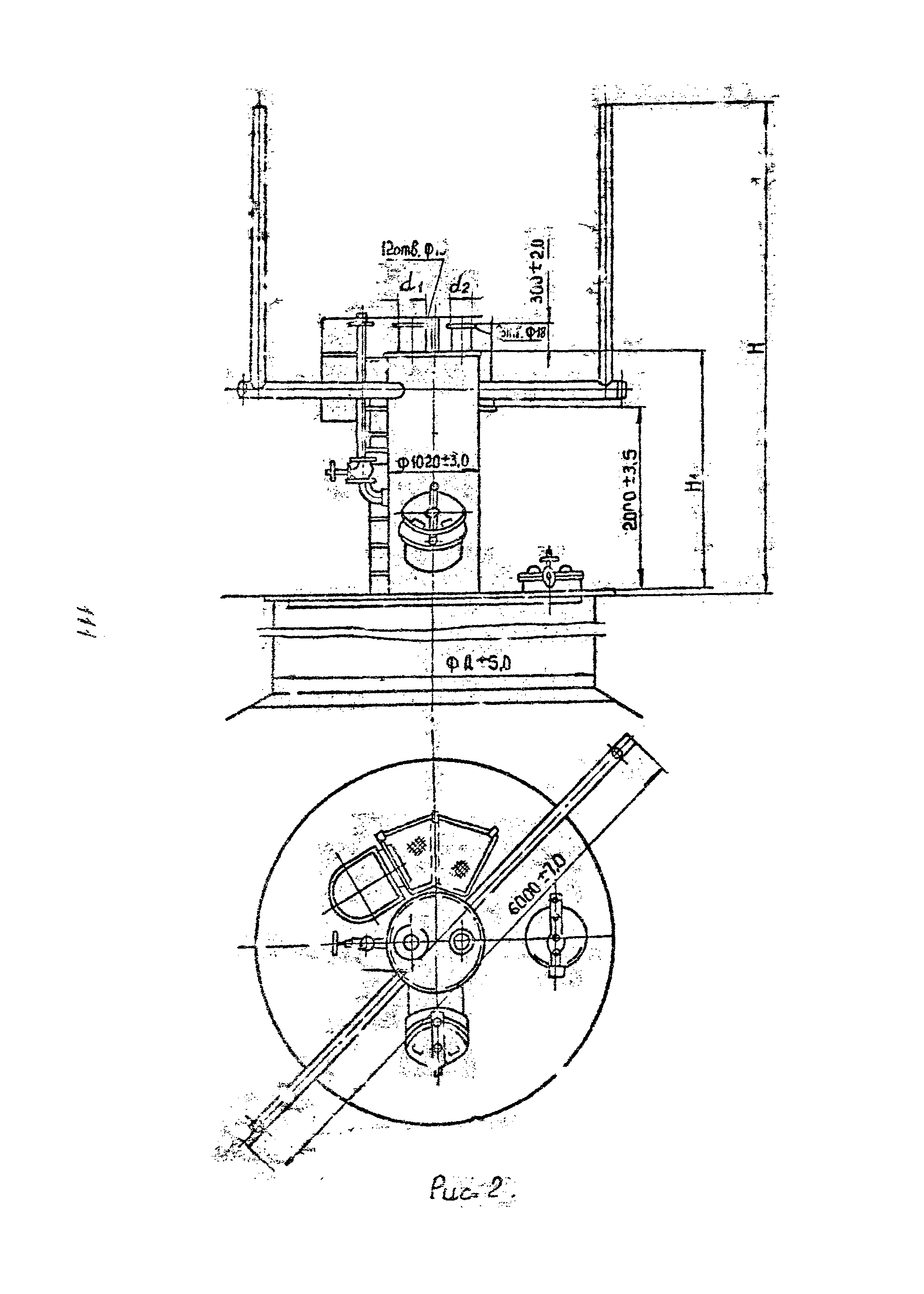
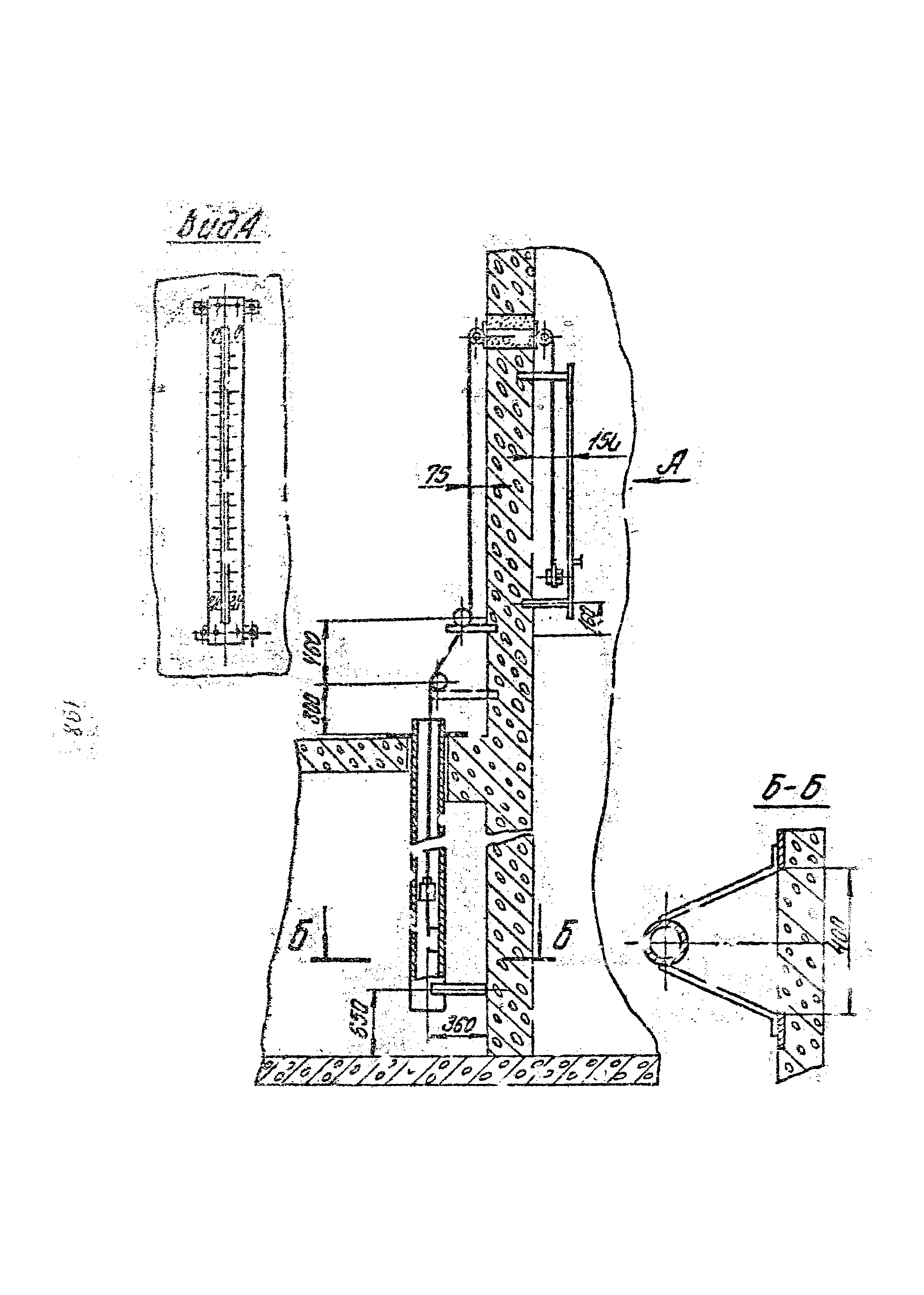
Указатель уровня жидкости в резервуаре
Устройство для удаления плавающих веществ
Устройство для удаления илоной воды
Устройство для отбора мазута
Установка сигнализатора уровня осадка с фотосопротивлением
Фильтр песчаный
Шандор
Шибер реечный
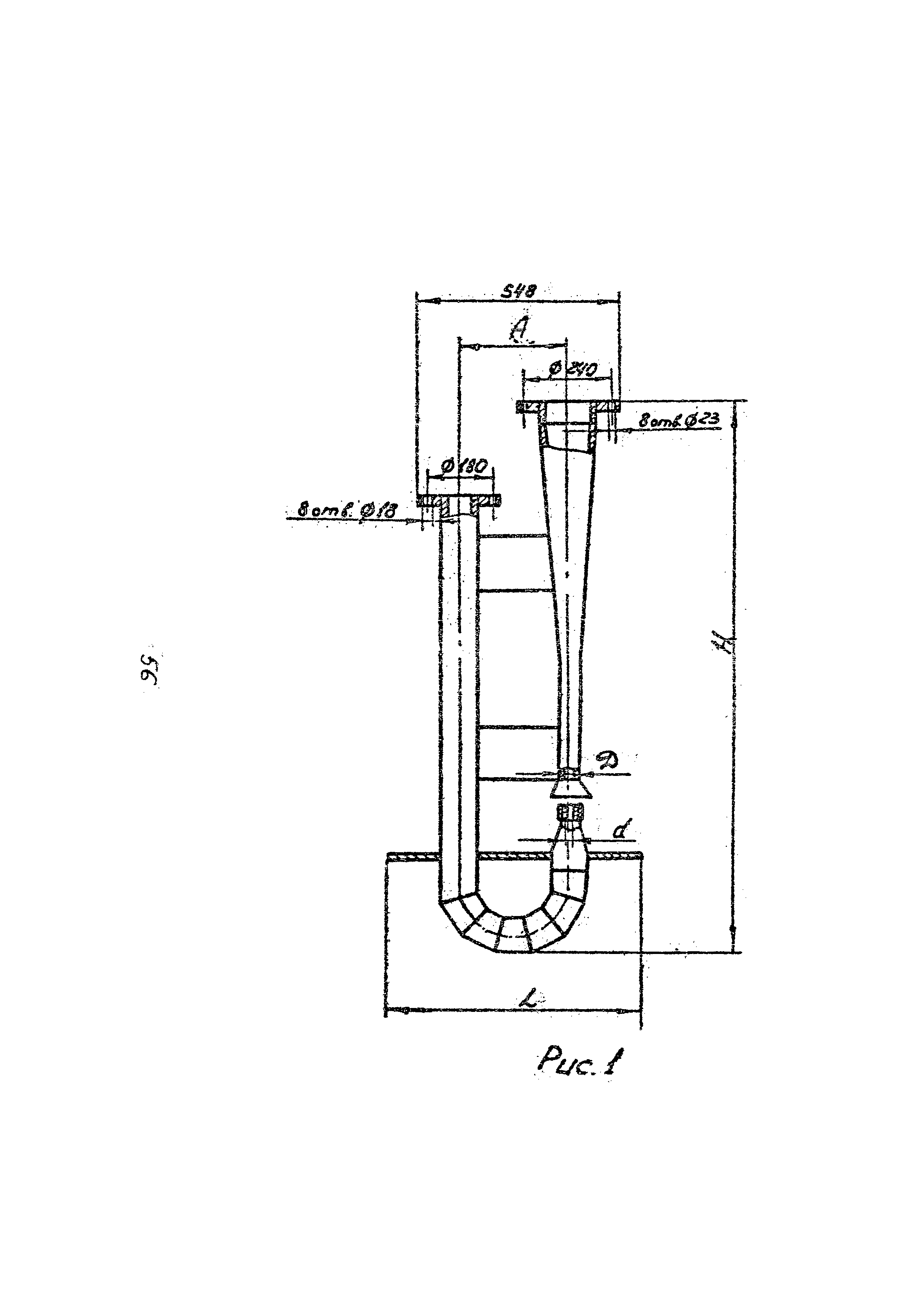
Эрлифт
Электропривод специальный
Разработан: НИКТИ ГХ Минжилкомхоза УССР
Утверждён: Министерство жилищно-коммунального хозяйства УССР