Скачать Каталог унифицированного оборудования для строящихся объектов водоснабжения

Дата актуализации: 01.01.2021

Каталог унифицированного оборудования для строящихся объектов водоснабжения

Статус:справочные материалы, мп, тпр
Название рус.:Каталог унифицированного оборудования для строящихся объектов водоснабжения
Дата добавления в базу:01.10.2014
Дата актуализации:01.01.2021
Область применения:Каталог содержит основные сведения по нестандартизированному оборудованию, применяемому для комплектаций строящихся объектов водоснабжения
Оглавление:Баки аккумуляторные
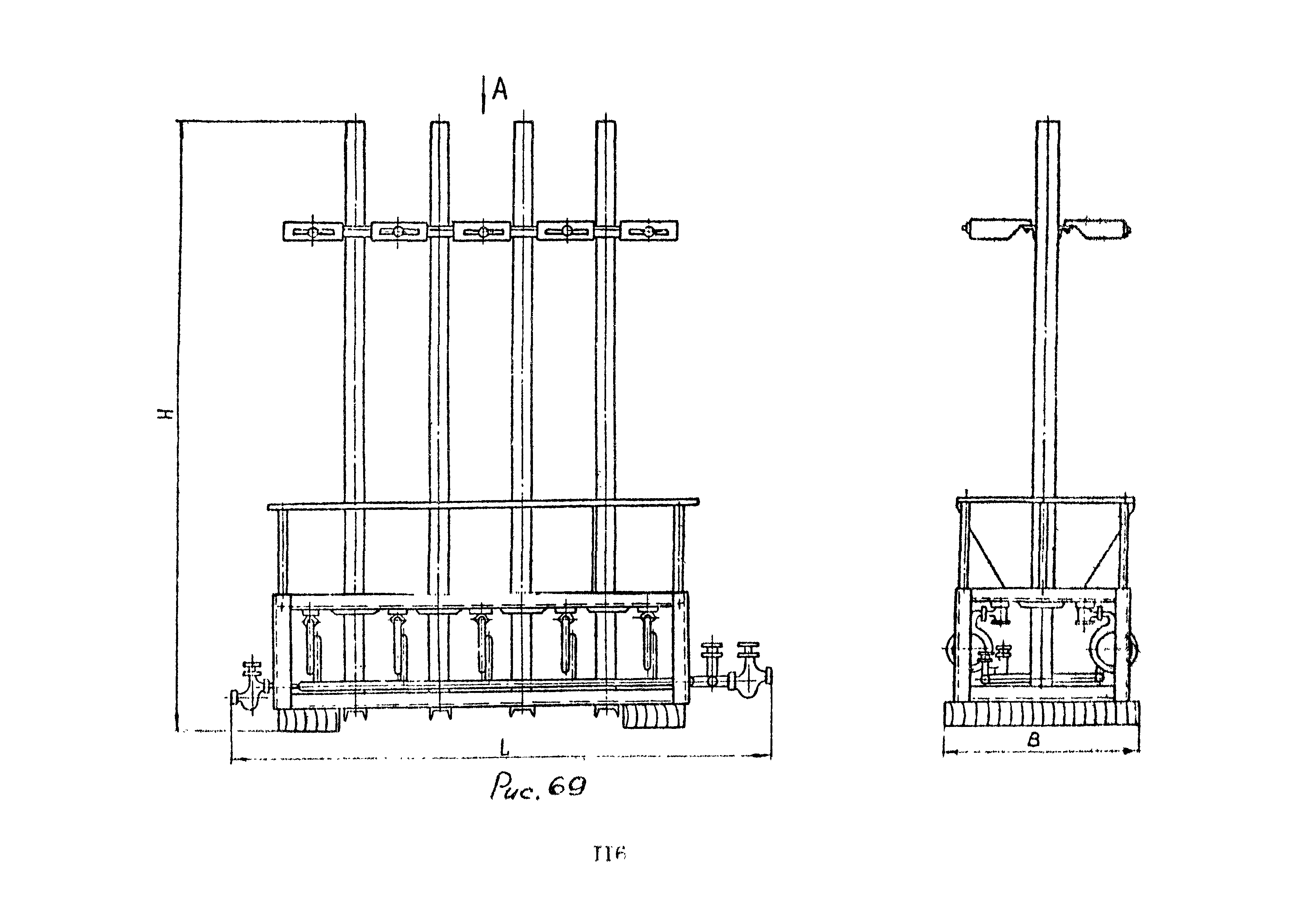
Баки гидроперегрузки
Бак циркуляционный
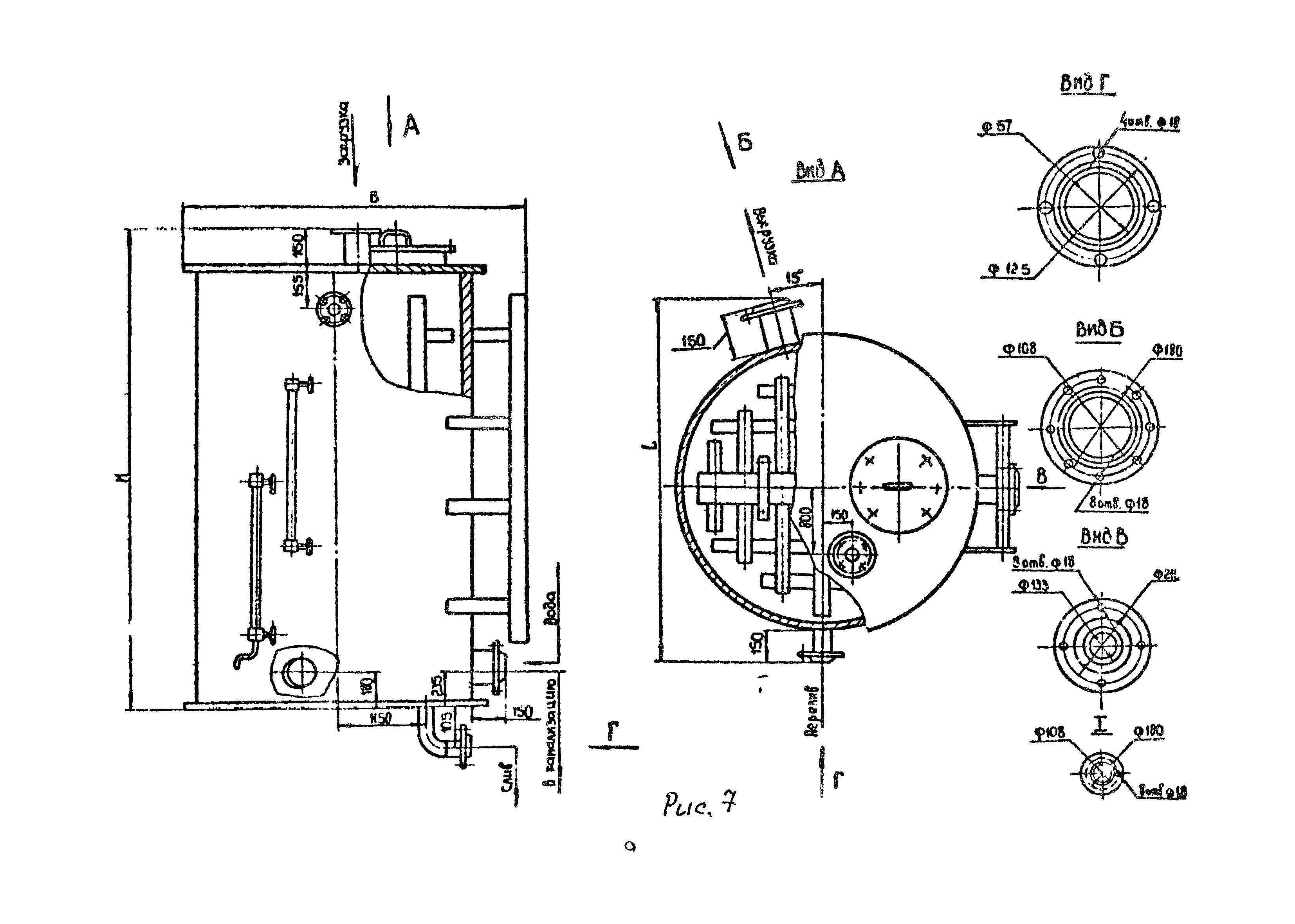
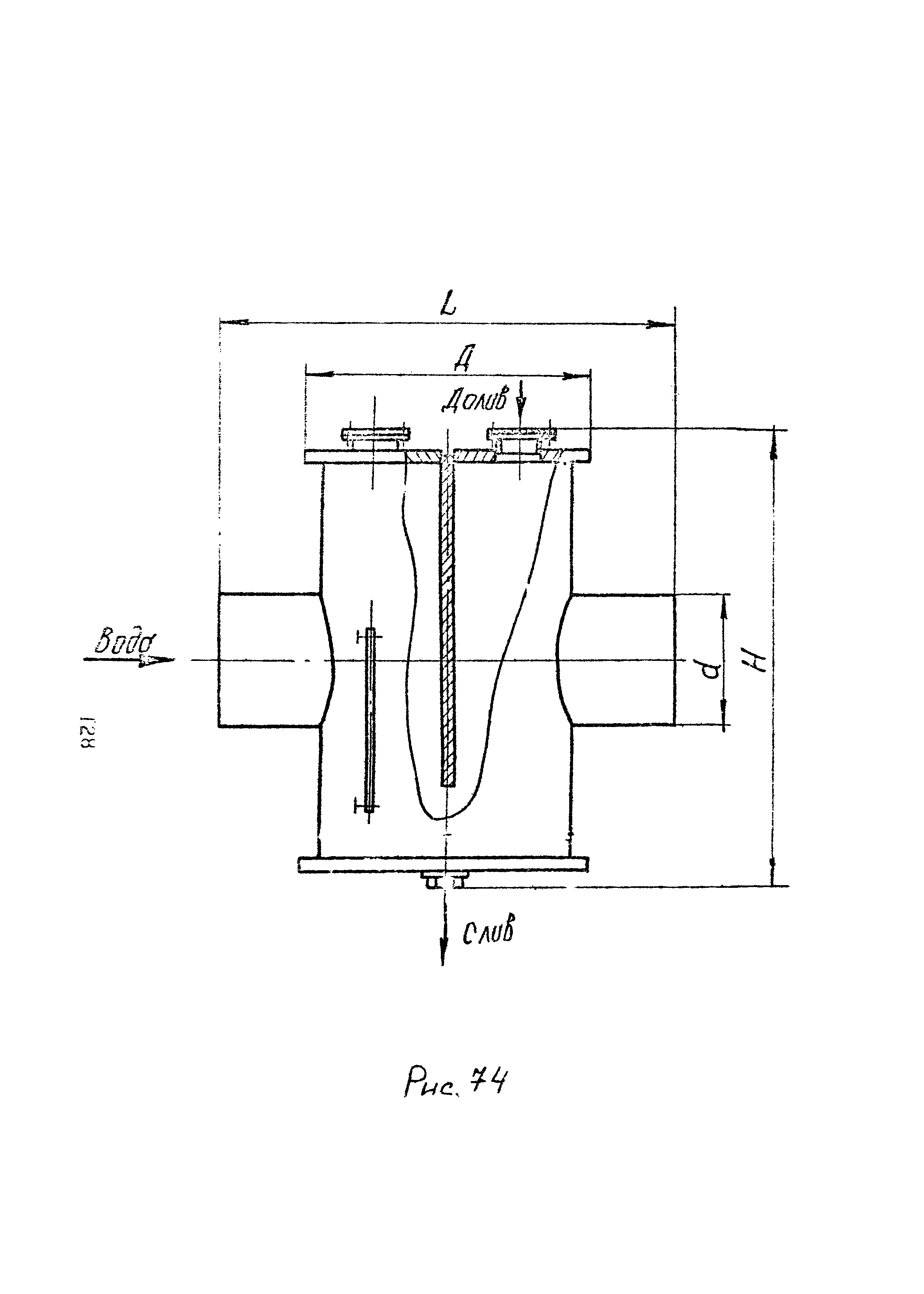
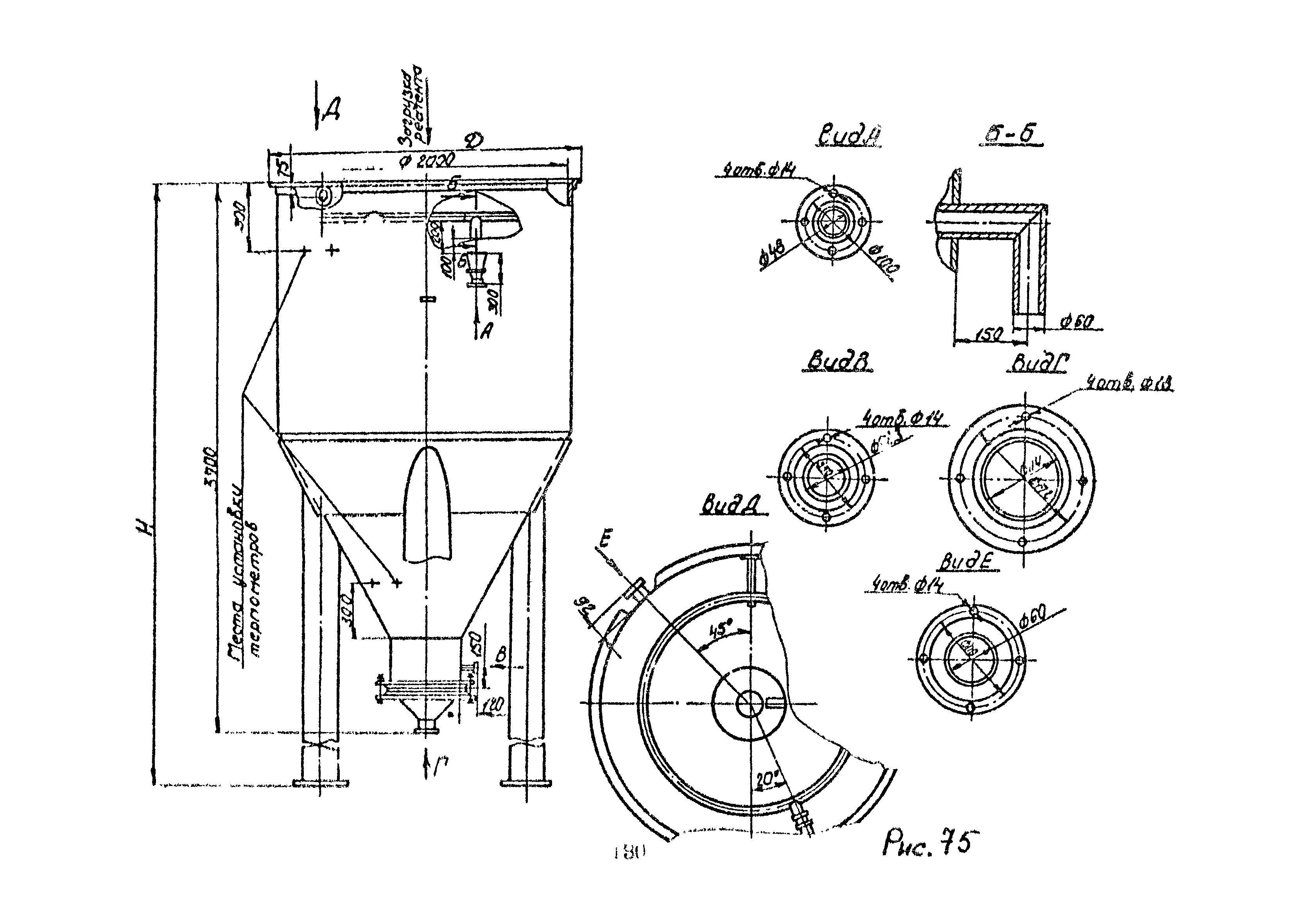
Бак раствора реагентов
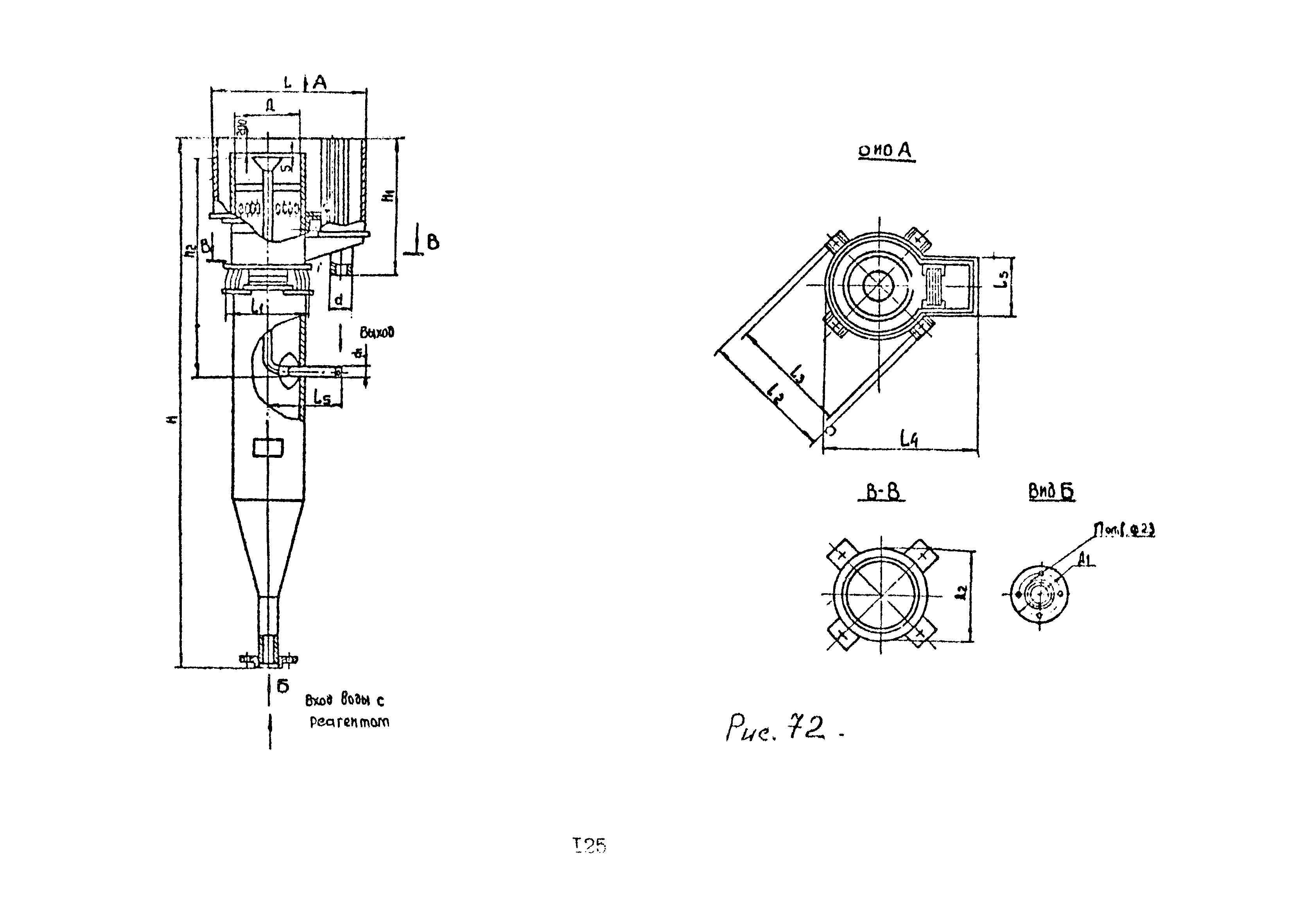
Бак растворный
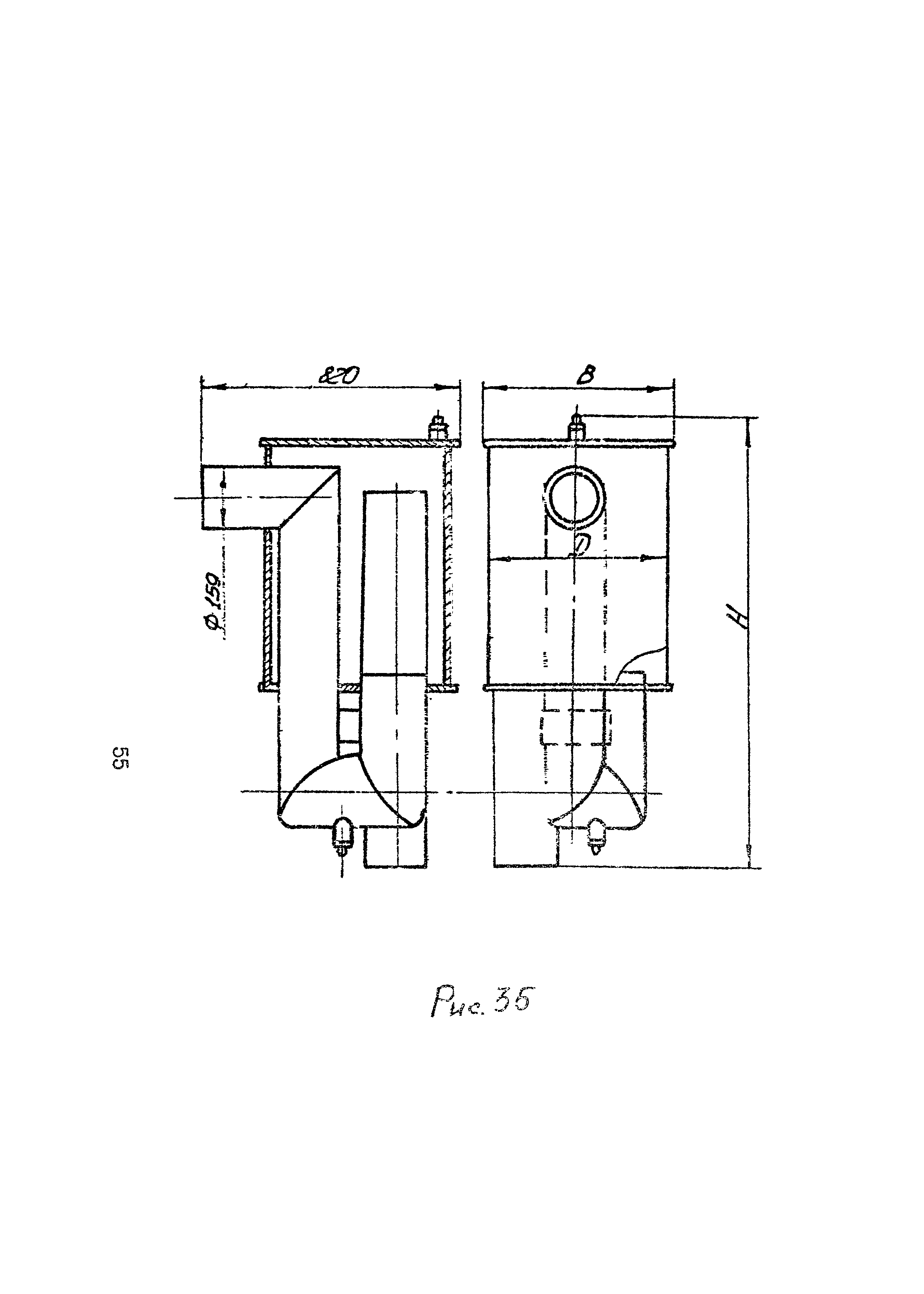
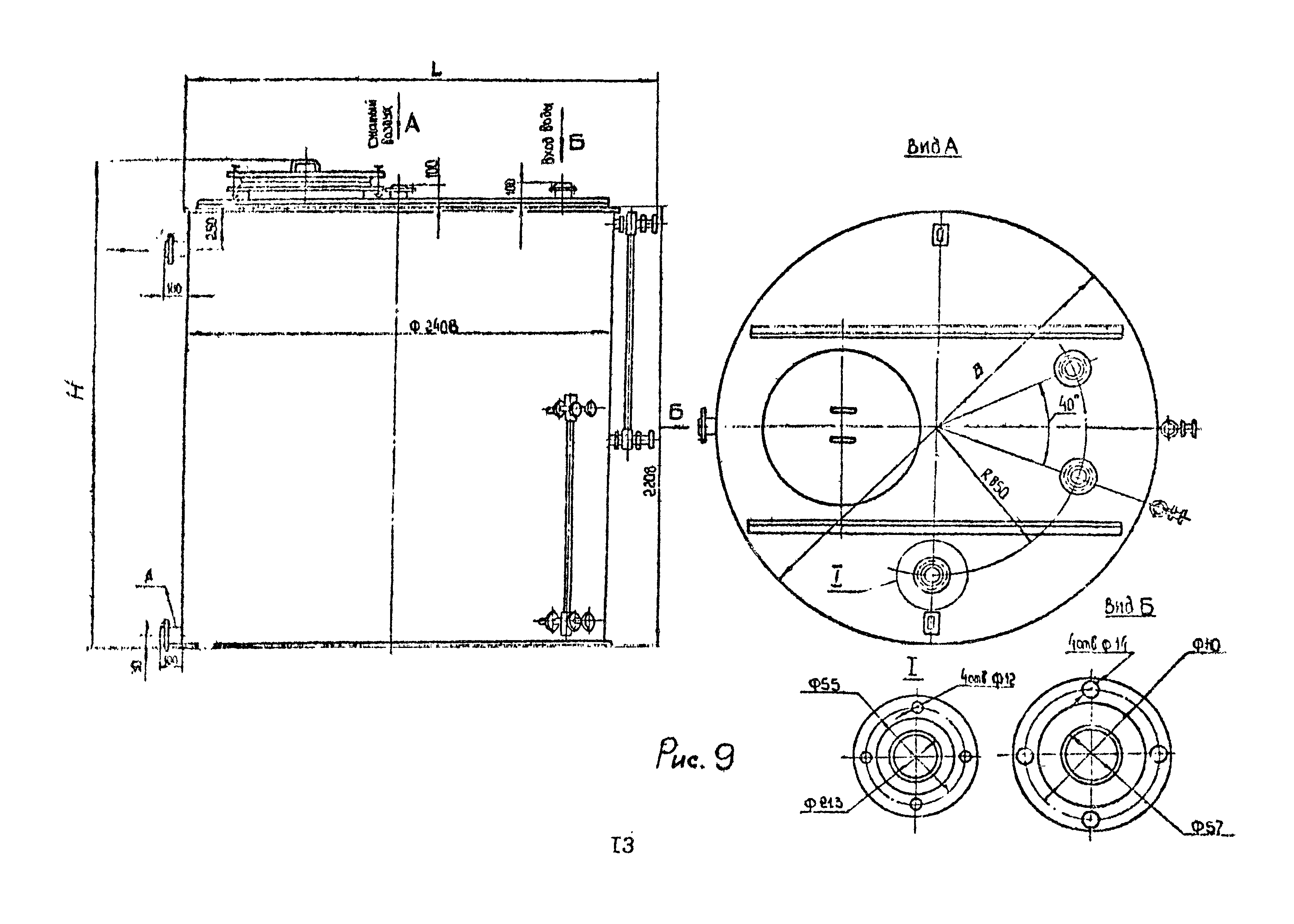
Бак затворный
Бак для перемешивателя
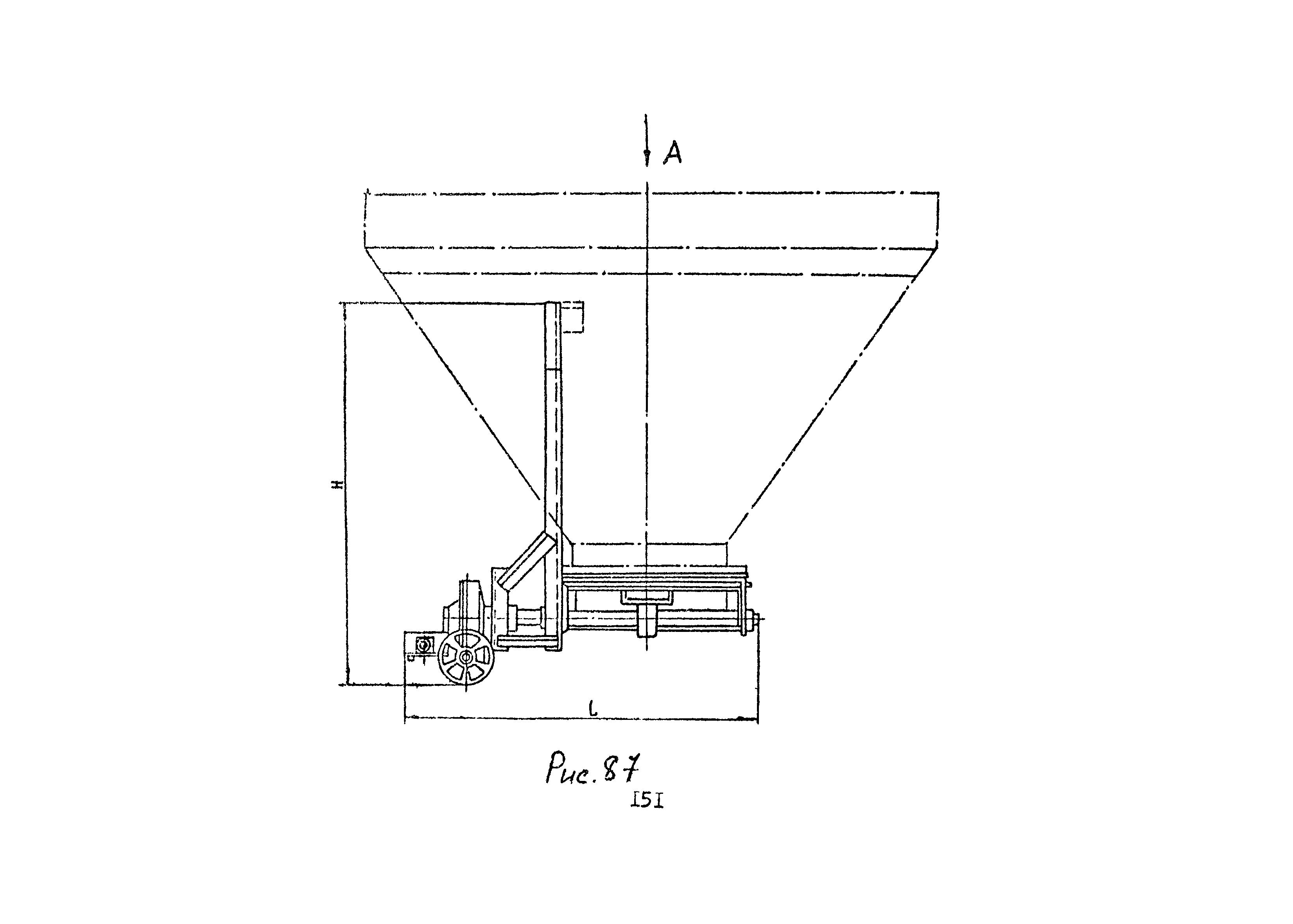
Бункер-питатель
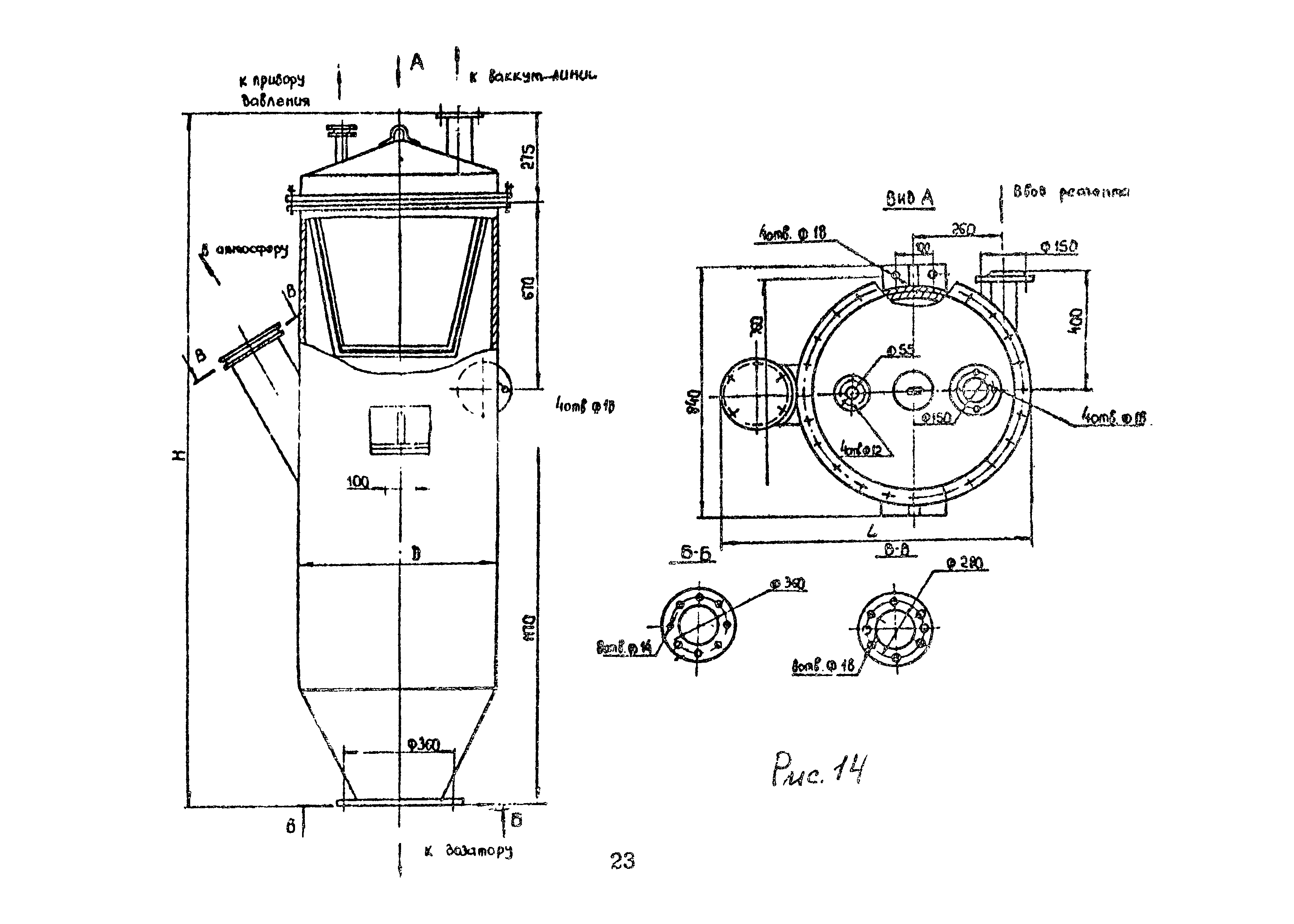
Вакуум-бункер
Вакуум-котел
Влагоотделитель
Вставки монтажные
Гаситель гидравлического удара автоматический
Грязевики для хлора
Гидропульт
Гидравлический классификатор
Дозаторы известкового молока
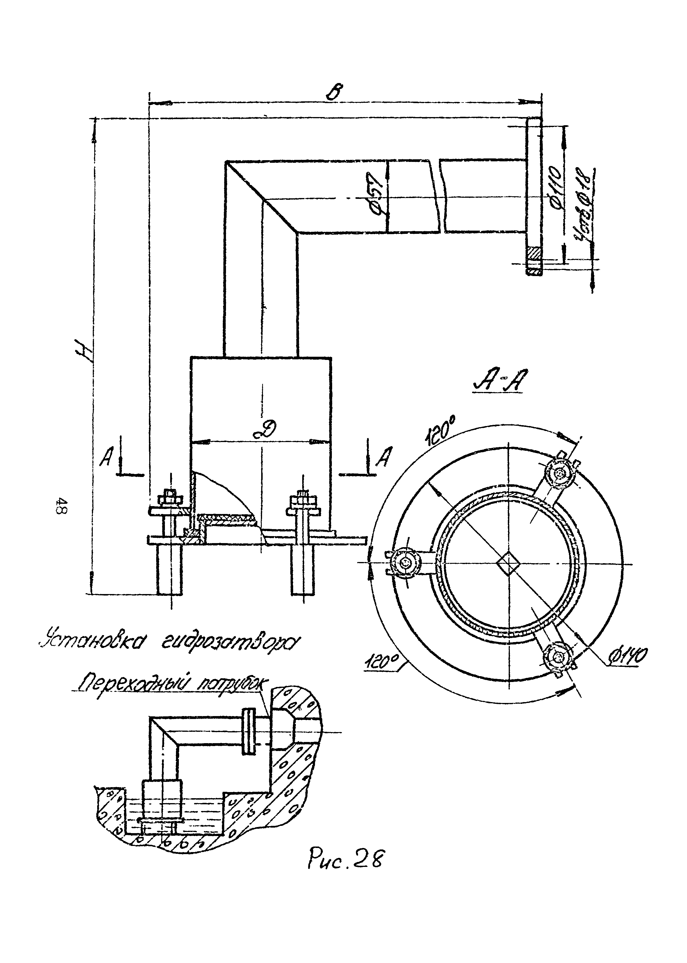
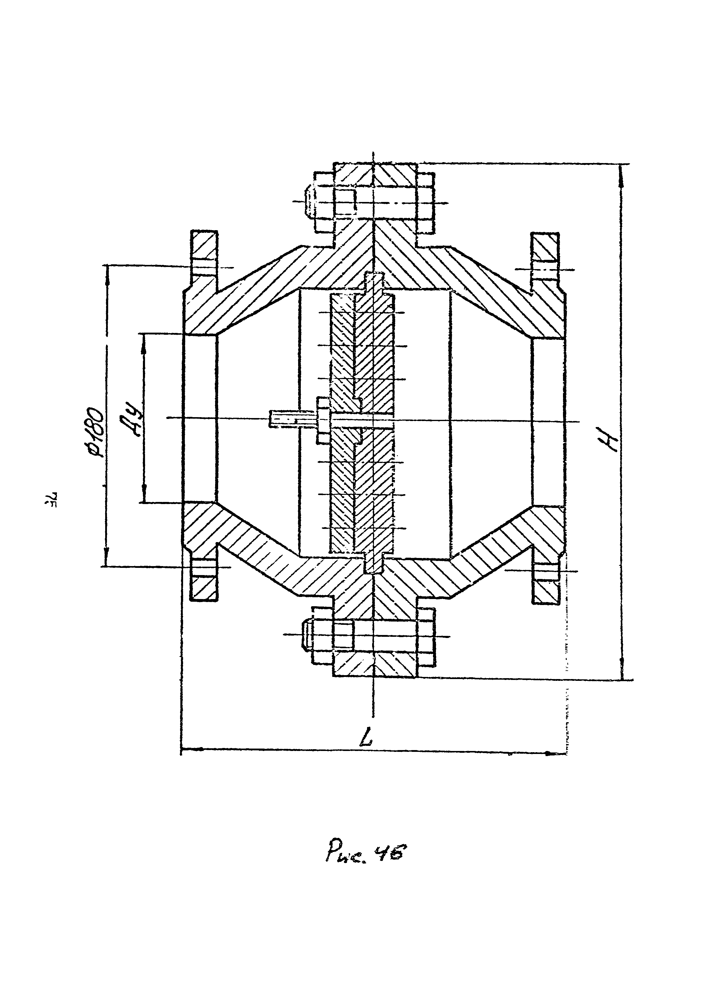
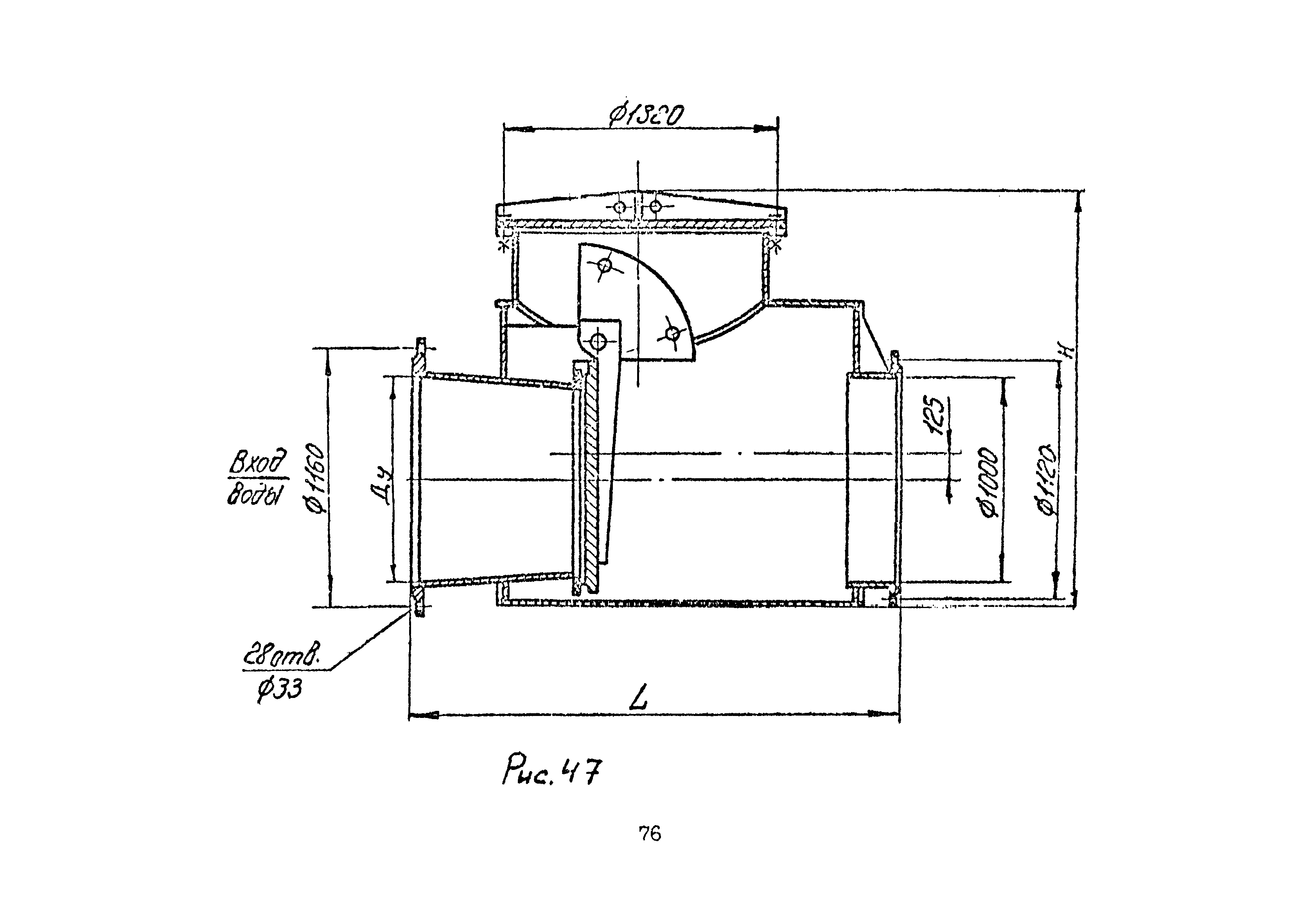
Затворы гидравлические
Захваты
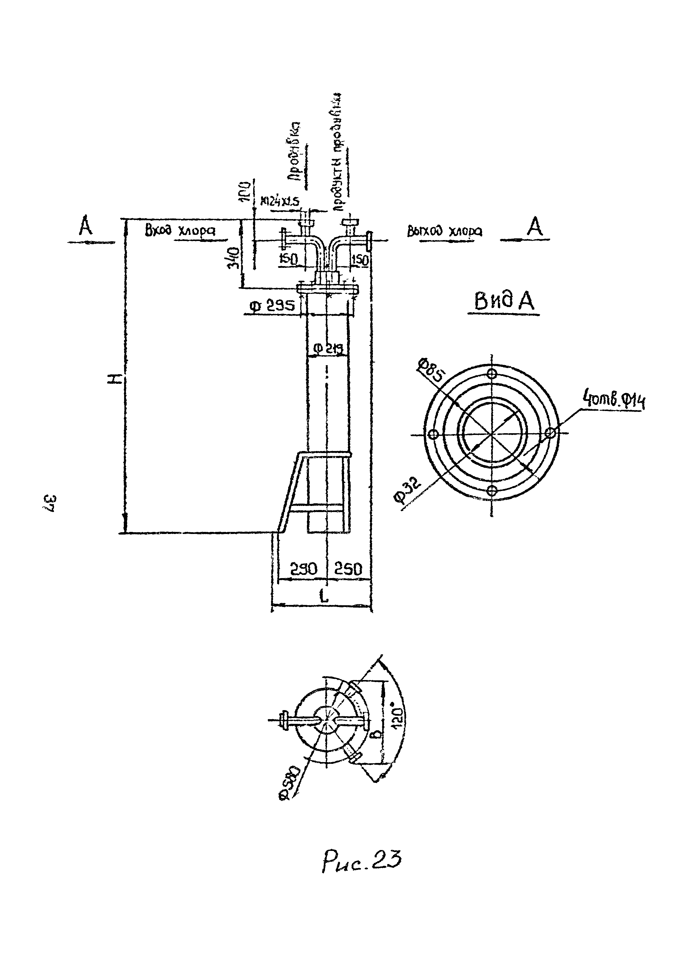
Испарители хлора
Испарители аммиака
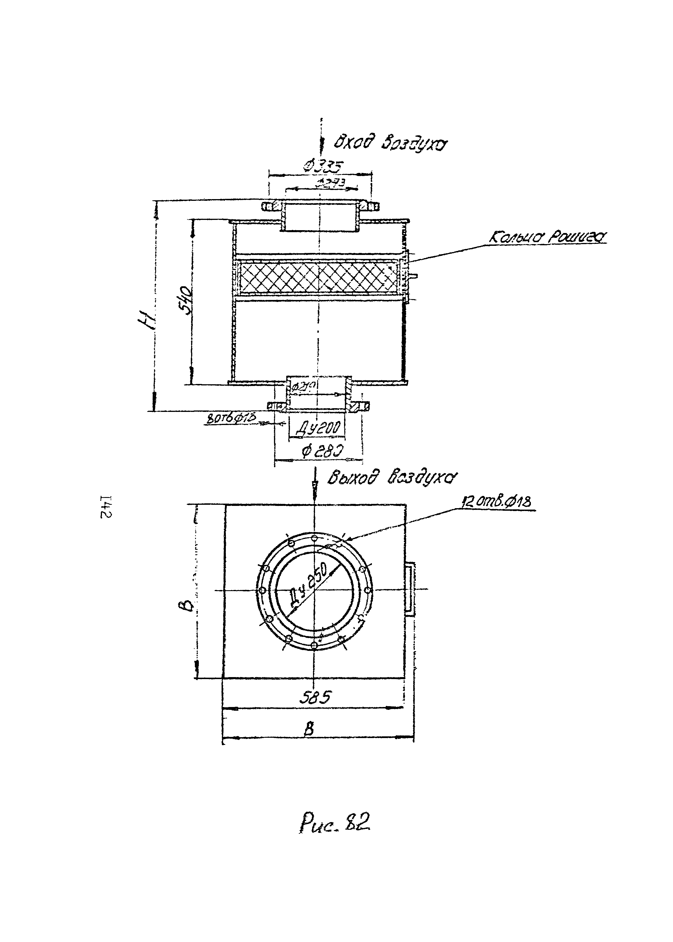
Колпаки вентиляционные
Колпаки воздушные
Клапан донный с электроприводом
Клапаны
Клапан-захлопка
Клапан-хлопушка
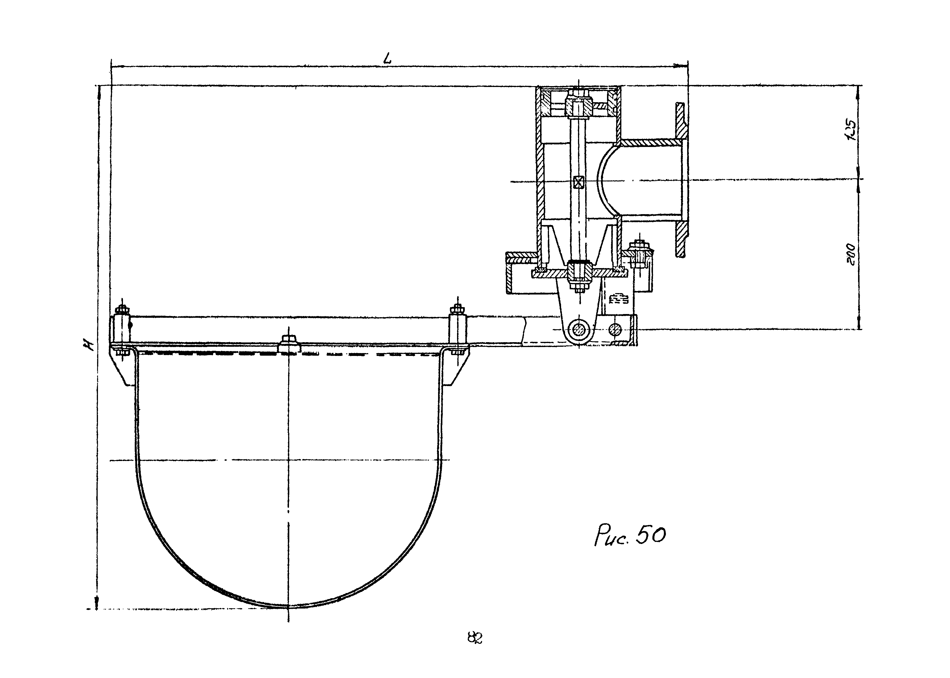
Клапан поплавковый
Клапан впуска и выпуска воздуха
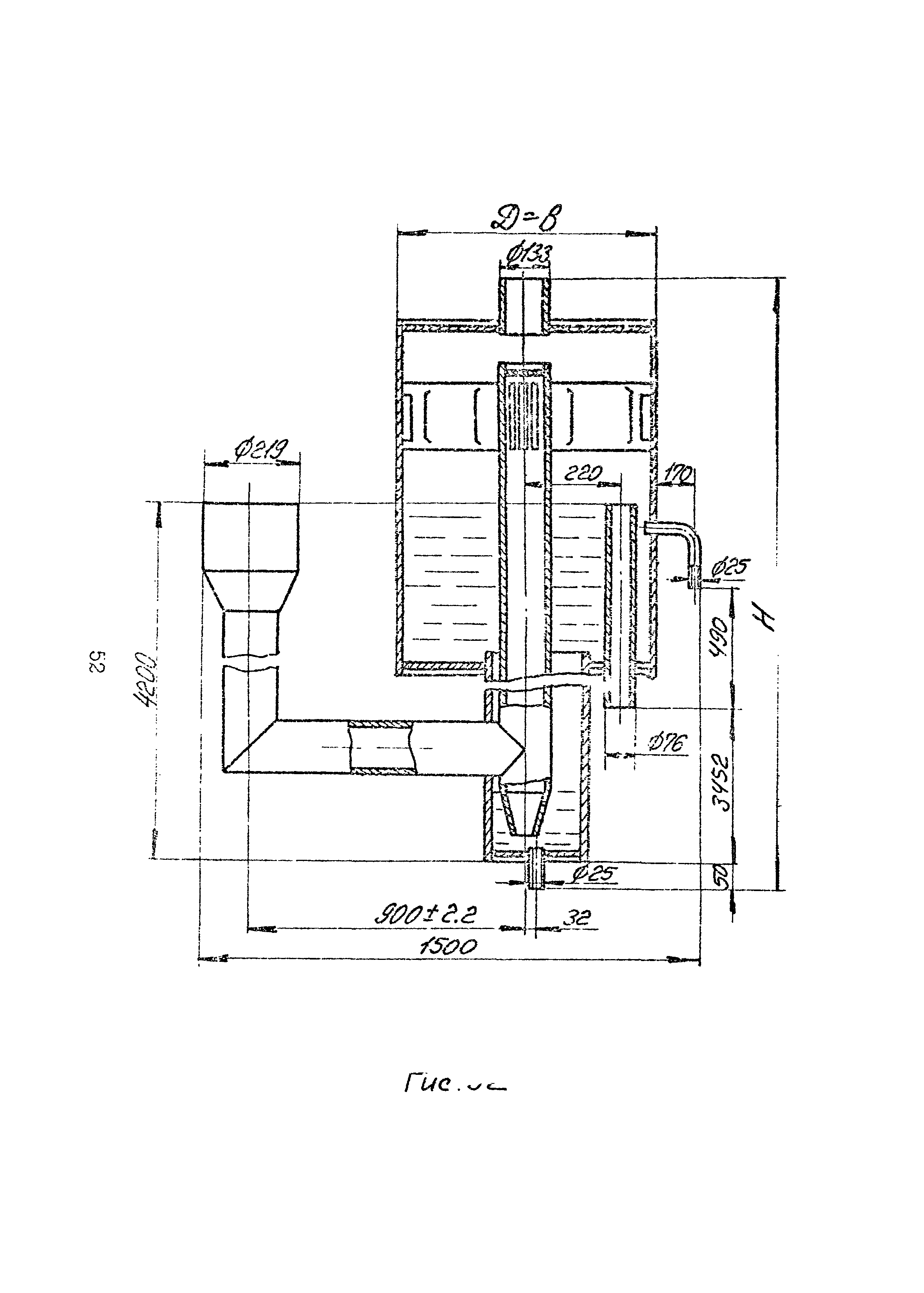
Колонка адсорбционная
Контейнер для отходов известегашения
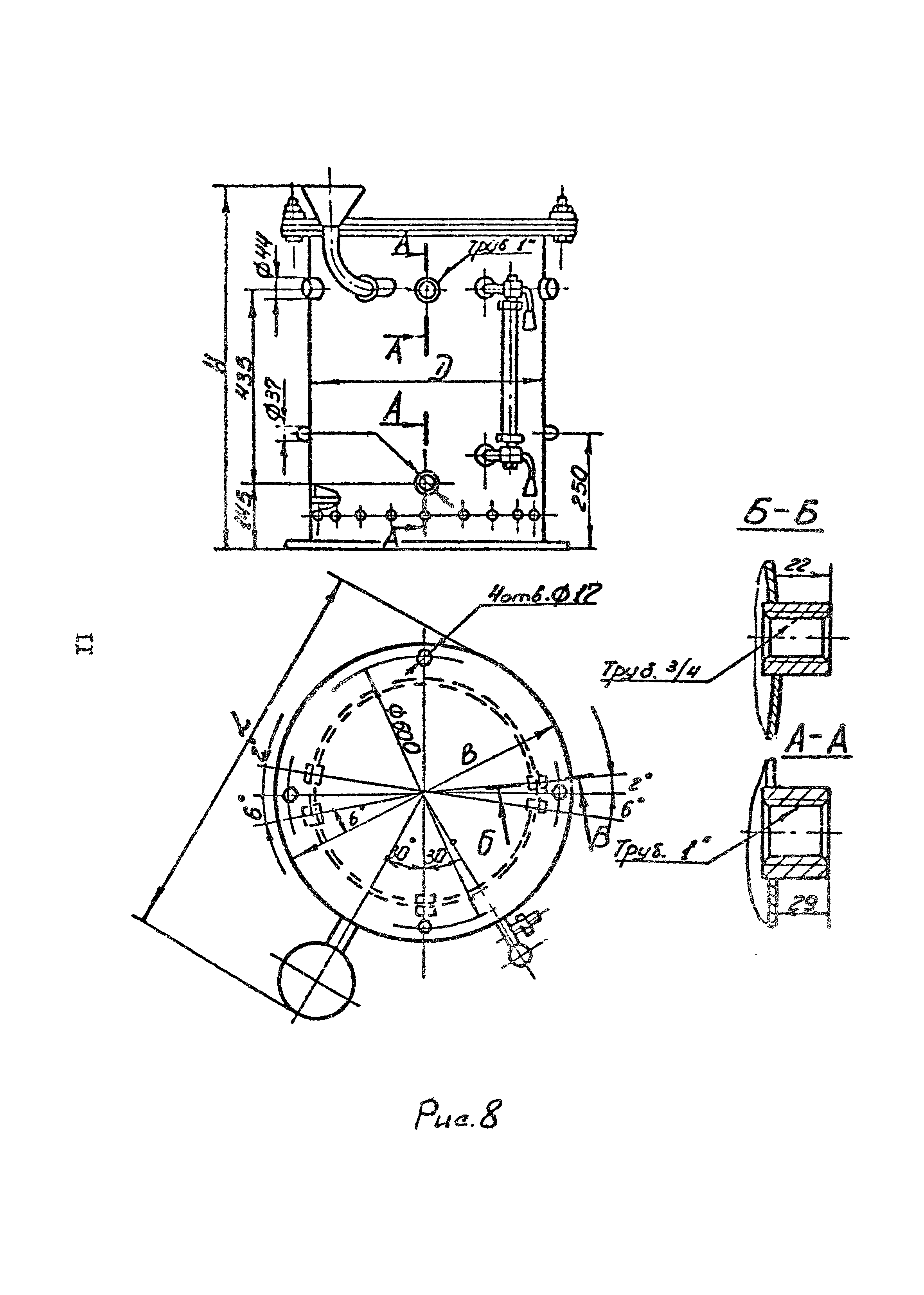
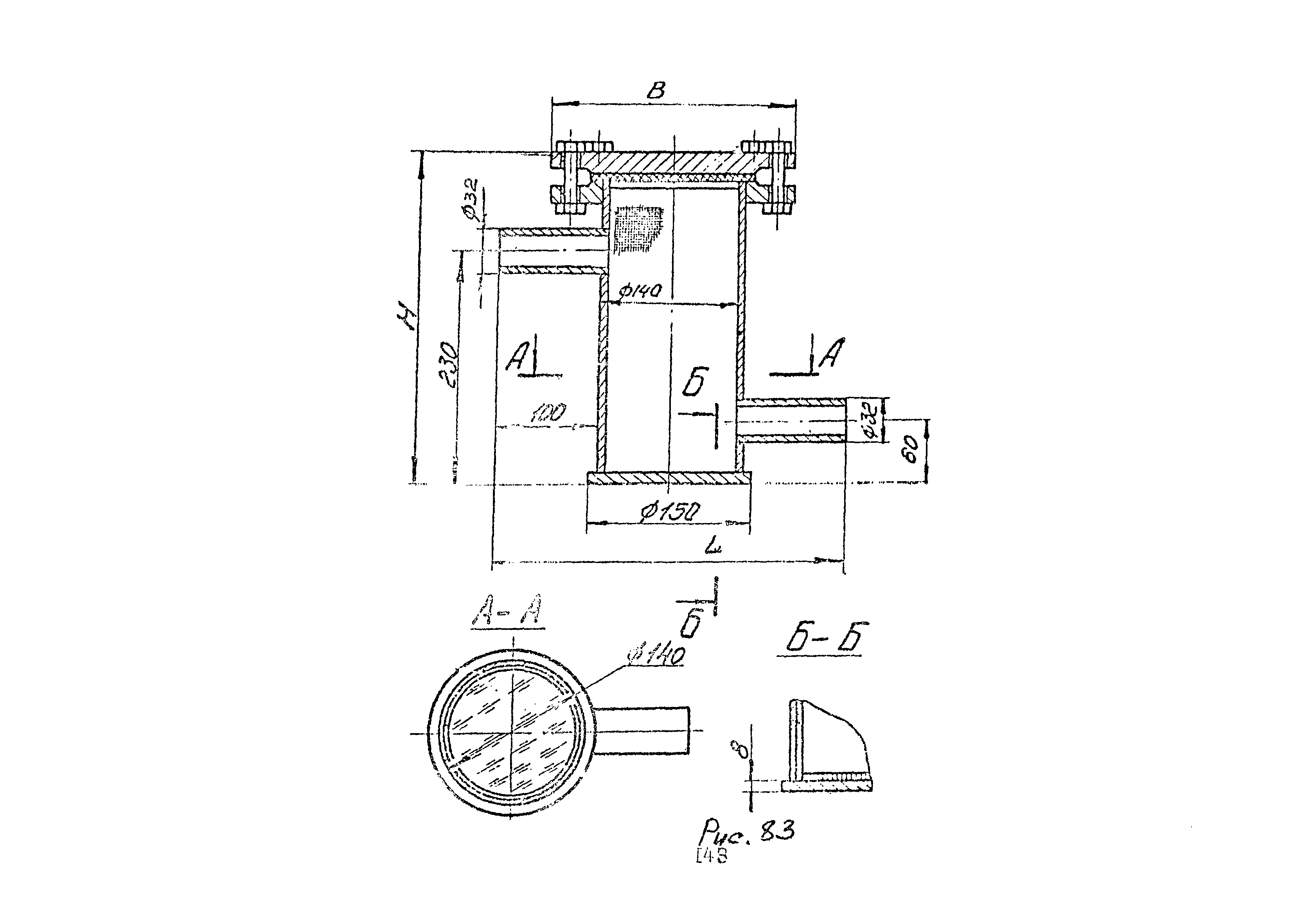
Колено с направляющими лопатками
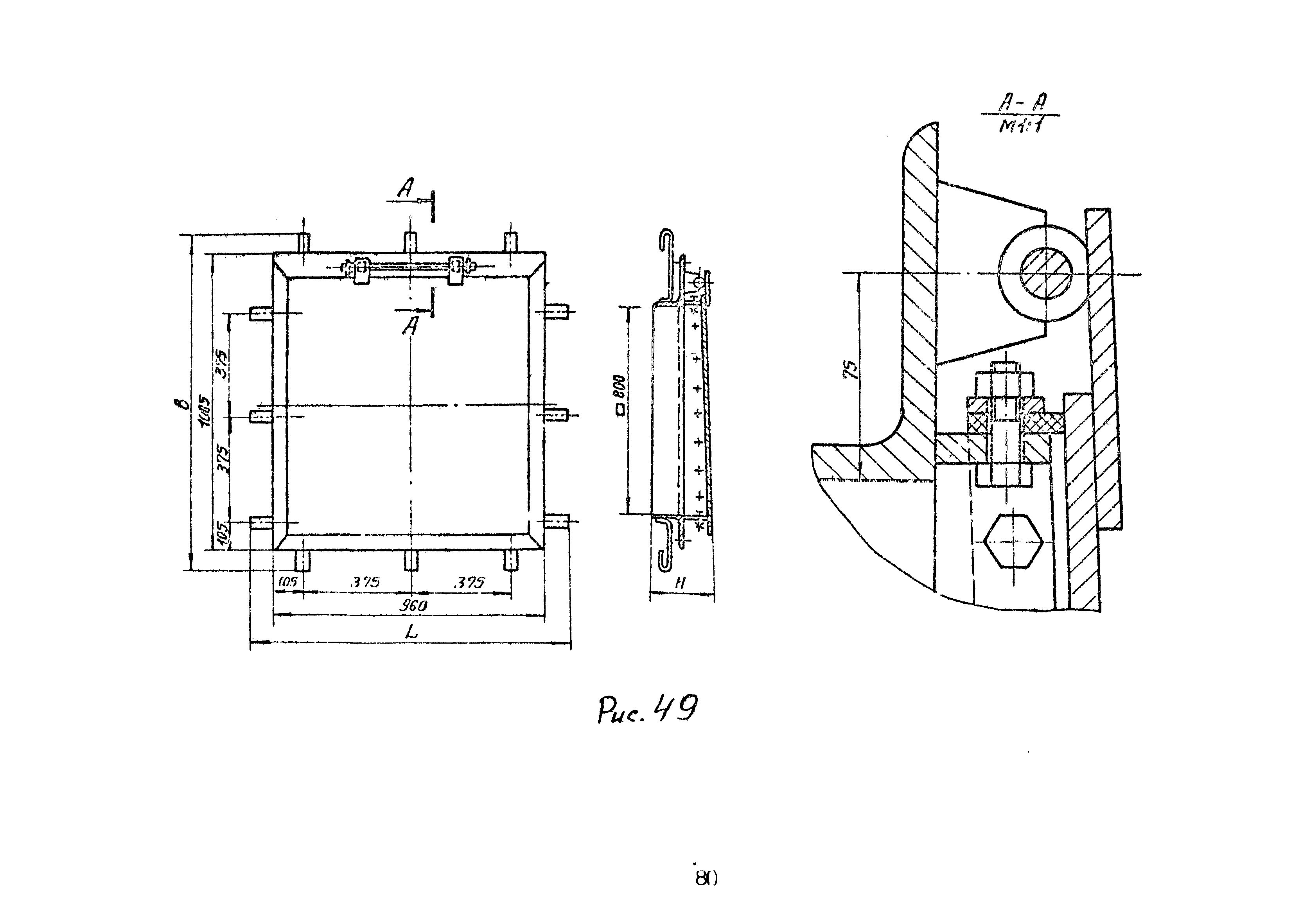
Люк герметический
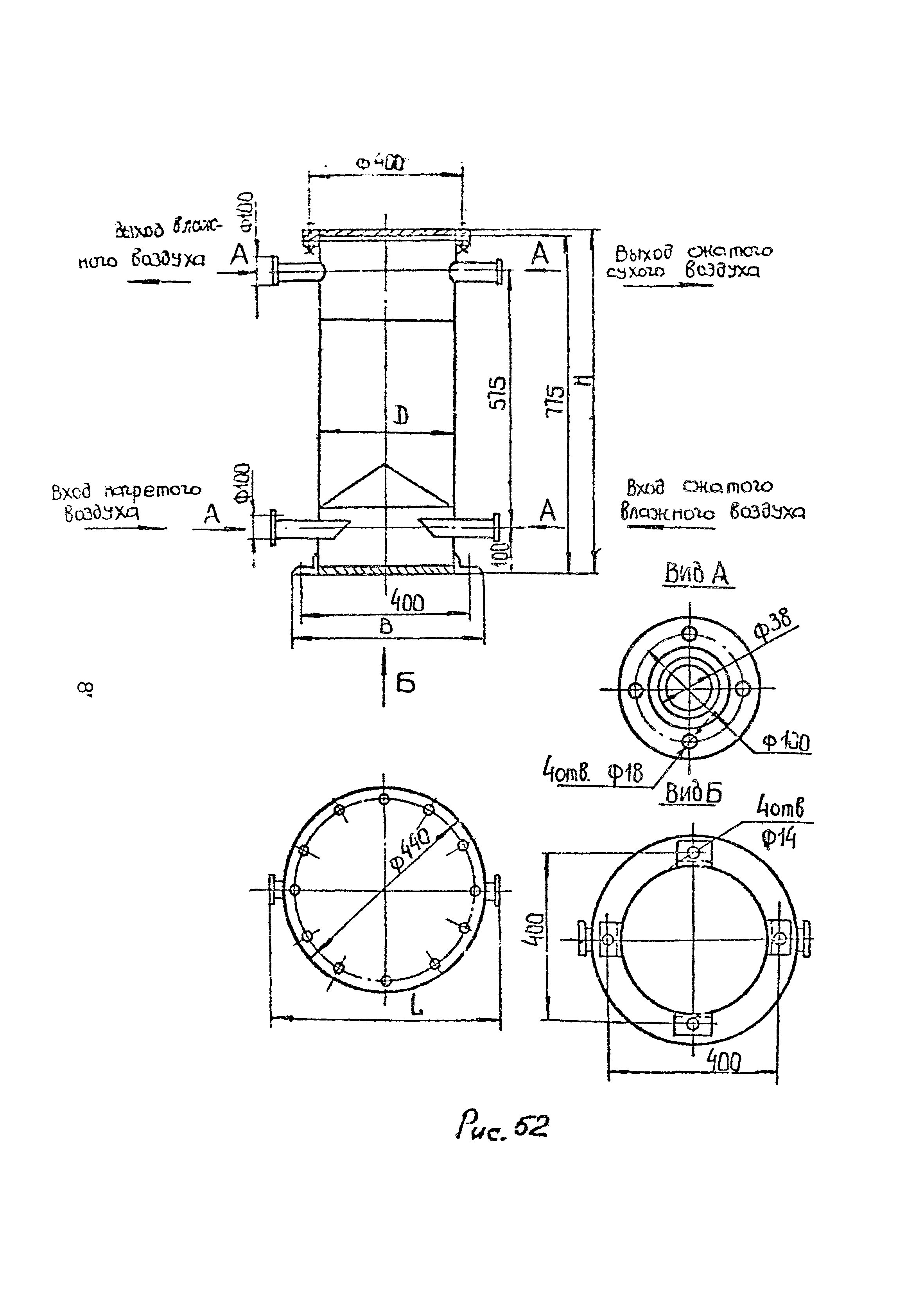
Масловодоотделитель
Мешалка кремниевой кислоты
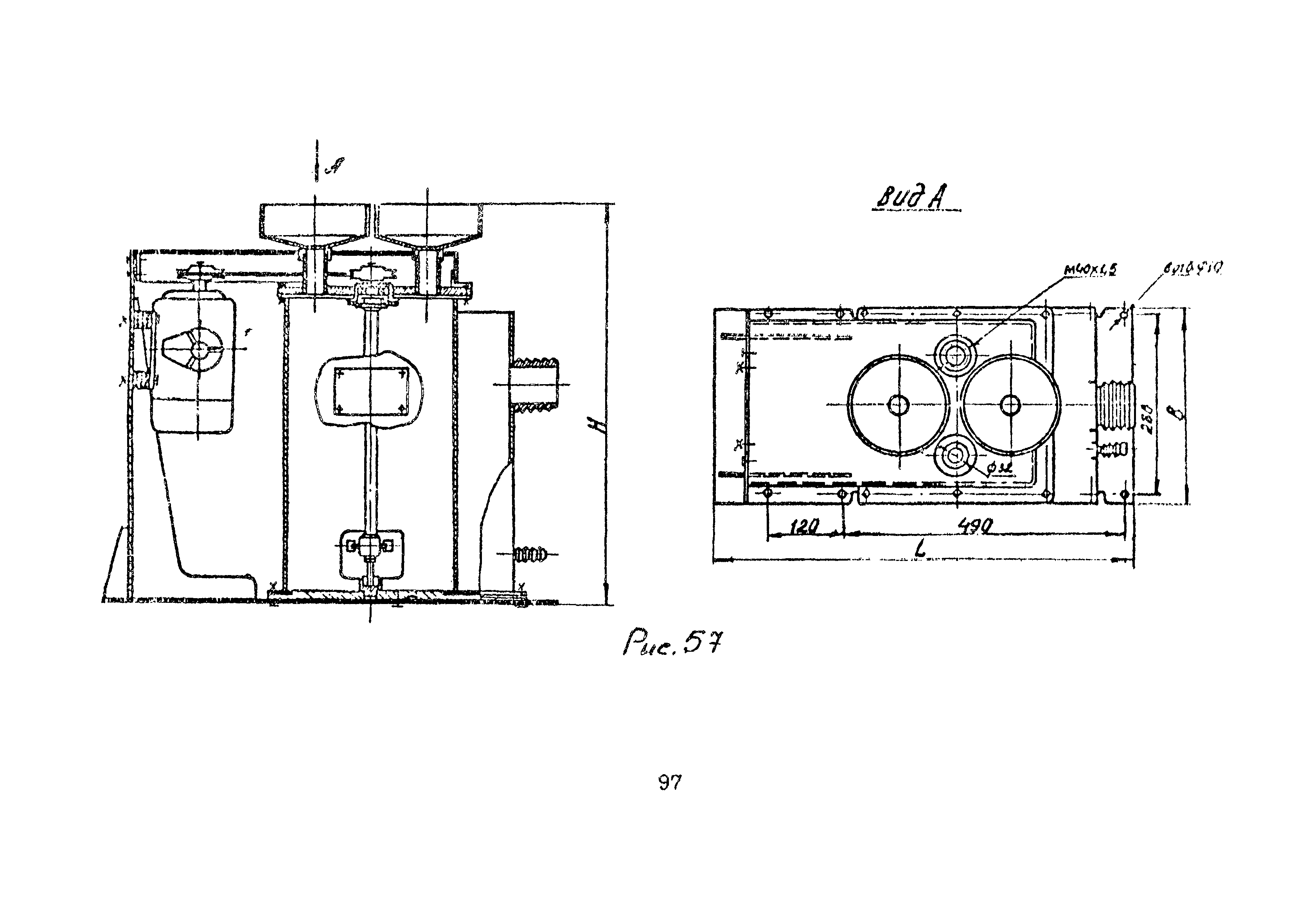
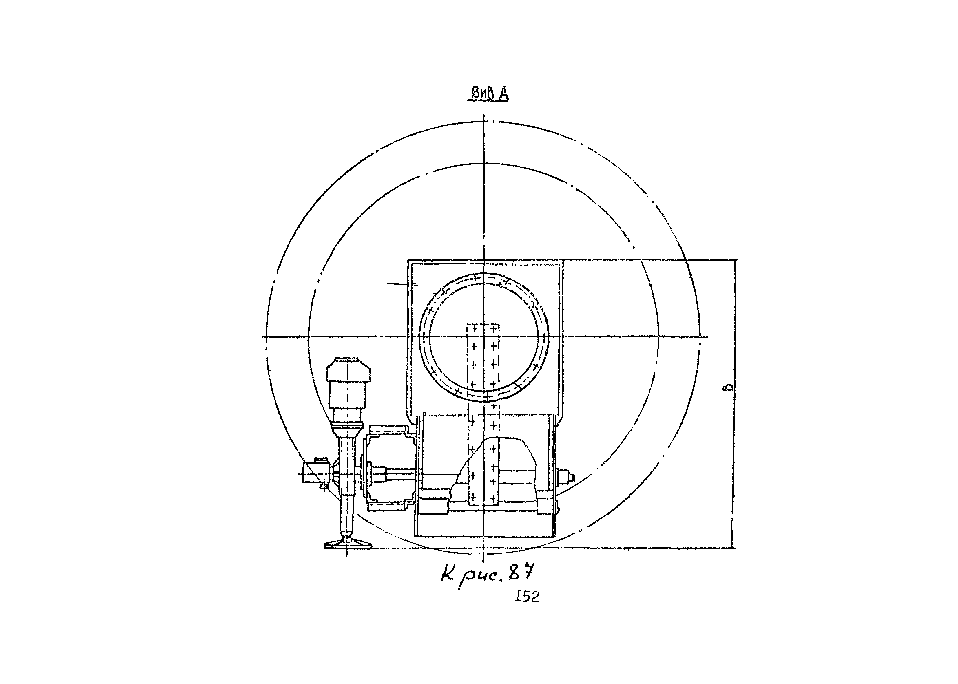
Мешалка с электроприводом
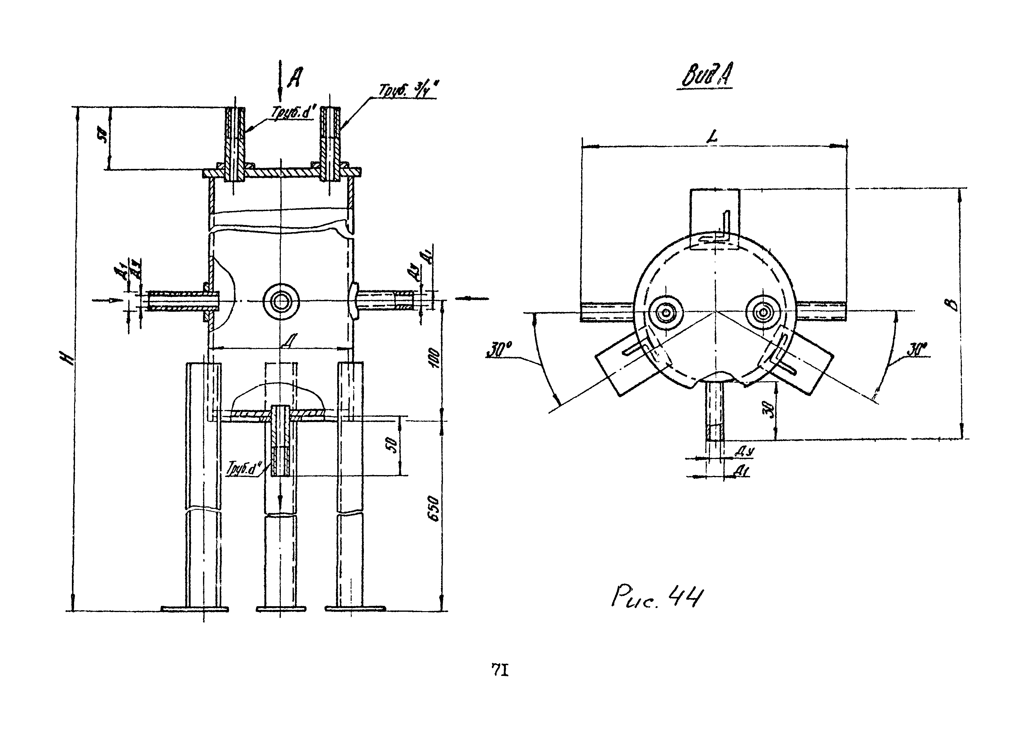
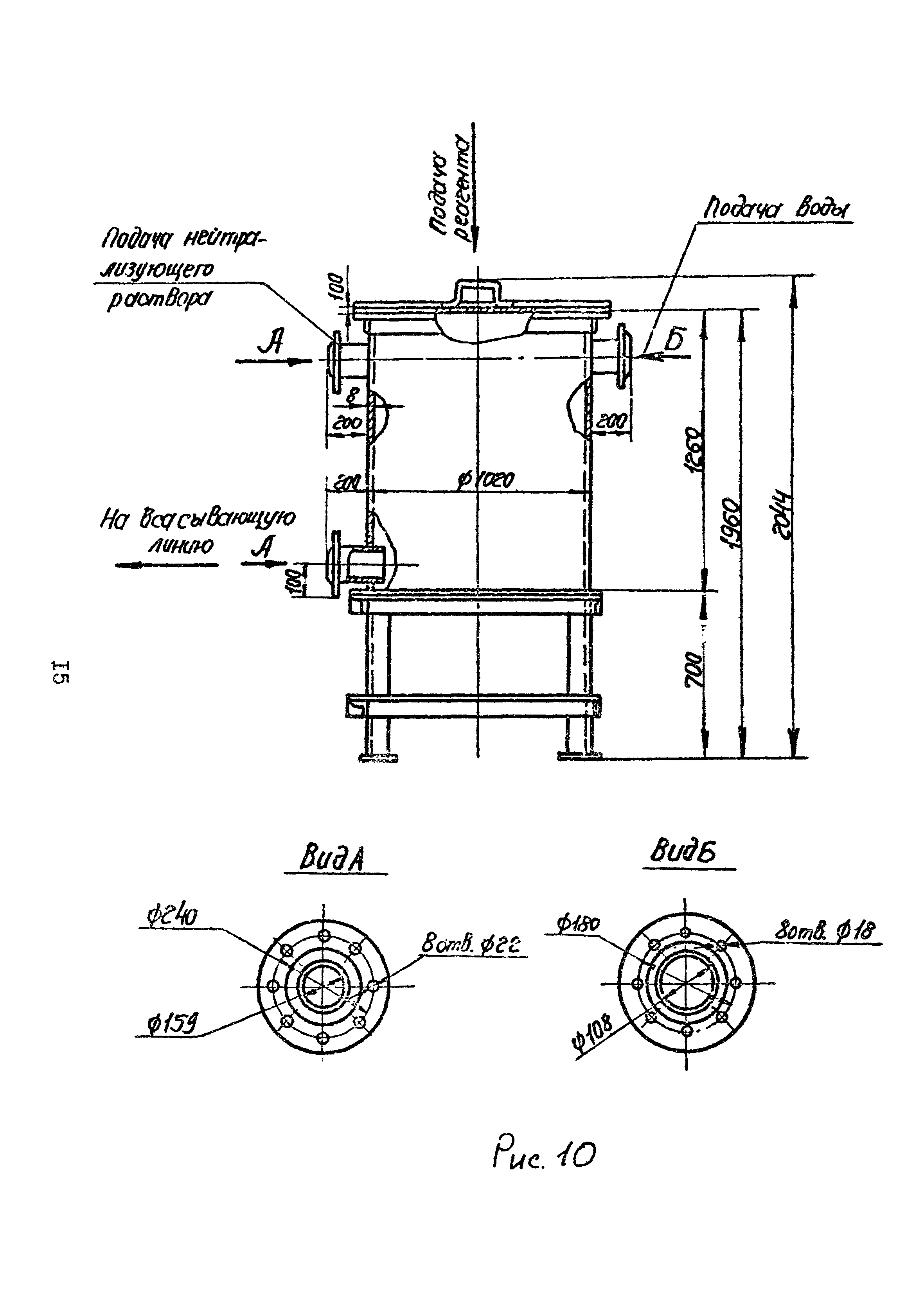
Нейтрализатор
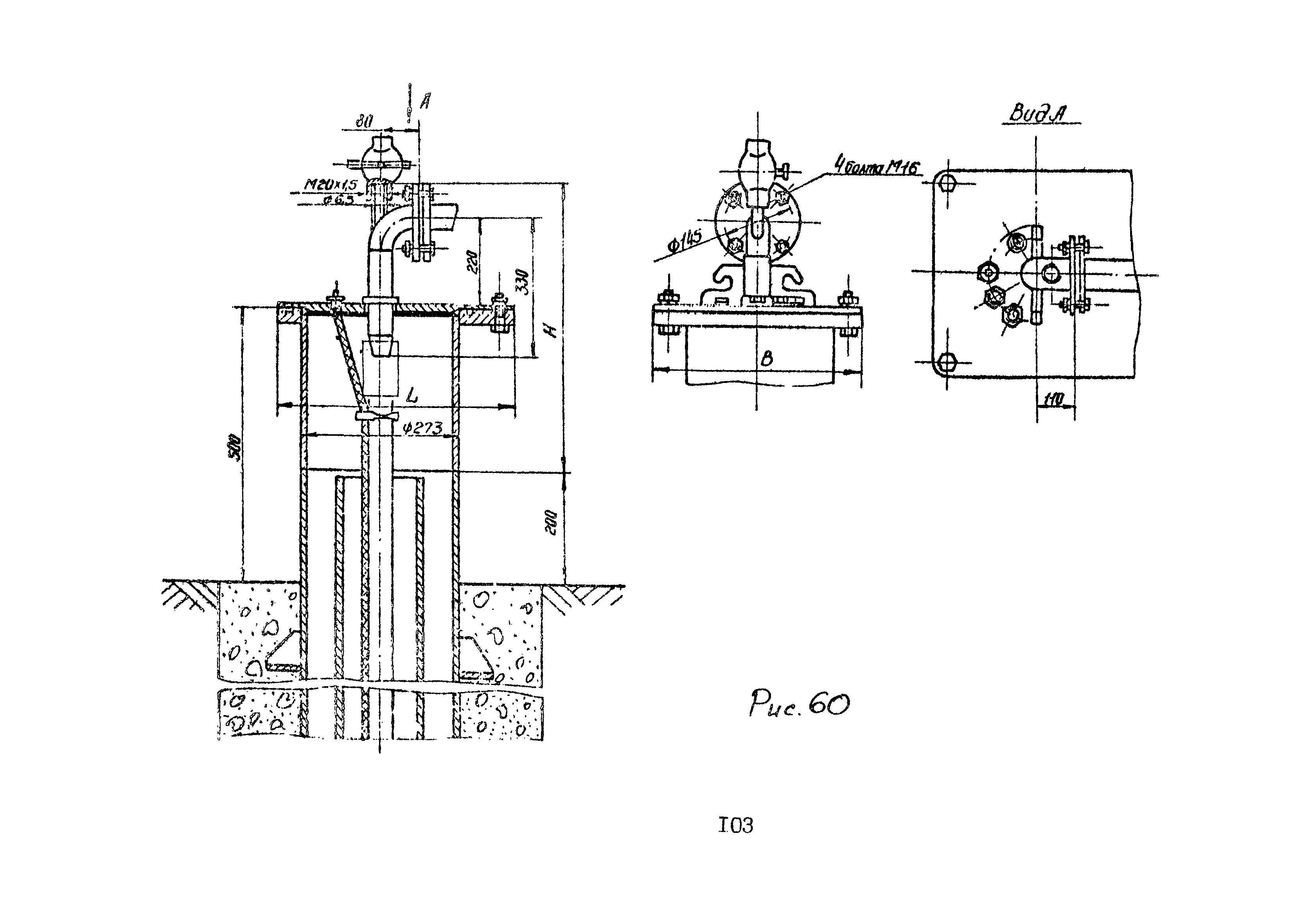
Оголовок скважины
Подвески
Полимердозатор
Подставка для хранения баллонов
Подставка под рабочие баллоны
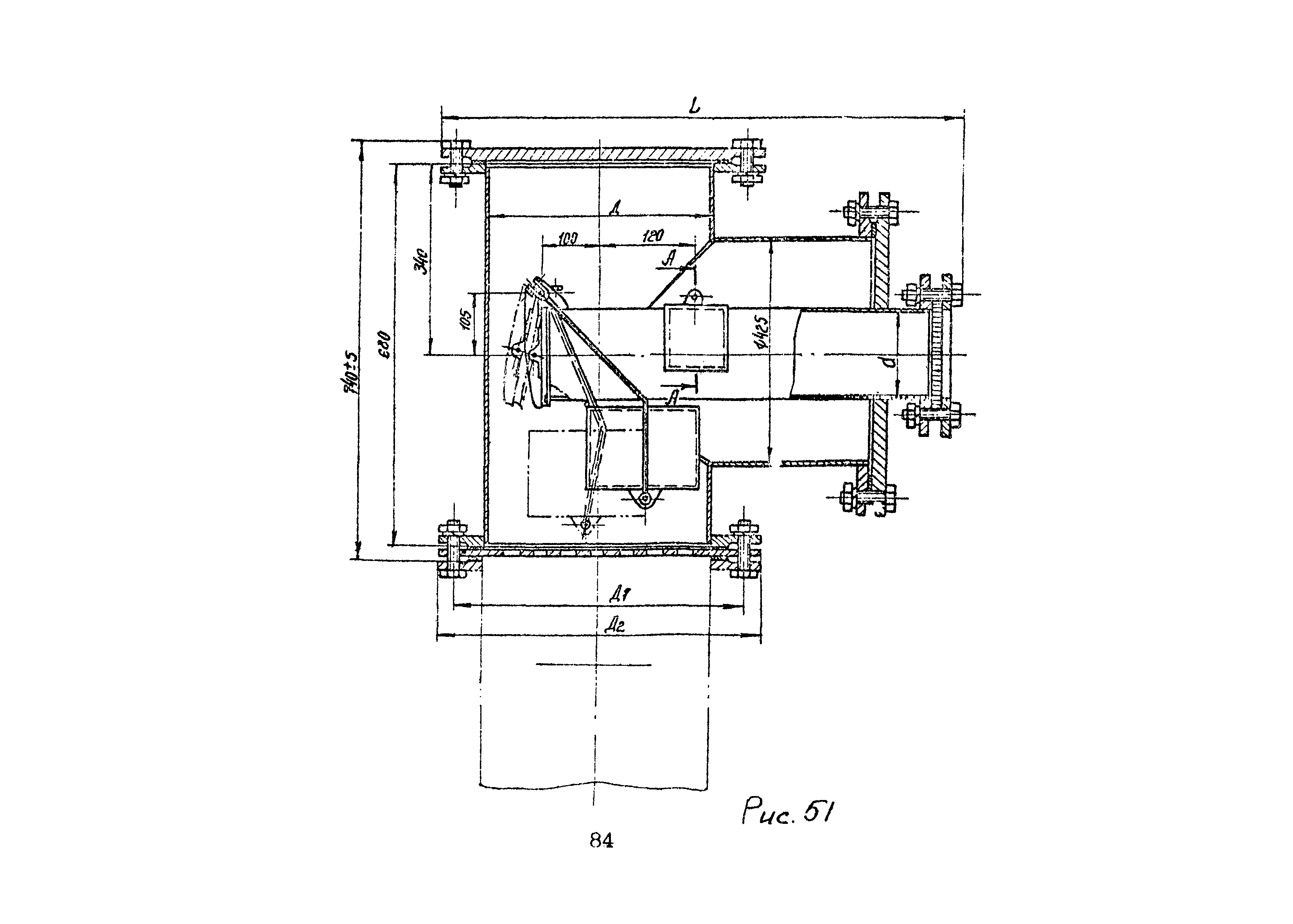
Питатель
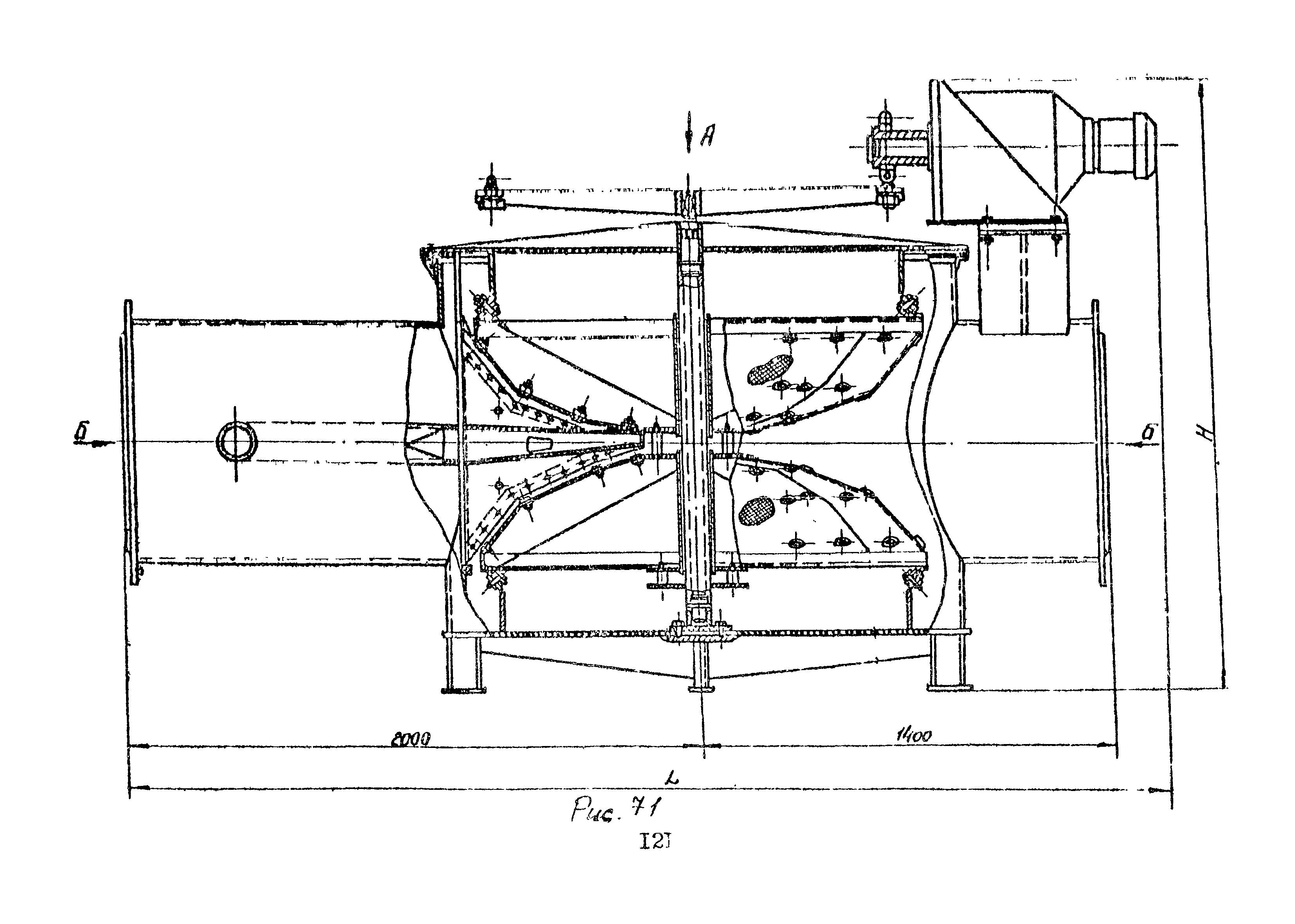
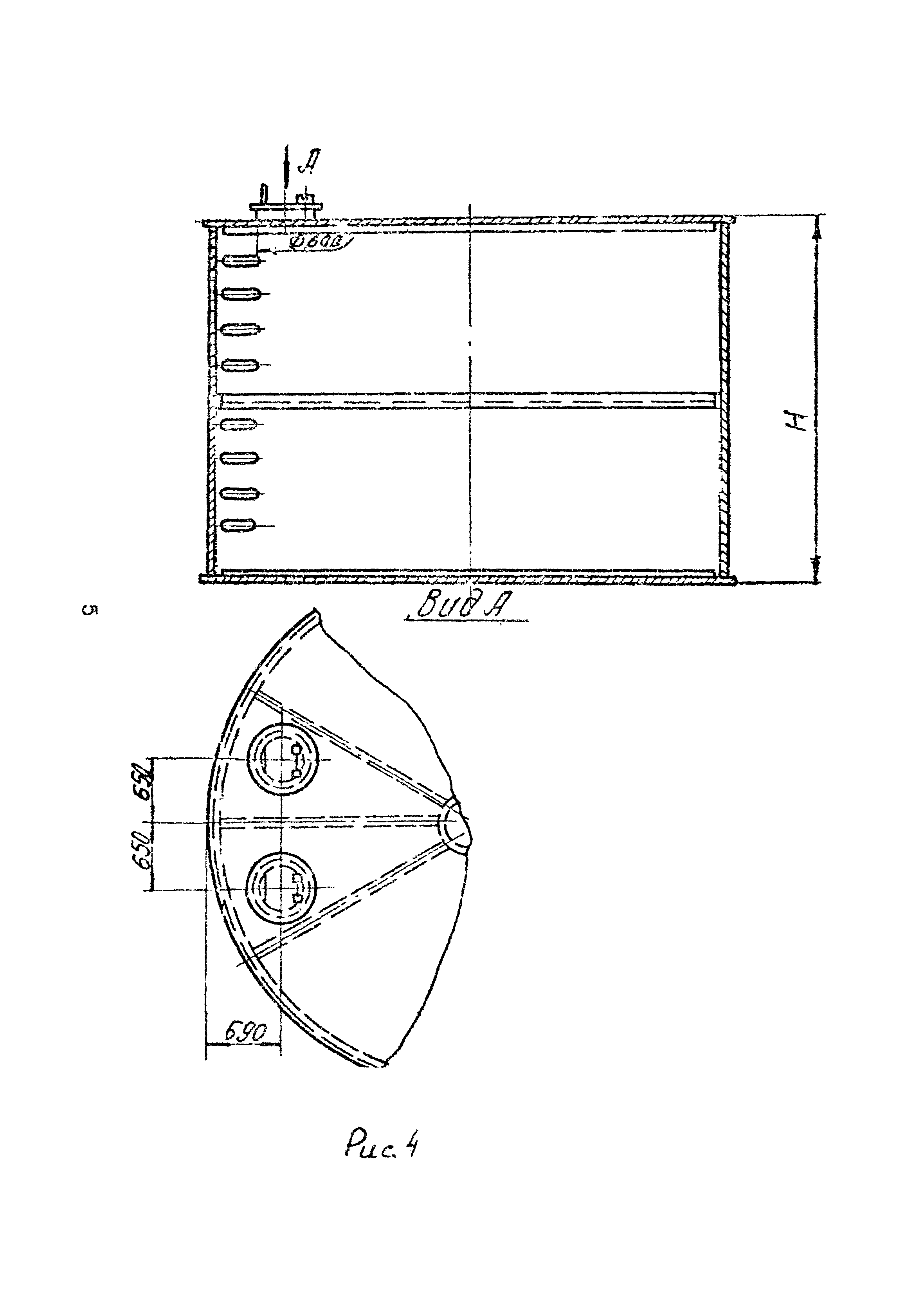
Рыбозаградитель конический секционный
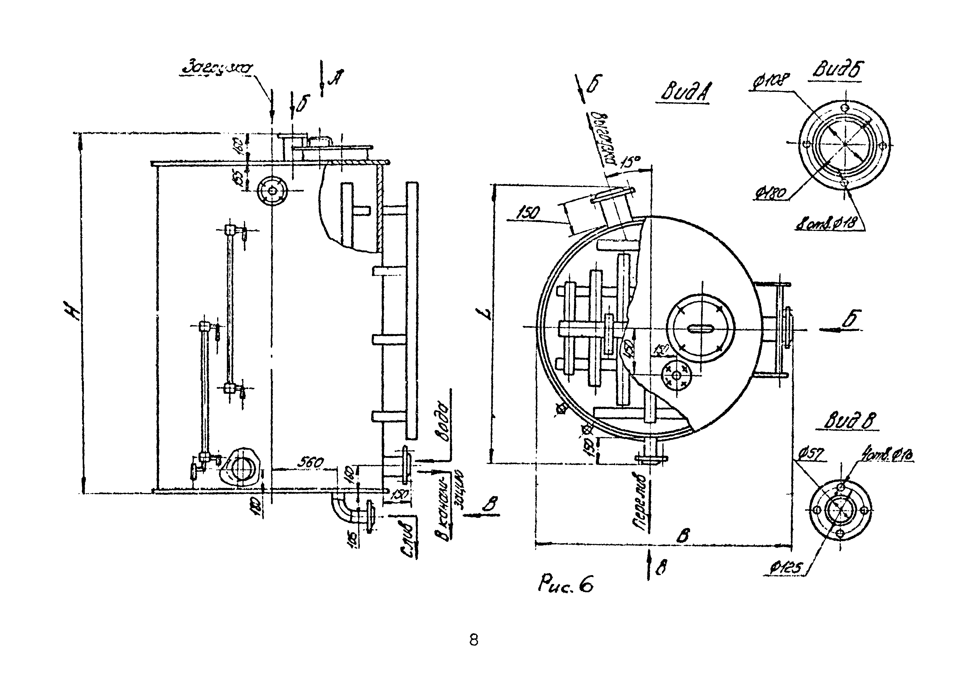
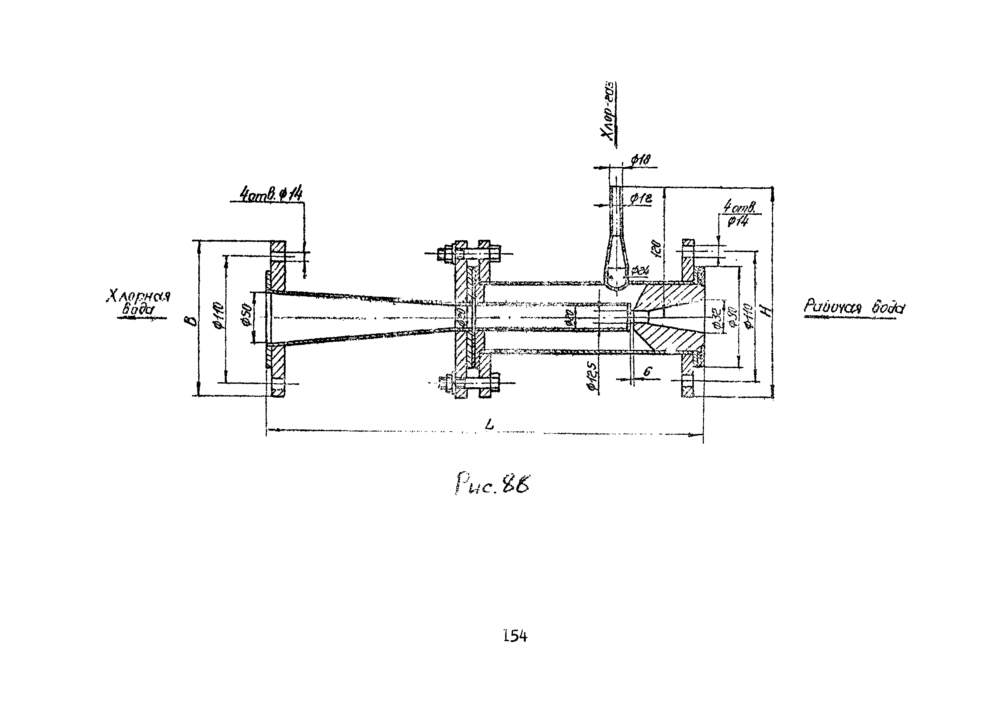
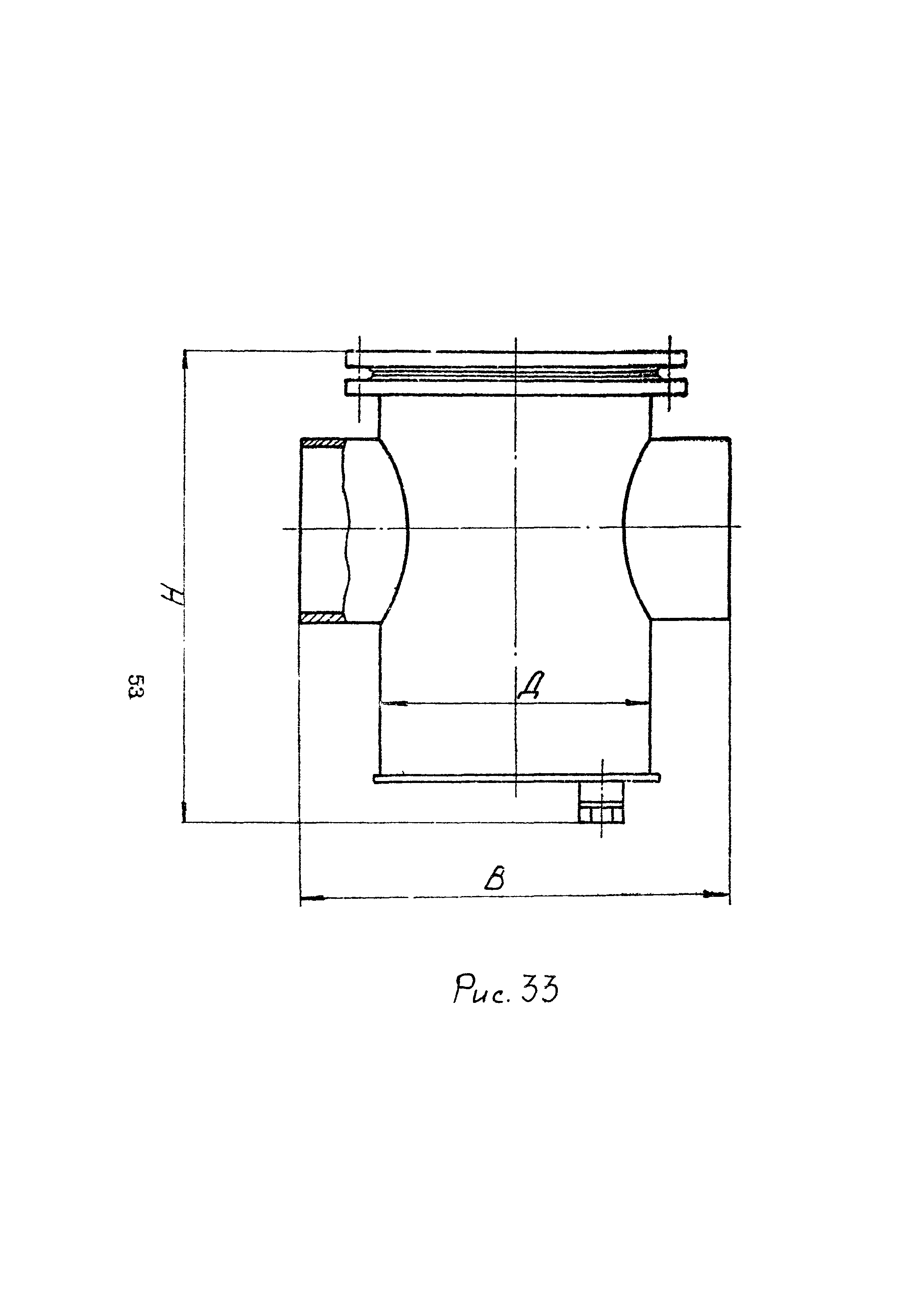
Смеситель вихревой
Сифон-затвор
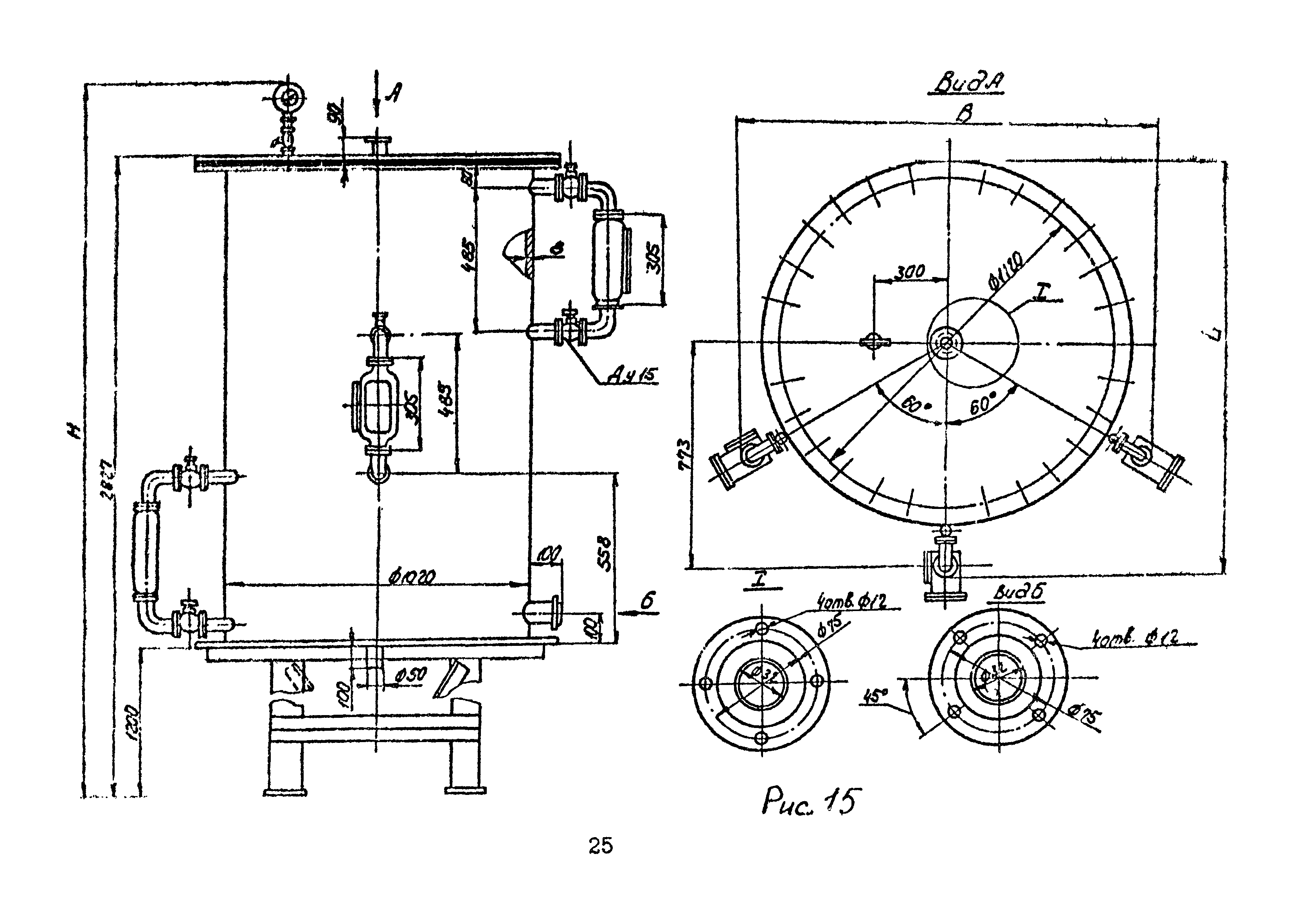
Сатуратор
Тележка для перевозки баллонов
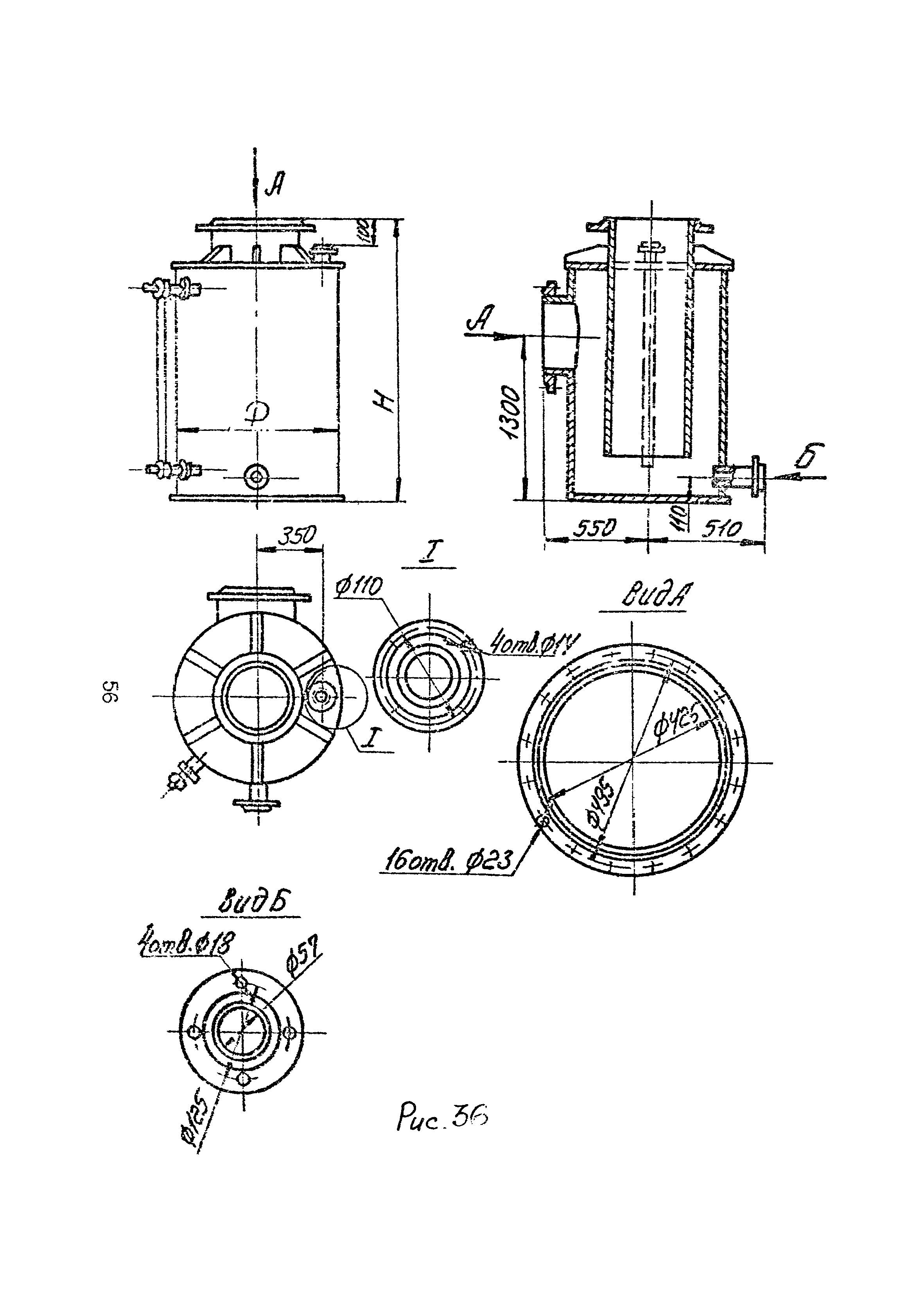
Тележка для отходов извести
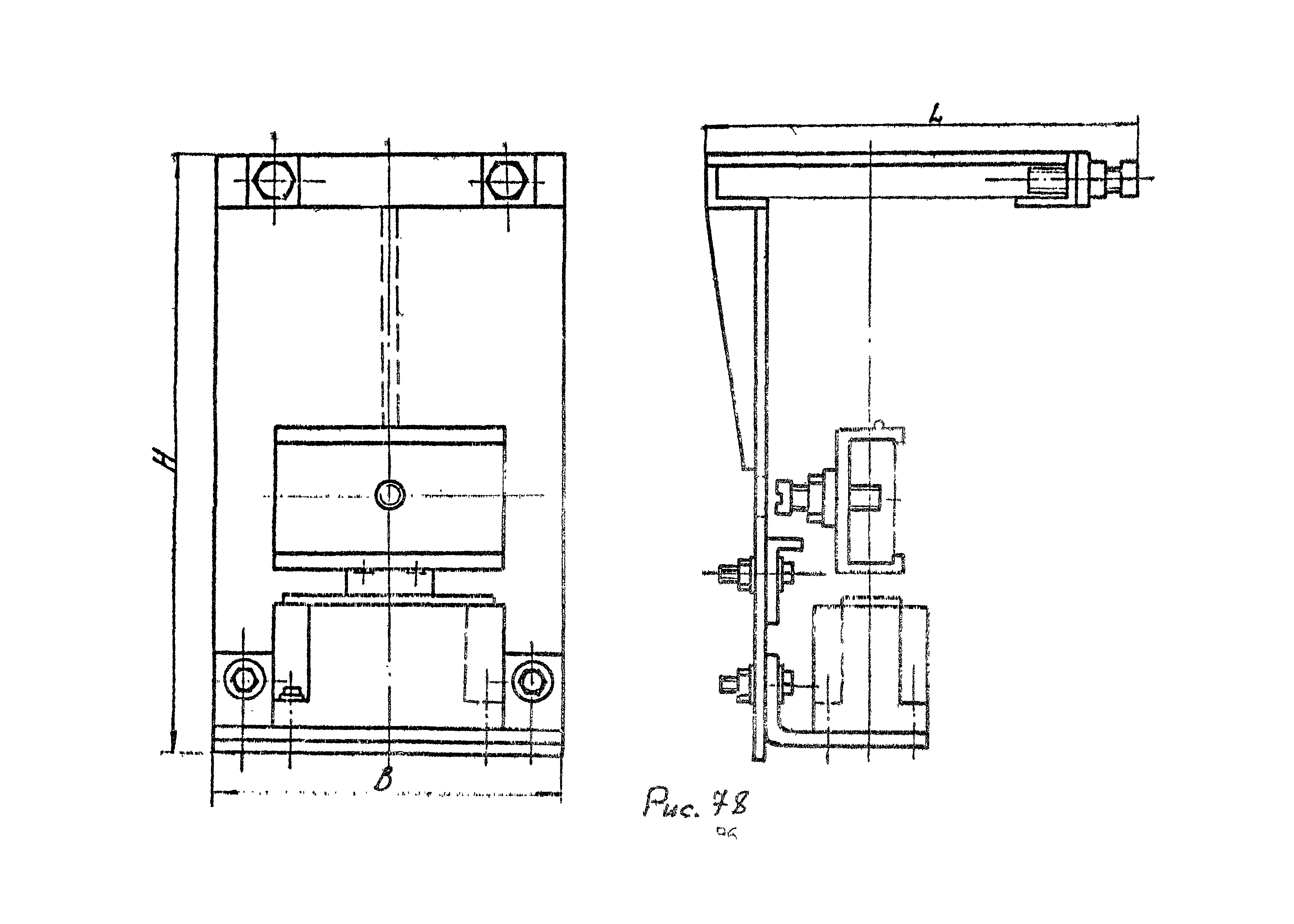
Установка путевого переключателя
Футляр для поврежденных баллонов
Фильтры
Фильтр для обезжелезивания питьевой воды
Фильтр обезжелезивающий безнапорный усовершенствованный с крупнозернистой загрузкой
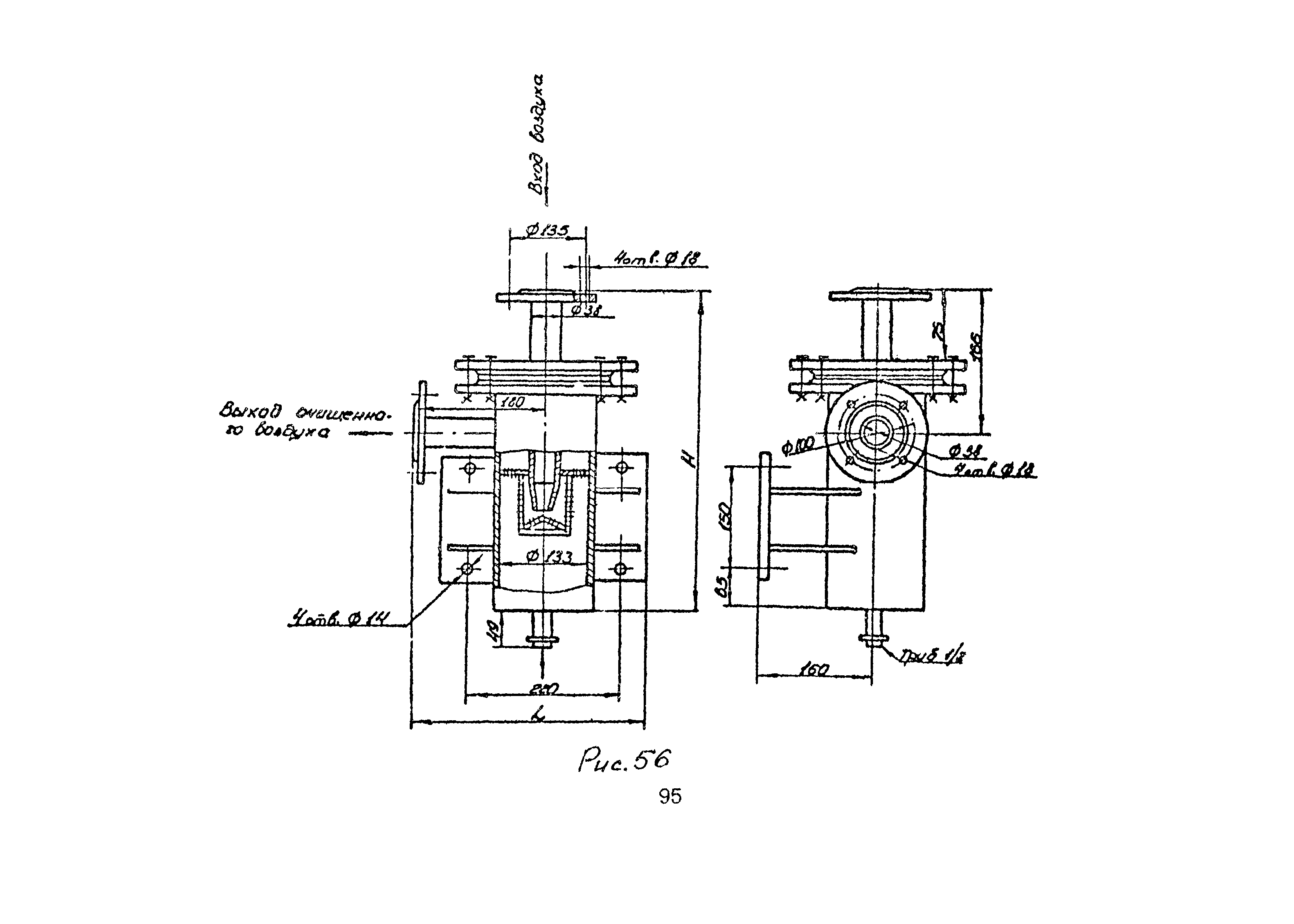
Холодильник для воздуха
Шибер реечный
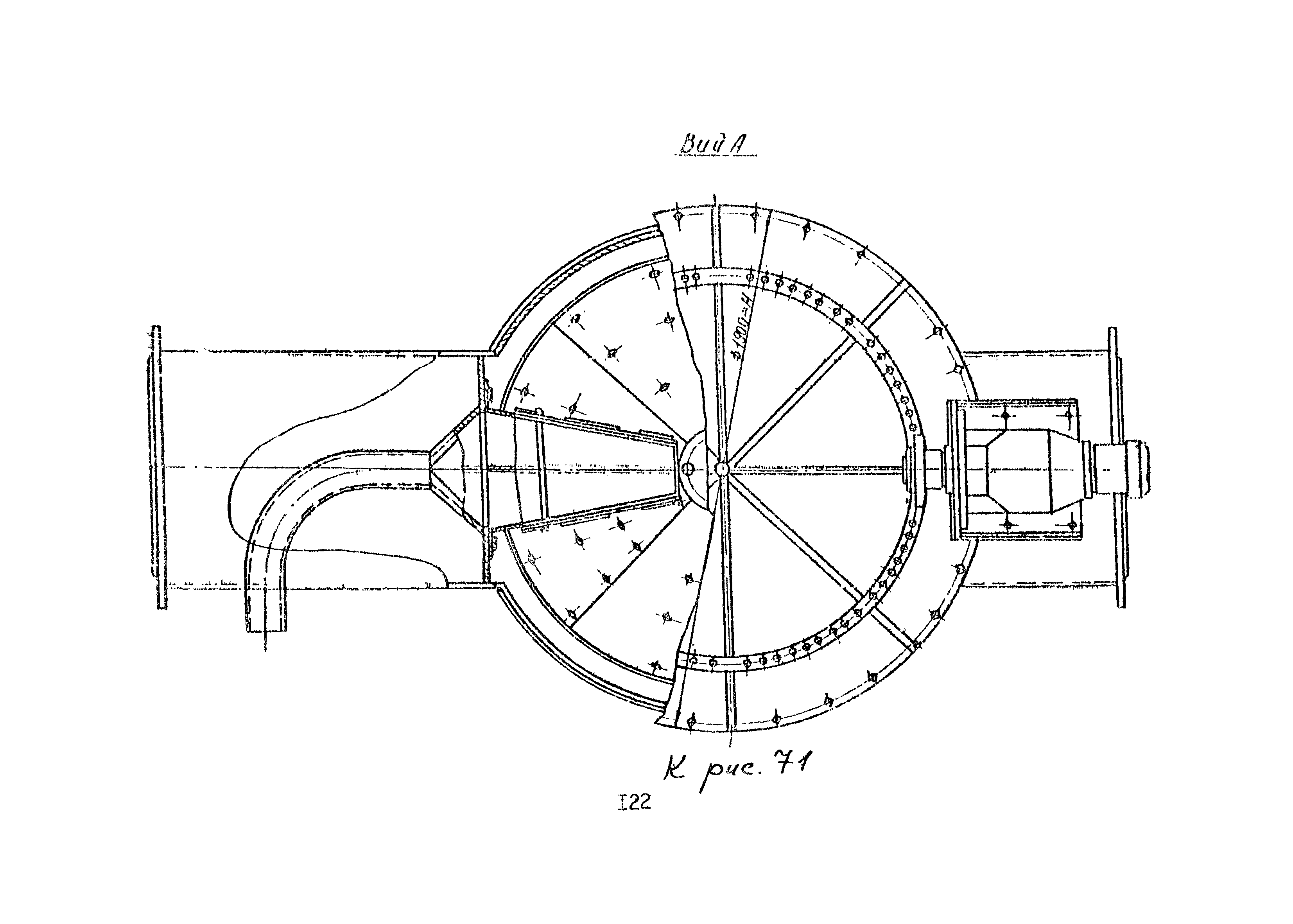
Эжектор
Разработан: НИКТИ ГХ Минжилкомхоза УССР
Утверждён: Министерство жилищно-коммунального хозяйства УССР