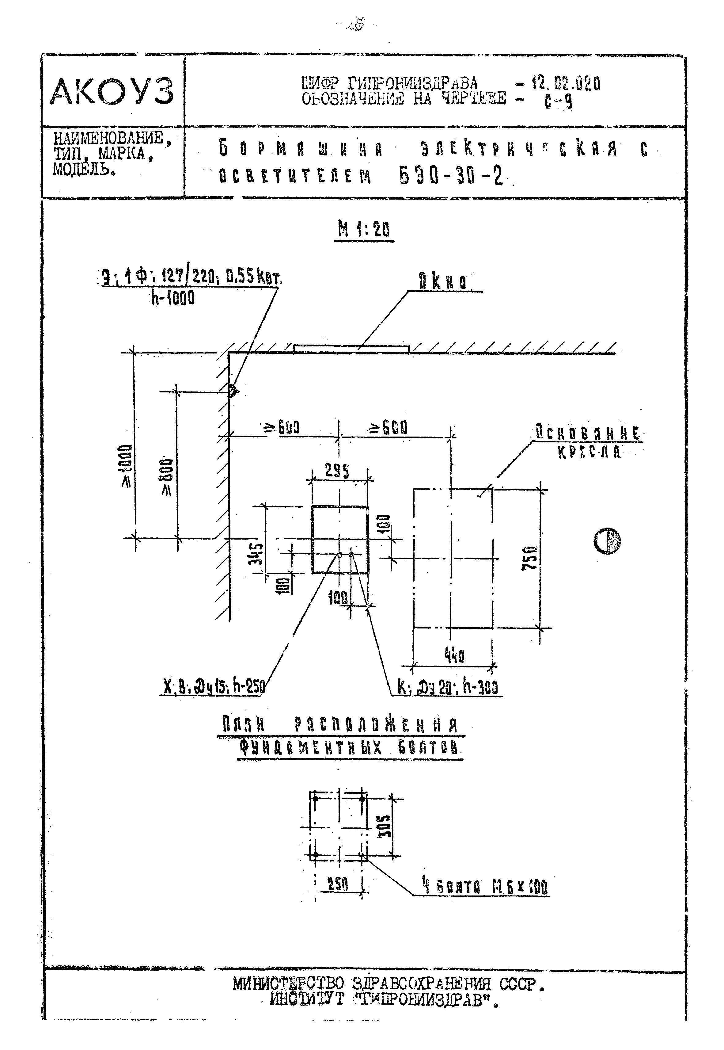
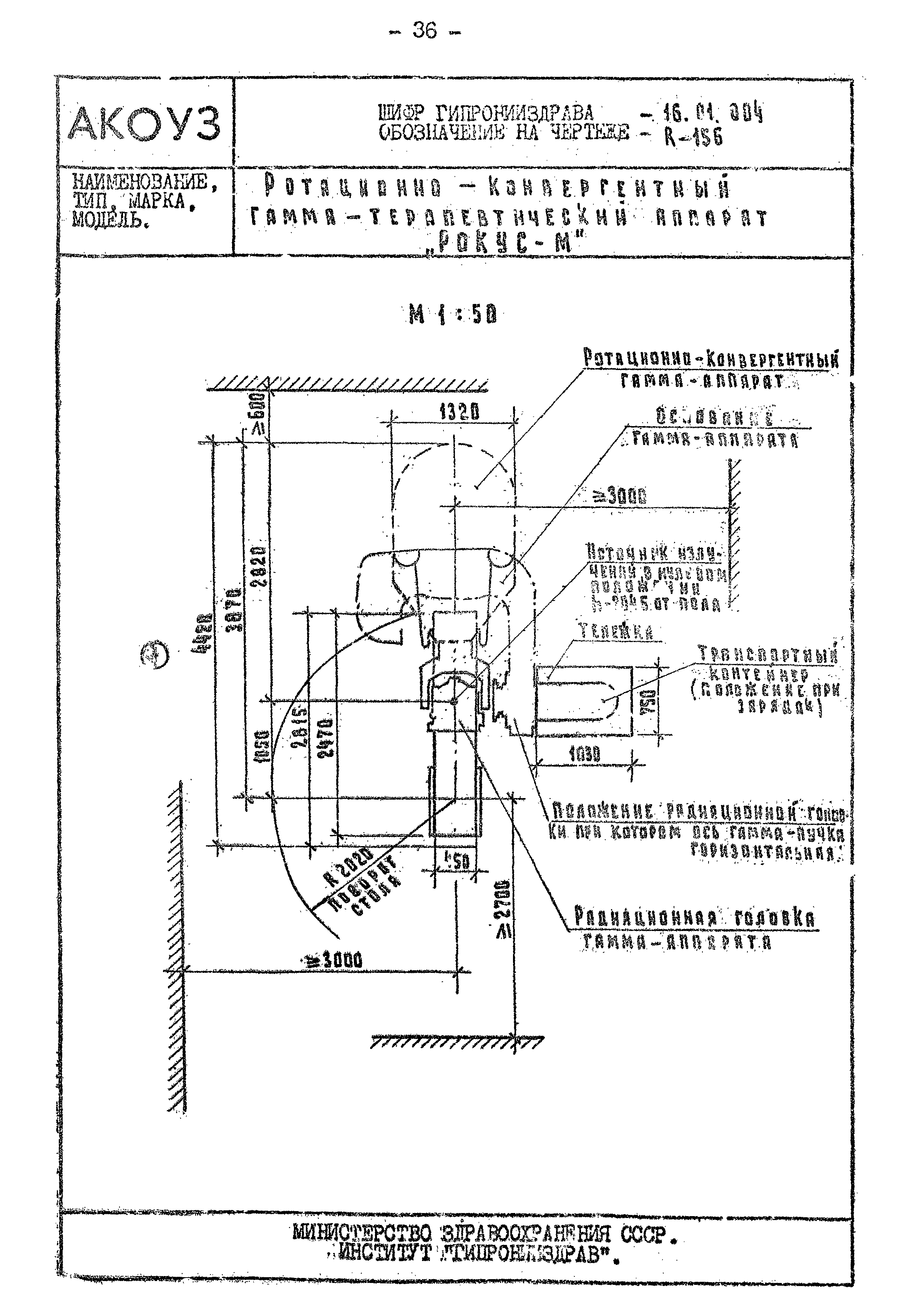
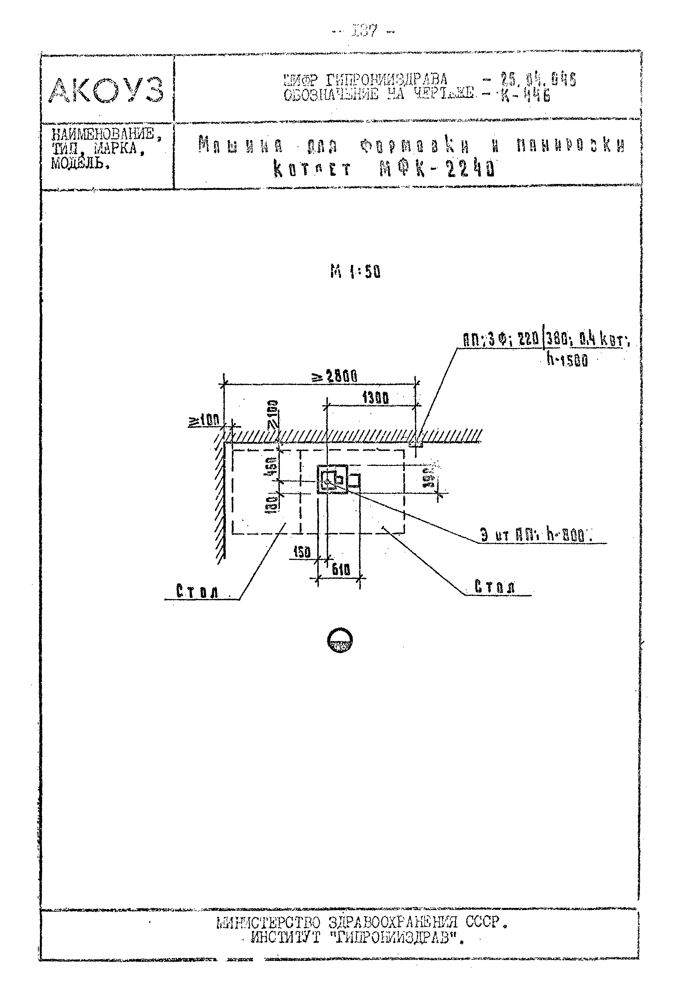
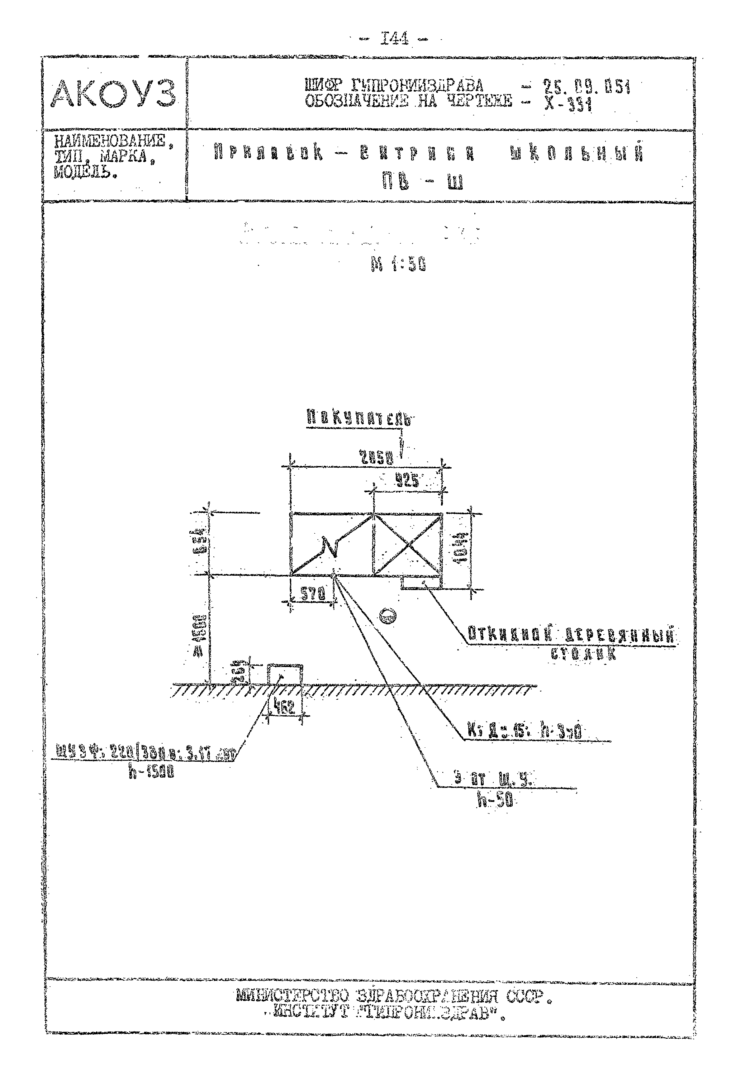
Скачать Том III Каталог оборудования учреждений здравоохранения. Установочные схемы монтируемого оборудованияДата актуализации: 01.01.2021 Том III
Каталог оборудования учреждений здравоохранения. Установочные схемы монтируемого оборудования| Обозначение: | Том III | | Обозначение англ: | Том III | | Статус: | справочные материалы, мп, тпр | | Название рус.: | Каталог оборудования учреждений здравоохранения. Установочные схемы монтируемого оборудования | | Дата добавления в базу: | 01.10.2014 | | Дата актуализации: | 01.01.2021 | | Оглавление: | Пояснительная запмска Перечень монтируемого оборудования, включенного в состав установочных чертедей | | Разработан: | ГипроНИИздрав Минздрава СССР
| | Утверждён: | ГипроНИИздрав (GiproNIIzdrav )
|
                                                                                                                                                                             
|