Скачать ЦЭ-191 Инструкция по заземлению устройств электроснабжения на электрифицированных железных дорогахДата актуализации: 01.01.2021
|
| Обозначение: | ЦЭ-191 |
| Обозначение англ: | ЦЭ-191 |
| Статус: | действует |
| Название рус.: | Инструкция по заземлению устройств электроснабжения на электрифицированных железных дорогах |
| Дата добавления в базу: | 01.10.2014 |
| Дата актуализации: | 01.01.2021 |
| Область применения: | Инструкция содержит общие требования к выполнению заземлений на электрифицированных железных дорогах и конкретные технические решения по заземлению устройств тягового и нетягового электроснабжения и связанных с ними сооружений и конструкций. |
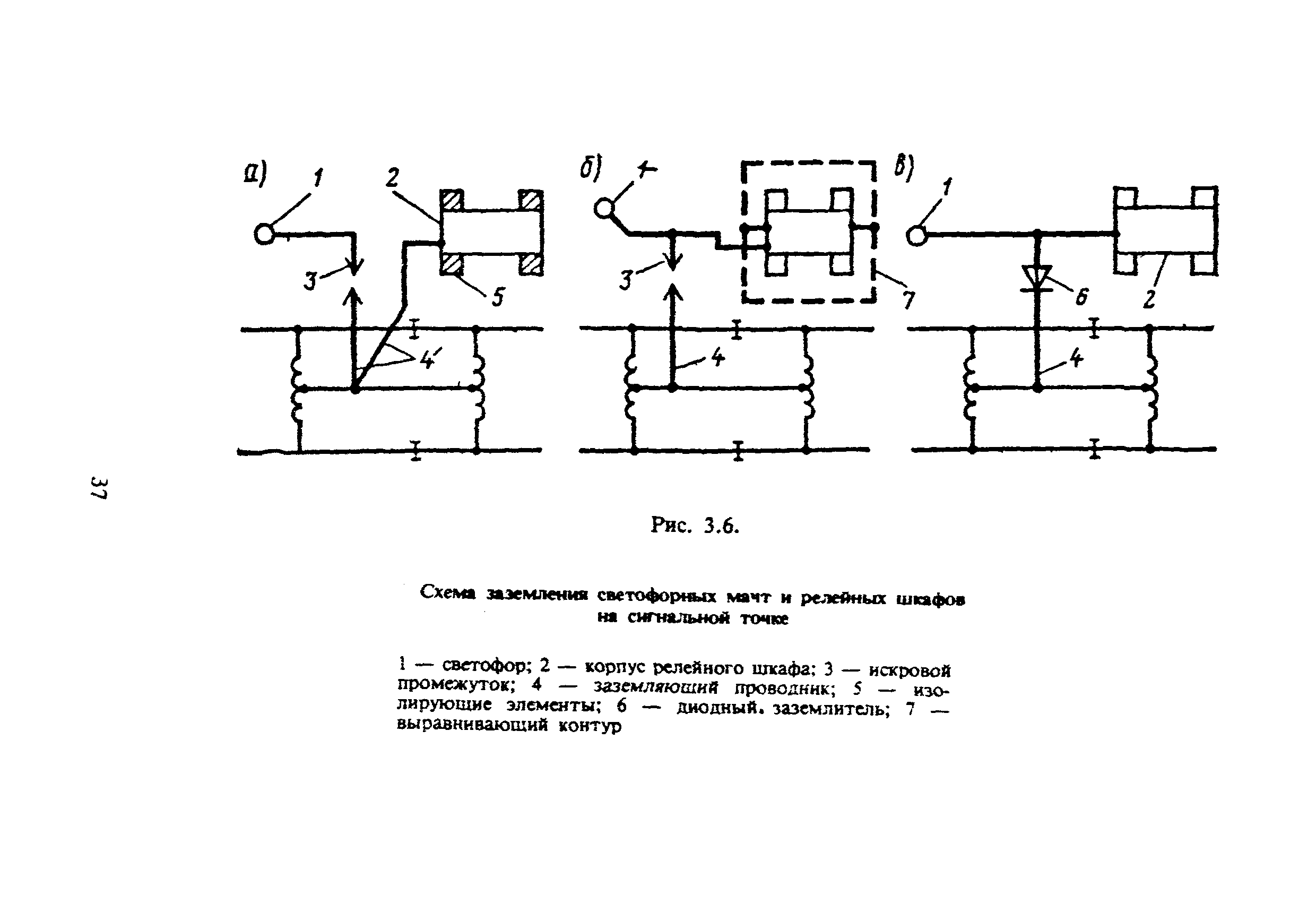
| Оглавление: | 1. Общие положения 2. Общие требования к заземлению конструкций и устройств на электрифицированных железных дорогах 2.1. Требования по обеспечению надежной работы защиты от токов короткого замыкания в системе тягового электроснабжения 2.2. Требования по обеспечению электробезопасности 2.3. Требования по обеспечению нормального функционирования рельсовых цепей автоблокировки и электрической централизации (СЦБ) 2.4. Требования по ограничению утечки тяговых токов защиты от электрокоррозии 2.5. Общие положения по заземлению конструкций и устройств 3. Заземление конструкций, устройств и сооружений 3.1. Заземление тяговых подстанций 3.2. Заземление опор контактной сети 3.3. Заземление опор питающих и отсасывающих линий 3.4. Заземление опор с разрядниками и секционными разъединителями контактной сети 3.5. Заземление постов секционирования и пунктов параллельного соединения контактной сети 3.6. Заземление пунктов группировки переключателей контактной сети станций стыкования 3.7. Заземление автотрансформаторных пунктов системы электроснабжения 2х25 кВ 3.8. Заземление отсасывающих трансформаторов и обратных проводов 3.9. Заземление установок компенсации реактивной мощности 3.10. Заземление комплектных трансформаторных подстанций, питаемых по системе ДПР 3.11. Заземление комплектных трансформаторных подстанций, питаемых от ВЛ 6(10) кВ, проложенных по опорам контактной сети 3.12. Заземление пунктов подготовки поездов с электрическим отоплением 3.13. Заземление напольных устройств СЦБ 3.14. Заземление мостов и путепроводов 3.15. Заземление в туннелях 3.16. Заземление светильников, прожекторных мачт, ВЛ электроснабжения, проложенных по опорам контактной сети, отдельно стоящих опор освещения 3.17. Заземление волноводов и линий связи, проложенных по опорам контактной сети 3.18. Заземление протяженных воздухопроводов систем пневмоочистки стрелок и пневмопочты 3.19. Заземление отдельно стоящих объектов вблизи электрифицированных путей 3.20. Заземление передвижных тяговых подстанций 3.21. Основные положения по выполнению заземлений в районах вечной мерзлоты и скалистых грунтов 4. Конструктивное выполнение заземляющих устройств 5. Техническое обслуживание и ремонт заземляющих устройств 6. Техника безопасности при техническом обслуживании и ремонте заземляющих устройств Приложение 1. Термины и основные понятия, применяемые в инструкции Приложение 2. Технические характеристики защитных устройств, включаемых в цепь заземления на электрифицированных дорогах Приложение 3. Измерение параметров заземляющих устройств Приложение 4. Измерение удельного электрического сопротивления грунта |
| Разработан: | МИИТ Внии жт Министерство путей сообщения РФ |
| Утверждён: | 10.06.1993 Министерство путей сообщения РФ (Russian Federation Ministry of Railroads ЦЭ-191) |
| Нормативные ссылки: |




































































