Скачать Серия 5.903-15 Выпуск 9-4. Часть 2. Блок деаэрационно-подпиточный БДАП-50-15. Рабочие чертежиДата актуализации: 01.01.2021
|
| Обозначение: | Серия 5.903-15 |
| Обозначение англ: | Series 5.903-15 |
| Статус: | не определен законодательством |
| Название рус.: | Выпуск 9-4. Часть 2. Блок деаэрационно-подпиточный БДАП-50-15. Рабочие чертежи |
| Дата добавления в базу: | 01.10.2014 |
| Дата актуализации: | 01.01.2021 |
| Дата введения: | 14.02.1990 |
| Дата окончания срока действия: | 30.06.2003 |
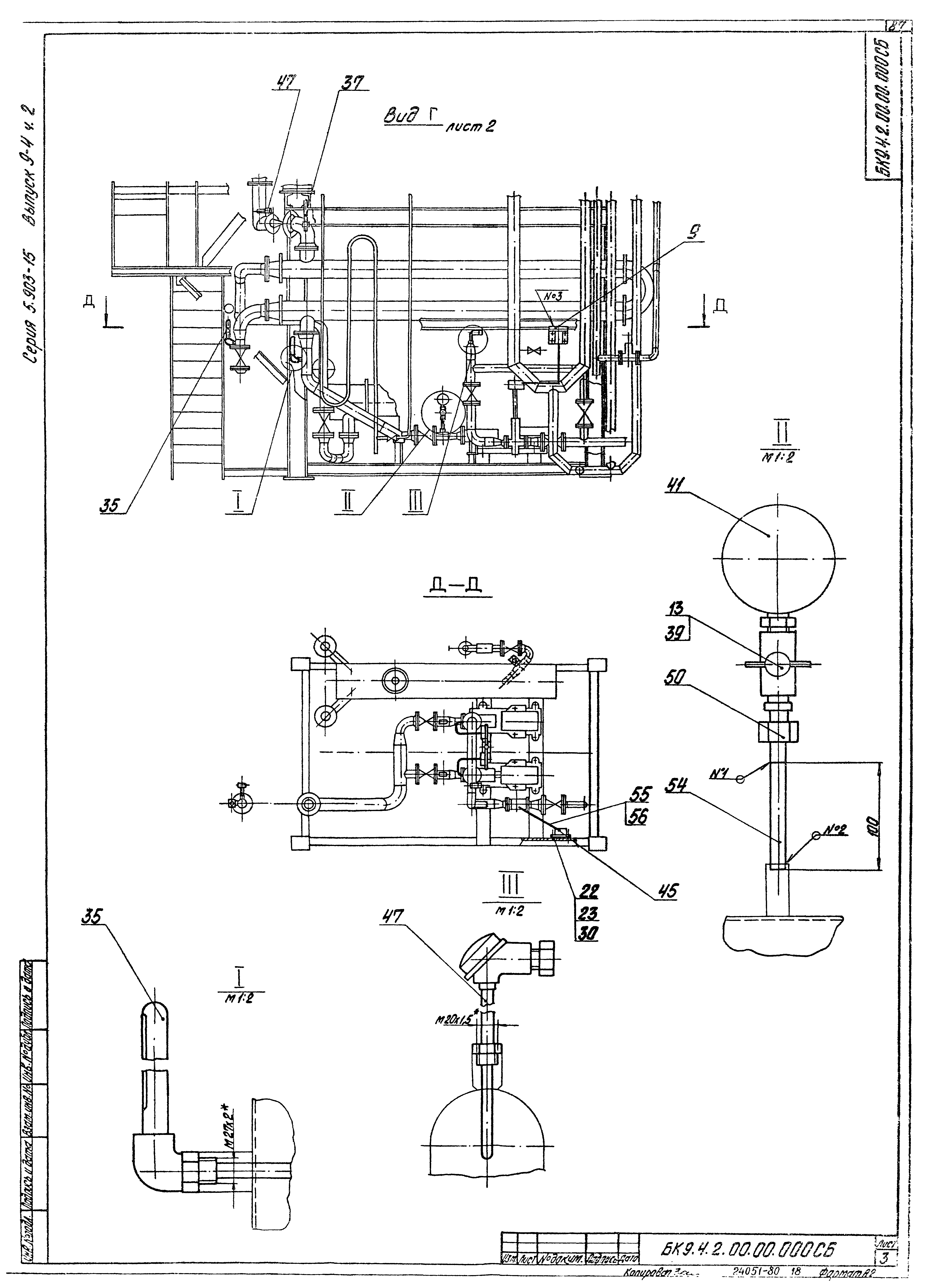
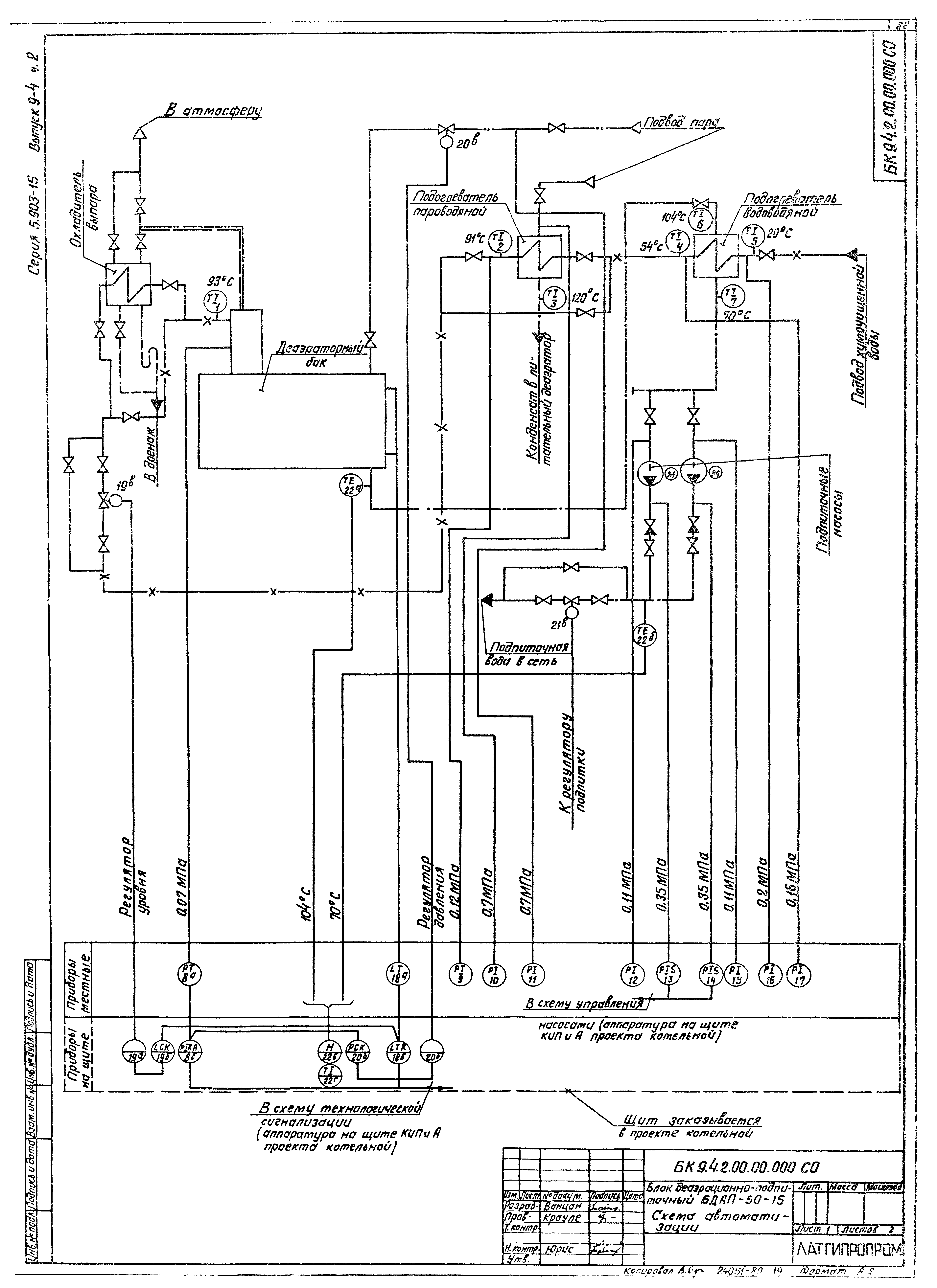
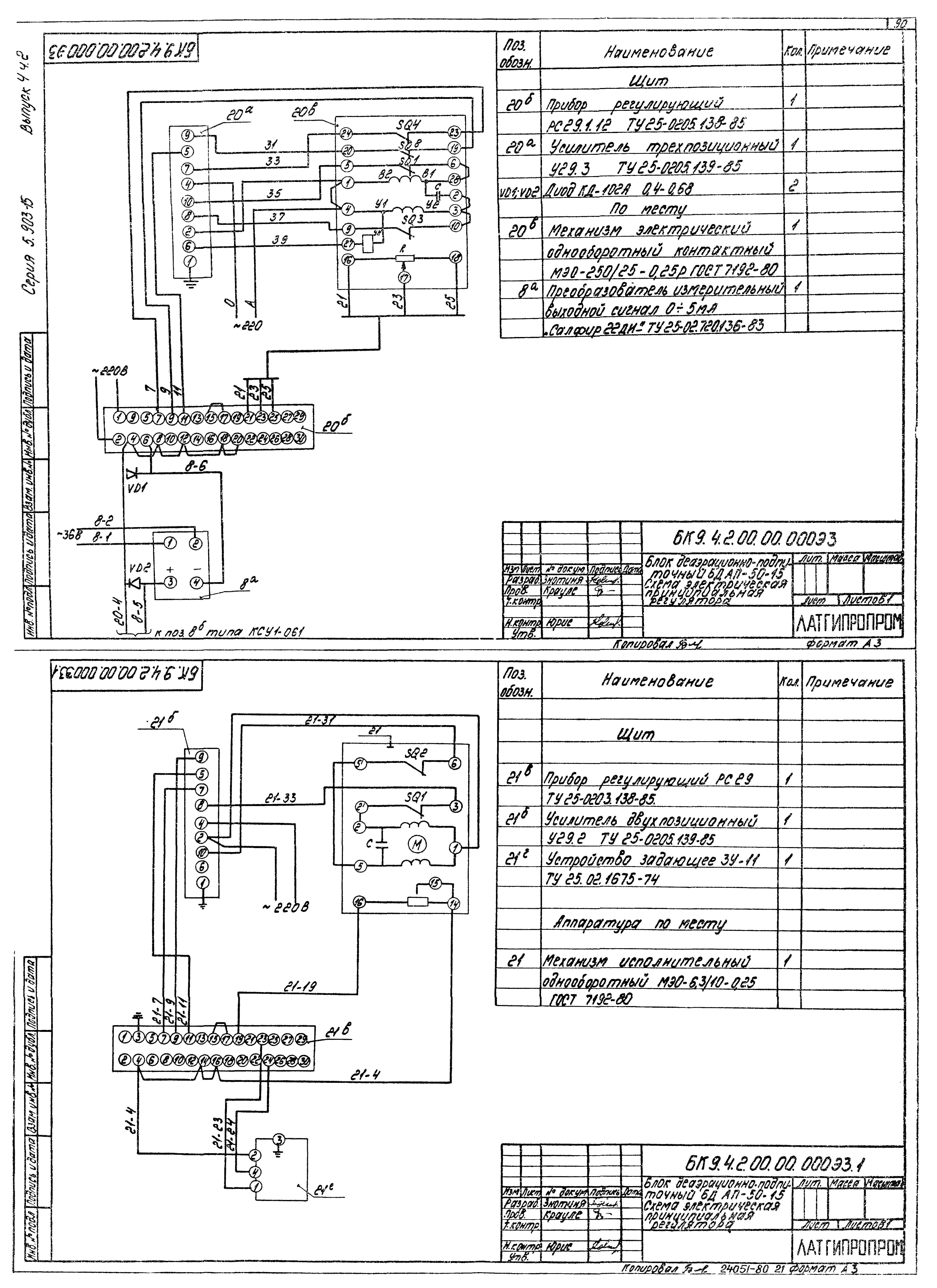
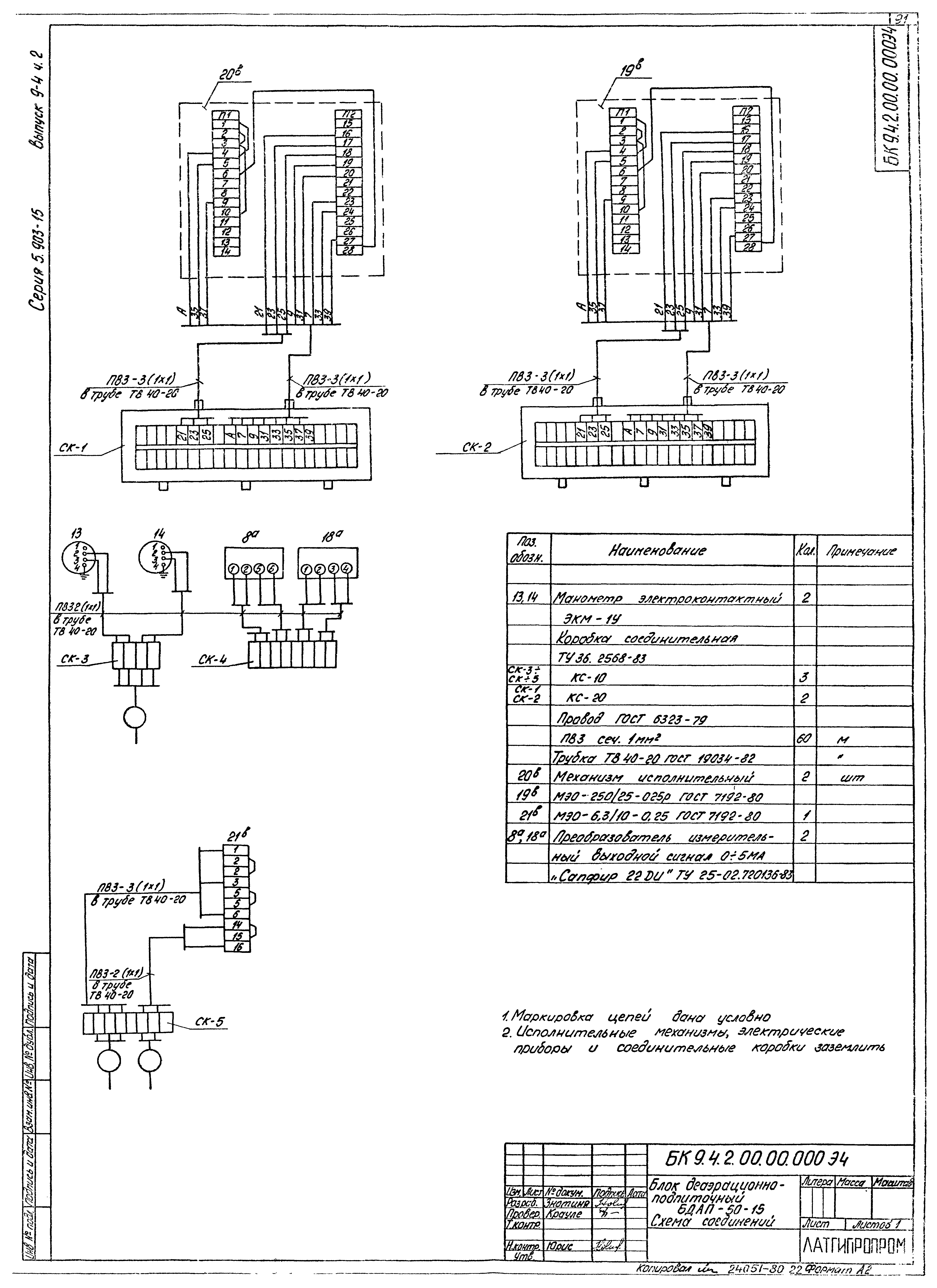
| Оглавление: | Блок деаэрационно-подпиточный БДАП-50-15 БК9.4.1.02.10.000 Трубопровод БК9.4.1.02.10.000СБ Трубопровод БК9.4.1.02.11.000 Трубопровод БК9.4.1.02.11.000СБ Трубопровод БК9.4.1.02.12.000 Трубопровод БК9.4.1.02.12.000СБ Трубопровод БК9.4.1.02.13.000СБ Трубопровод БК9.4.1.02.13.000 Трубопровод БК9.4.1.02.14.000 Трубопровод БК9.4.1.02.14.000СБ Трубопровод БК9.4.1.02.14.001 Патрубок БК9.4.1.02.14.002 Труба БК9.4.1.02.14.003 Труба БК9.4.1.02.14.004 Труба БК9.4.1.02.15.000 Трубопровод БК9.4.1.02.16.000 Трубопровод БК9.4.1.02.15.000СБ Трубопровод БК9.4.1.02.16.000СБ Трубопровод БК9.4.1.03.00.000СБ Гидрозатвор БК9.4.1.03.00.000 Гидрозатвор БК9.4.1.03.01.000 Трубопровод БК9.4.1.03.01.000СБ Трубопровод БК9.4.1.03.02.000 Колено БК9.4.1.03.02.000СБ Колено БК9.4.1.03.03.000 Трубопровод БК9.4.1.03.03.000СБ Трубопровод БК9.4.1.04.00.000СБ Трубопровод БК9.4.1.04.00.000 Трубопровод БК9.4.1.05.00.000 Лестница БК9.4.1.05.01.000 Лестничный марш БК9.4.1.05.00.000СБ Лестница БК9.4.1.05.01.000СБ Лестничный марш Установка приборов контроля и автоматики блока БДАП-50-15 БК9.4.2.00.00.000 Блок БДАП-50-15. Установка приборов контроля и автоматики БК9.4.2.00.00.000СБ Блок БДАП-50-15. Установка приборов контроля и автоматики БК9.4.2.00.00.000СО Блок БДАП-50-15. Схема автоматизации БК9.4.2.00.00.000ЭЗ Блок БДАП-50-15. Схема электрическая принципиальная регулятора БК9.4.2.00.00.000ЭЗ.1 Блок БДАП-50-15. Схема электрическая принципиальная регулятора БК9.4.2.00.00.000ЭЧ Блок БДАП-50-15. Схема соединений БК9.4.2.00.00.001 Основание БК9.4.2.00.00.002 Основание БК9.4.2.00.00.003 Основание БК9.4.2.00.00.004 Кронштейн БК9.4.2.00.00.005 Кронштейн БК9.4.2.00.00.006 Прокладка БК9.1.2.00.00.001 Штуцер БК9.4.2.00.00.007 Труба БК9.4.2.00.00.008 Труба БК9.4.2.01.00.000 Стойка БК9.4.2.01.00.000СБ Стойка БК9.4.2.02.00.000 Стойка БК9.4.2.02.00.000СБ Стойка БК9.4.2.03.00.000 Рычаг БК9.4.2.03.00.000СБ Рычаг БК9.4.2.04.00.000 Рычаг БК9.4.2.04.00.000СБ Рычаг БК9.1.2.04.00.000 Трубопровод БК9.1.2.04.00.000СБ Трубопровод БК9.1.2.04.00.001 Труба Установка электрооборудования блока БДАП-50-15 БК9.4.3.00.00.000 Блок БДАП-50-15. Установка электрооборудования БК9.4.3.00.00.000СБ Блок БДАП-50-15. Установка электрооборудования БК9.4.3.01.00.000 Кронштейн БК9.4.3.01.00.000СБ Кронштейн БК9.4.3.01.00.001 Кронштейн Теплоизоляция блока БДАП-50-15 БК9.4.4.00.00.000 Блок БДАП-50-15. Ведомость объемов теплоизоляционных работ БК9.4.4.00.00.000ТИ Блок БДАП-50-15. Ведомость теплоизоляционных конструкций БК9.4.4.00.00.000ВМ Блок БДАП-50-15. Ведомость теплоизоляционных материалов |
| Разработан: | Латгипропром |
| Утверждён: | 14.02.1990 ММСС СССР |
| Издан: | ЦИТП Госстроя СССР (CITP, Gosstroy (USSR) 1990 г. ) |


































