Скачать ГОСТ 21506-76 Плиты железобетонные ребристые для перекрытий производственных зданий с шагом несущих конструкций 6 м. Технические условияДата актуализации: 01.01.2021
|
| Обозначение: | ГОСТ 21506-76 |
| Обозначение англ: | GOST 21506-76 |
| Статус: | заменен |
| Название рус.: | Плиты железобетонные ребристые для перекрытий производственных зданий с шагом несущих конструкций 6 м. Технические условия |
| Название англ.: | Reinforced ribbed floar slabs in industrial building with load bearing elements spesing of 6 m. Technical specification |
| Дата добавления в базу: | 01.10.2014 |
| Дата актуализации: | 01.01.2021 |
| Дата введения: | 01.01.1977 |
| Дата окончания срока действия: | 01.01.1988 |
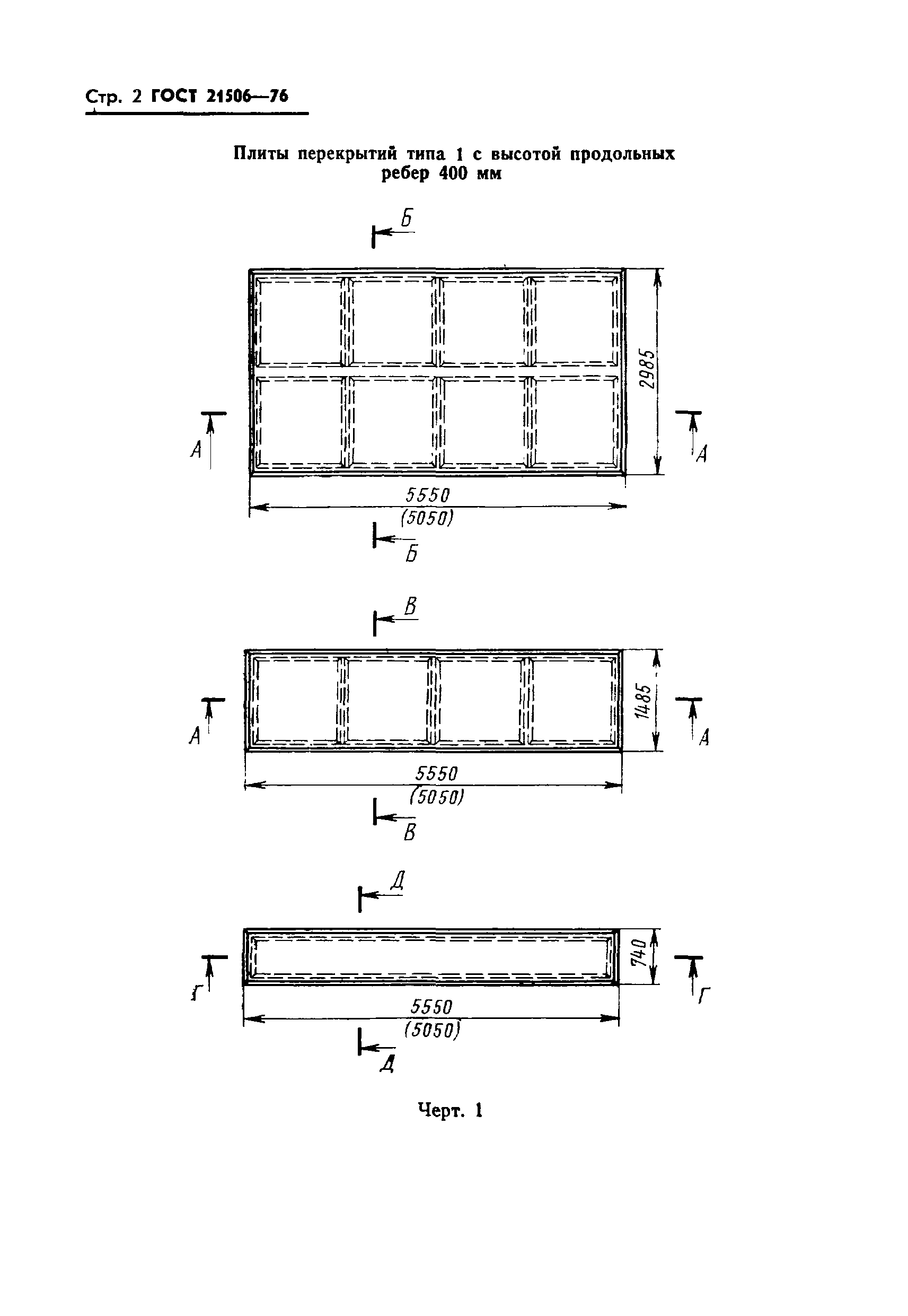
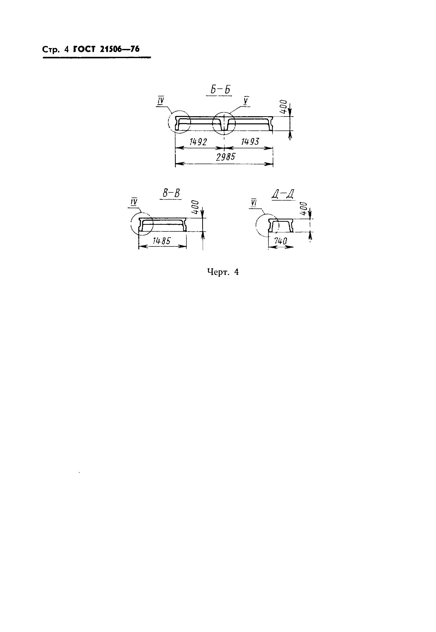
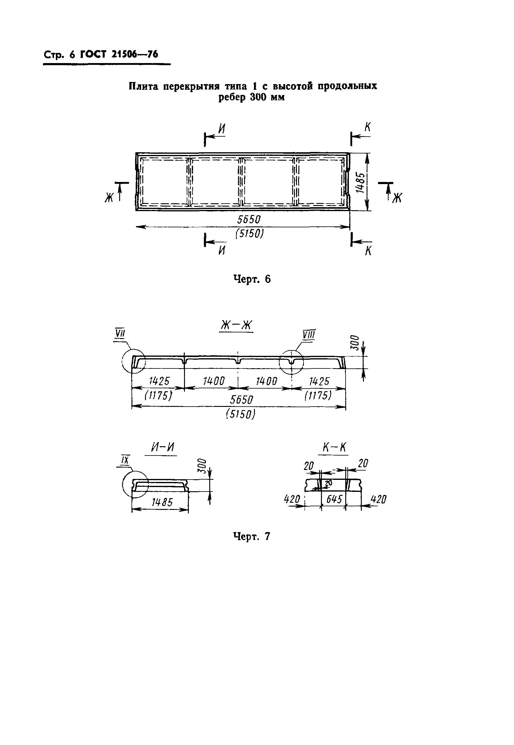
| Область применения: | Стандарт распространяется на железобетонные ребристые плиты, изготовляемые из тяжелого бетона и бетона на пористых заполнителях, предназначаемые для перекрытий производственных зданий и сооружений различного назначения с шагом несущих конструкций 6 м. |
| Оглавление: | 1. Типы и размеры 2. Технические требования 3. Правила приемки и методы испытаний 4. Маркировка, хранение и транспортирование 5. Гарантии изготовителя |
| Утверждён: | 31.12.1975 Государственный комитет Совета Министров СССР по делам строительства (246) |
| Издан: | Издательство стандартов (1980 г. ) |
| Нормативные ссылки: |















