Скачать ГОСТ 6787-80 Плитки керамические для полов. Технические условияДата актуализации: 01.01.2021
|
| Обозначение: | ГОСТ 6787-80 |
| Обозначение англ: | GOST 6787-80 |
| Статус: | заменен |
| Название рус.: | Плитки керамические для полов. Технические условия |
| Название англ.: | Ceramic floor tile. Specifications |
| Дата добавления в базу: | 01.10.2014 |
| Дата актуализации: | 01.01.2021 |
| Дата введения: | 01.01.1982 |
| Дата окончания срока действия: | 31.01.1990 |
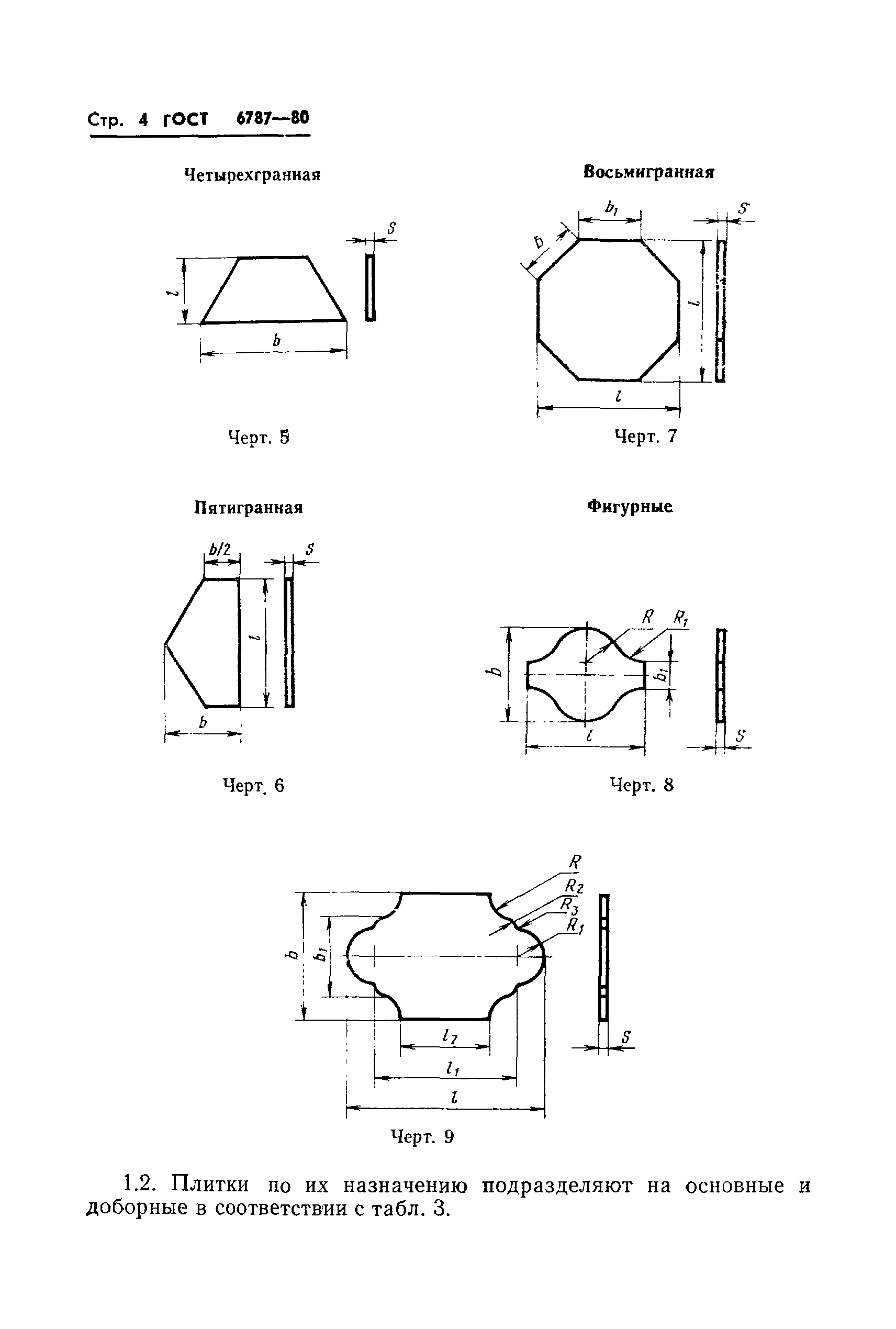
| Область применения: | Стандарт распространяется на керамические неглазурованные и глазурованные плитки для полов с гладкой или рельефной поверхностью и ковры из них. Стандарт не распространяется на плитки, предназначаемые для настила полов, подверженных воздействию концентрированных кислот, щелочей и повышенных механических и динамических нагрузок. |
| Оглавление: | 1. Типы и основные размеры 2. Технические требования 3. Правила приемки 4. Методы испытаний 5. Маркировка, упаковка, транспортирование и хранение 6. Гарантии изготовителя |
| Разработан: | Министерство промышленности строительных материалов СССР |
| Утверждён: | 25.06.1980 Государственный комитет СССР по делам строительства (93) |
| Издан: | Издательство стандартов (1980 г. ) |
| Заменяет собой: |
|
| Нормативные ссылки: |
|



















