Скачать ГОСТ Р ИСО 12981-1-2014 Материалы углеродные для производства алюминия. Определение способности прокаленного кокса реагировать с диоксидом углерода. Часть 1. Метод потери массыДата актуализации: 01.01.2021
|
| Обозначение: | ГОСТ Р ИСО 12981-1-2014 |
| Обозначение англ: | GOST R ISO 12981-1-2014 |
| Статус: | введен впервые |
| Название рус.: | Материалы углеродные для производства алюминия. Определение способности прокаленного кокса реагировать с диоксидом углерода. Часть 1. Метод потери массы |
| Название англ.: | Carbonaceous materials for the production of aluminium. Calcined coke. Determination of the reactivity to carbon dioxide. Part 1. Loss in mass method |
| Дата добавления в базу: | 21.05.2015 |
| Дата актуализации: | 01.01.2021 |
| Дата введения: | 01.07.2015 |
| Область применения: | Стандарт устанавливает метод определения способности прокаленного нефтяного кокса, используемого для изготовления анодов в производстве алюминия, реагировать с диоксидом углерода. |
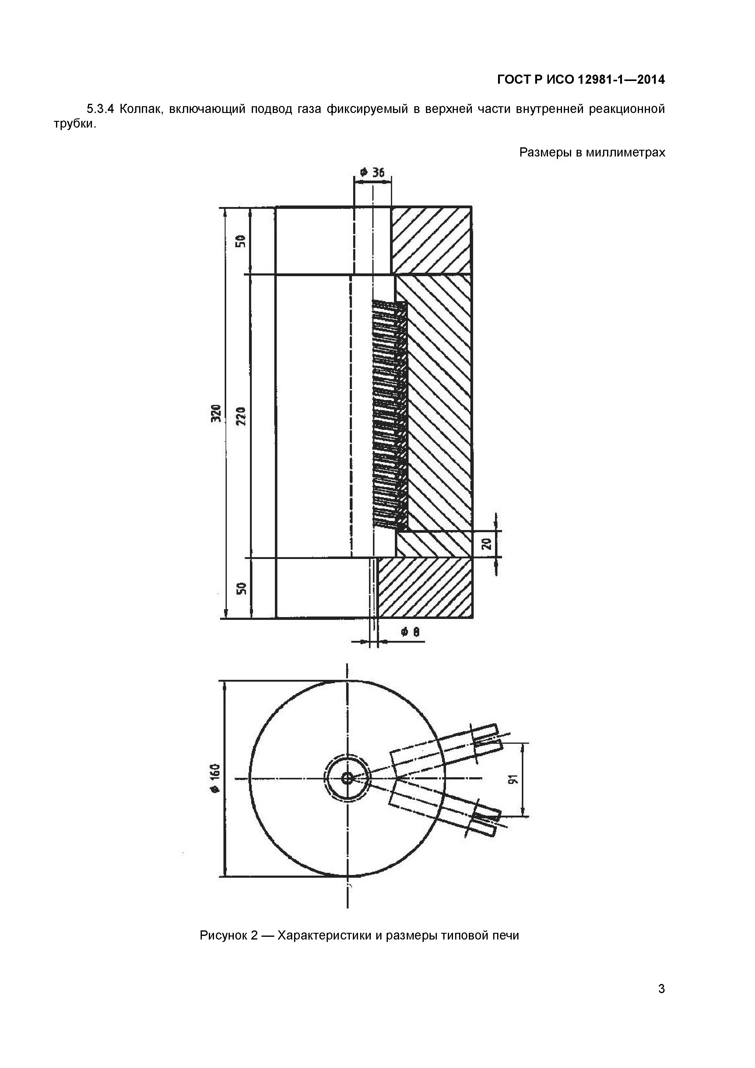
| Оглавление: | 1 Область применения 2 Нормативные ссылки 3 Сущность метода 4 Реактивы 5 Аппаратура 6 Отбор проб 7 Подготовка проб для испытания 8 Проведение испытания 9 Обработка результатов 10 Прецизионность 11 Протокол испытания Приложение А (справочное) Сведения о соответствии ссылочных международных стандартов национальным стандартам Российской Федерации (и действующим в этом качестве межгосударственным стандартам) |
| Разработан: | ОАО Уралэлектродин |
| Утверждён: | 27.02.2014 Федеральное агентство по техническому регулированию и метрологии (51-ст) |
| Издан: | Стандартинформ (2014 г. ) |
| Нормативные ссылки: |










