Скачать ГОСТ 20430-75 Листы асбестоцементные волнистые среднего профиля и детали к нимДата актуализации: 01.01.2021
|
| Обозначение: | ГОСТ 20430-75 |
| Обозначение англ: | GOST 20430-75 |
| Статус: | заменен |
| Название рус.: | Листы асбестоцементные волнистые среднего профиля и детали к ним |
| Название англ.: | Asbestos-cement corrugated sheets of middle profile and detales for them |
| Дата добавления в базу: | 01.10.2014 |
| Дата актуализации: | 01.01.2021 |
| Дата введения: | 01.01.1976 |
| Дата окончания срока действия: | 01.01.1985 |
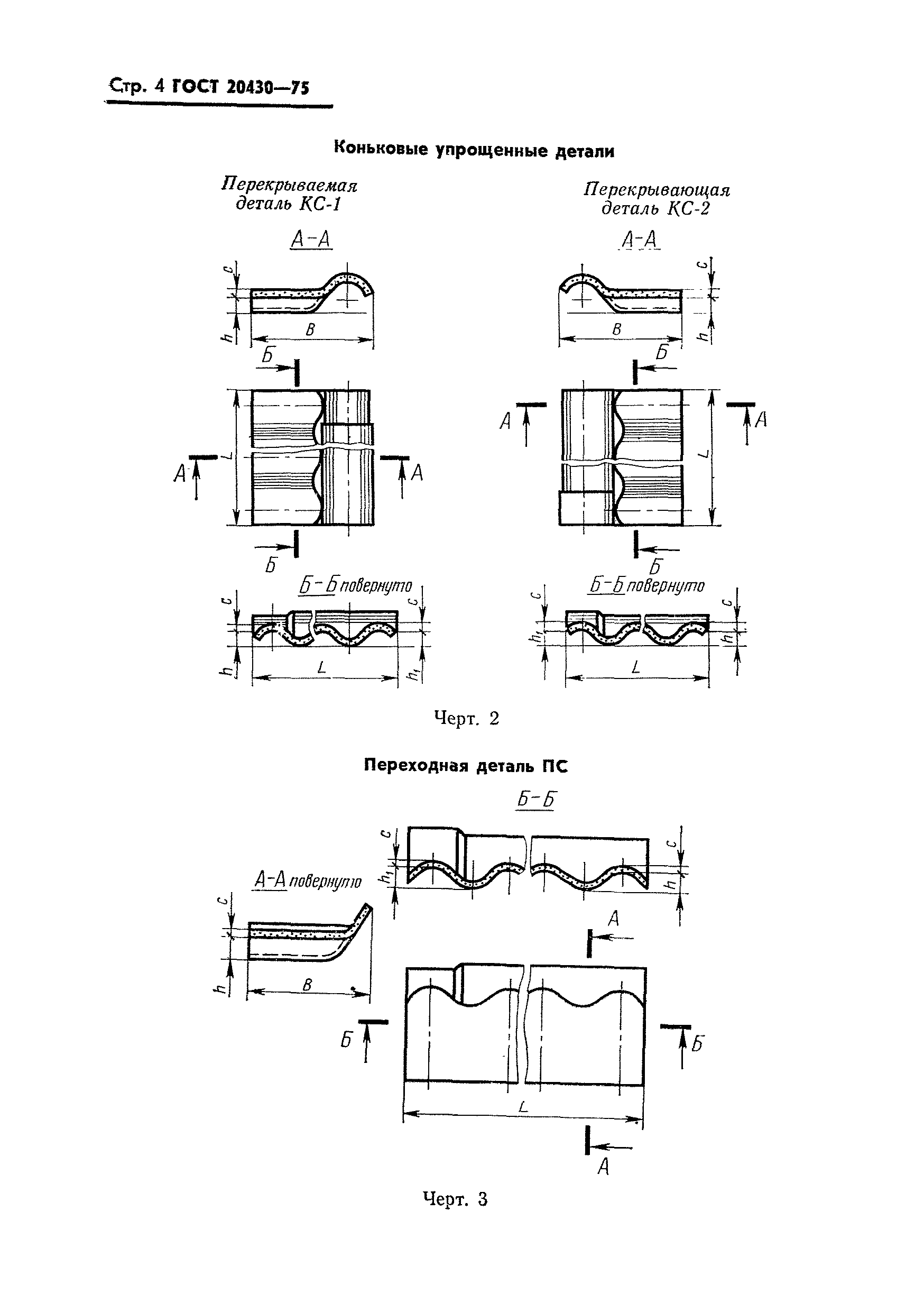
| Область применения: | Стандарт распространяется на асбестоцементные волнистые листы среднего профиля и детали к ним, изготовляемые из асбеста и портландцемента и предназначенные для устройства кровель жилых, общественных и сельскохозяйственных зданий и стеновых ограждений производственных зданий. |
| Оглавление: | 1. Форма и размеры 2. Технические требования 3. Правила приемки 4. Методы испытаний 5. Маркировка, хранение и транспортирование Приложение 1 Справочная масса листов Приложение 2 Справочная масса деталей |
| Утверждён: | 09.01.1975 Государственный комитет Совета Министров СССР по делам строительства (6) |
| Издан: | Издательство стандартов (1980 г. ) |
| Заменяет собой: |
|












