Скачать ГОСТ 22689.2-77 Трубы пластмассовые канализационные и фасонные части к ним. Раструбы и гладкие концы фасонных частей. Типы, конструкция и размерыДата актуализации: 01.01.2021 ГОСТ 22689.2-77
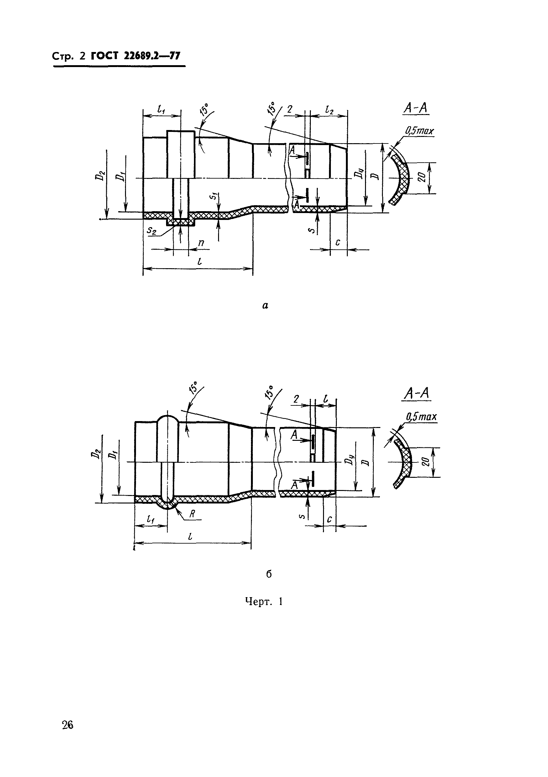
Трубы пластмассовые канализационные и фасонные части к ним. Раструбы и гладкие концы фасонных частей. Типы, конструкция и размеры| Обозначение: | ГОСТ 22689.2-77 | | Обозначение англ: | GOST 22689.2-77 | | Статус: | заменен | | Название рус.: | Трубы пластмассовые канализационные и фасонные части к ним. Раструбы и гладкие концы фасонных частей. Типы, конструкция и размеры | | Название англ.: | Plastic waste pipes and fitings. Sockets and spigot ends. Types, construction and dimensions | | Дата добавления в базу: | 01.10.2014 | | Дата актуализации: | 01.01.2021 | | Дата введения: | 01.01.1979 | | Дата окончания срока действия: | 01.10.1989 | | Область применения: | Стандарт распространяется на раструбы и гладкие концы фасонных частей, изготовляемых из полиэтилена высокой плотности, полиэтилена низкой плотности, полипропилена и непластифицированного поливинилхлорида, предназначаемых для систем внутренней канализации зданий. | | Утверждён: | 08.08.1977 Государственный комитет Совета Министров СССР по делам строительства (112)
| | Издан: | Издательство стандартов (1980 г. )
|
       
|