Скачать ГОСТ 32537-2013 Методы испытаний химической продукции, представляющей опасность для окружающей среды. Определение биоразлагаемости при аэробных методах очисткиДата актуализации: 01.01.2021
|
| Обозначение: | ГОСТ 32537-2013 |
| Обозначение англ: | GOST 32537-2013 |
| Статус: | введен впервые |
| Название рус.: | Методы испытаний химической продукции, представляющей опасность для окружающей среды. Определение биоразлагаемости при аэробных методах очистки |
| Название англ.: | Testing of chemicals of environmental hazard. Determination of biodegradability under aerobic treatment methods |
| Дата добавления в базу: | 21.05.2015 |
| Дата актуализации: | 01.01.2021 |
| Дата введения: | 01.08.2014 |
| Область применения: | Стандарт устанавливает испытания биоразлагаемости методом моделирования на модельных установках, представляющих два основных вида аэробной биологической очистки сточных вод: активным илом и фильтрацией. |
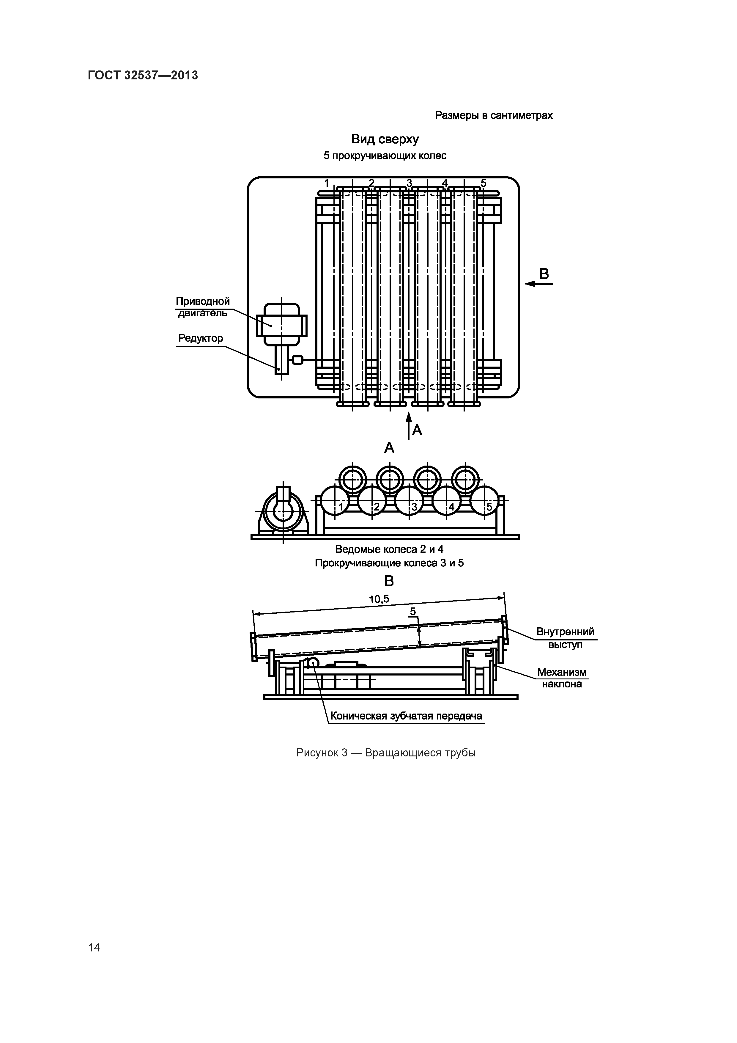
| Оглавление: | 1 Область применения 2 Термины и определения 3 Аэротенки 3.1 Принцип метода 3.2 Испытуемое вещество 3.3 Проходные значения 3.4 Вещества сравнения 3.5 Воспроизводимость результатов испытаний 3.6 Описание метода 3.6.1 Тест-система 3.6.2 Фильтровальные установки или центрифуга 3.6.3 Аналитическая аппаратура 3.6.4 Вода 3.6.5 Органическая среда 3.6.6 Синтетические сточные воды 3.6.7 Бытовые сточные воды 3.6.8 Активный ил 3.6.9 Концентрированные растворы испытуемого вещества 3.7 Процедура 3.7.1 Подготовка инокулюма 3.7.2 Дозировка органической среды 3.7.3 Дозировка испытуемого вещества 3.7.4 Обработка активного ила 3.7.5 Отбор образцов и анализ 3.7.6 Сопряжение испытательных установок 3.8 Данные и отчетность 3.8.1 Обработка результатов 3.8.2 Представление результатов исследования 3.8.3 Адсорбция 3.8.4 Индукционный период 3.8.5 Фаза плато 3.8.6 Средний уровень удаления испытуемого вещества 3.8.7 Удаление органической среды 3.8.8 Признаки биоразложения 3.8.9 Оценка достоверности результатов исследования 3.8.10 Отчет об испытаниях 4 Биопленки 4.1 Принципы исследования 4.2 Информация об исследуемом веществе 4.3 Проходные уровни 4.4 Сравнительные вещества 4.5 Воспроизводимость результатов исследования 4.6 Описание метода 4.6.1 Аппаратура 4.6.1.1 Вращающиеся трубчатые реакторы 4.6.1.2 Фильтровальная аппаратура — центрифуга 4.6.2 Вода 4.6.3 Органическая среда 4.6.4 Синтетические сточные воды 4.6.5 Бытовые сточные воды 4.6.6 Смазочный материал 4.6.7 Основные растворы исследуемого вещества 4.7 Процедура 4.7.1 Подготовка органической среды для дозирования 4.7.2 Эксплуатация вращающихся трубчатых реакторов 4.7.3 Инокуляция 4.7.4 Измерения 4.7.5 Отбор проб и анализ 4.7.6 Период приработки 4.7.7 Введение испытуемого вещества 4.7.8 Период адаптации 4.7.9 Смыв биопленки 4.8 Данные и отчет 4.8.1 Обработка результатов 4.8.2 Работа контрольного реактора 4.8.3 Выражение результатов исследования 4.8.4 Адсорбция 4.8.5 Латентная фаза 4.8.6 Стабильная фаза 4.8.7 Средний уровень удаления исследуемого вещества 4.8.8 Признаки биоразложения 4.8.9 Действительность результатов исследования 4.9 Отчет об исследовании Приложение A (рекомендуемое) Корреляция между периодом удержания химических веществ в иле и возможностью их очистки Приложение B (справочное) Исследование при низком интервале концентрации (мкг/л) Приложение C (справочное) Слаборастворимые вещества, используемые в исследовании (летучие вещества) Приложение D (справочное) Сопряжение испытательной установки Приложение E (рекомендуемое) Расчет кинетических констант Приложение F (рекомендуемое) Оценка ингибирования активного ила испытуемым веществом . Библиография |
| Разработан: | ФГУП ВНИЦ СМВ |
| Утверждён: | 14.11.2013 Межгосударственный Совет по стандартизации, метрологии и сертификации (Inter-Governmental Council on Standardization, Metrology, and Certification 44) 22.11.2013 Федеральное агентство по техническому регулированию и метрологии (785-ст) |
| Издан: | Стандартинформ (2014 г. ) |







































