Скачать ГОСТ 19811-82 Краны консольные электрические стационарные. Типы, основные параметры и размерыДата актуализации: 01.01.2021 ГОСТ 19811-82
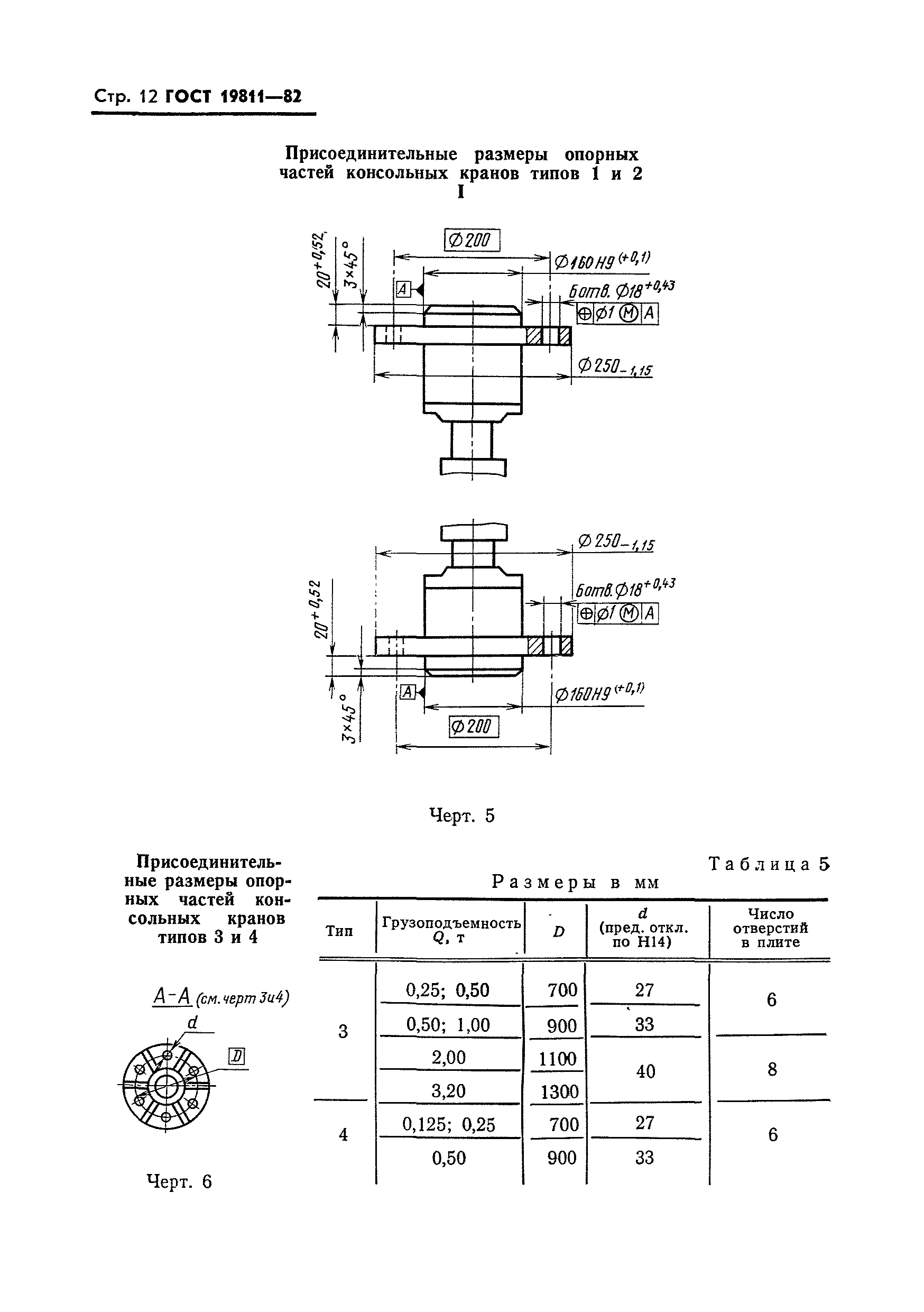
Краны консольные электрические стационарные. Типы, основные параметры и размеры| Обозначение: | ГОСТ 19811-82 | | Обозначение англ: | GOST 19811-82 | | Статус: | заменен | | Название рус.: | Краны консольные электрические стационарные. Типы, основные параметры и размеры | | Название англ.: | Stationary electric bracket-swing cranes. Types, basic parameters and dimensions | | Дата добавления в базу: | 01.10.2014 | | Дата актуализации: | 01.01.2021 | | Дата введения: | 01.01.1984 | | Дата окончания срока действия: | 01.01.1991 | | Область применения: | Стандарт распространяется на консольные стационарные поворотные краны общего назначения с электрической талью группы режима работы 2К по ГОСТ 25546-82, грузоподъемностью от 0,125 до 3,2 т, управляемые с пола, работающие на трехфазном токе напряжением 220 или 380 В, частотой 50 Гц, в климатическом исполнении У категорий размещения 2 и 3 по ГОСТ 15150-69. | | Утверждён: | 13.08.1982 Государственный комитет СССР по стандартам (USSR National Committee on Standards 3219)
| | Издан: | Издательство стандартов (1985 г. )
| | Заменяет собой: | ГОСТ 19811-74 «Краны консольные стационарные поворотные с электрической талью. Типы. Основные параметры и размеры» | | Нормативные ссылки: | |
             
|