Скачать М64996 Заземление нейтрали в промышленных установках 6 - 35 кВДата актуализации: 01.01.2021
|
| Обозначение: | М64996 |
| Обозначение англ: | М64996 |
| Статус: | справочные материалы, мп, тпр |
| Название рус.: | Заземление нейтрали в промышленных установках 6 - 35 кВ |
| Название англ.: | Alphanumeric Designations in Electrical and Engineering Design Documentation |
| Дата добавления в базу: | 01.10.2014 |
| Дата актуализации: | 01.01.2021 |
| Область применения: | Документ содержит рекомендации по выбору и реализации целесообразного режима заземления нейтрали в промышленных электрических сетях 6 - 35 кВ частотой до 400 Гц |
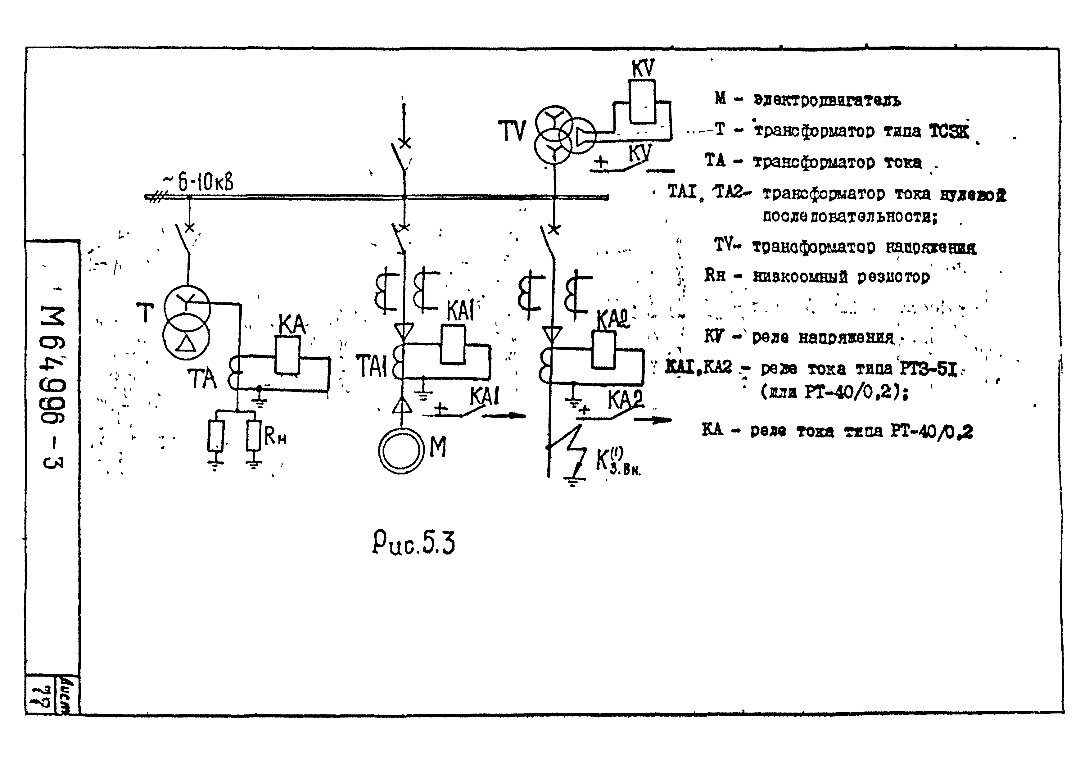
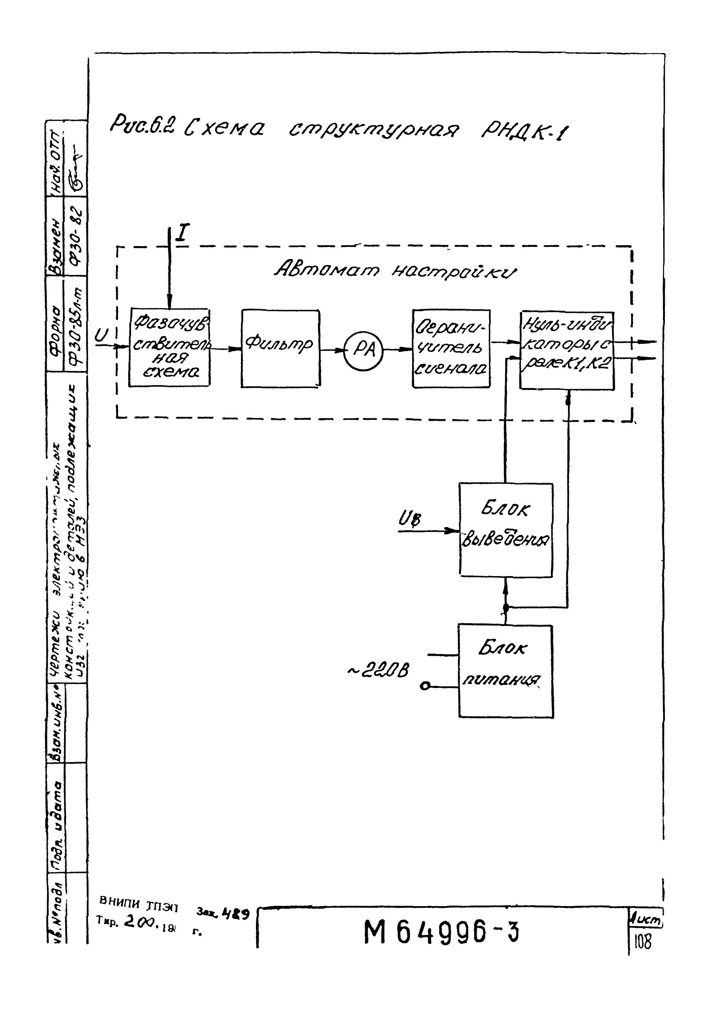
| Оглавление: | 1 Общие положения 2 Преимущества и недостатки различных режимов заземления нейтрали ПЭС 3 Выбор режима заземления нейтрали промышленных электрических сетей 6 — 35 кВ 4 Выполнение заземления нейтрали ПЭС через дугогасящий реактор 5 Выполнение резисторного заземления нейтрали ПЭС 6 Приложения 6.1 Основные термины и определения 6.2. Расчет значения емкостного тока однофазного замыкания ка землю 6.3. Технические данные дугогасящих реакторов 6.4. Трансформатор для подключения дугогасящих реакторов 6.5. Технические характеристики и принципы работы некоторых автоматических регуляторов настройки ДГР. Рекомендуемые схемы управления, сигнализации и контроля ДГР 6.6. Резисторы для комплектации заземляющего резистора в "R" - сети 6.7. Рекомендуемые значения сопротивления высокоомных заземляющих резисторов 7. Литература |
| Разработан: | ВНИПИ Тяжпромэлектропроект |
| Утверждён: | ВНИПИ Тяжпромэлектропроект им. Ф.Б. Якубовского (F.B.Yakubovskiy Tyazhpromelektroproject VNIPI ) |
| Заменяет собой: | |
| Нормативные ссылки: |






































































































































