Скачать М788-1087 Рекомендации по защите от помех средств вычислительной технике, включая персональные ЭВМДата актуализации: 01.01.2021
|
| Обозначение: | М788-1087 |
| Обозначение англ: | М788-1087 |
| Статус: | справочные материалы, мп, тпр |
| Название рус.: | Рекомендации по защите от помех средств вычислительной технике, включая персональные ЭВМ |
| Название англ.: | Alphanumeric Designations in Electrical and Engineering Design Documentation |
| Дата добавления в базу: | 01.10.2014 |
| Дата актуализации: | 01.01.2021 |
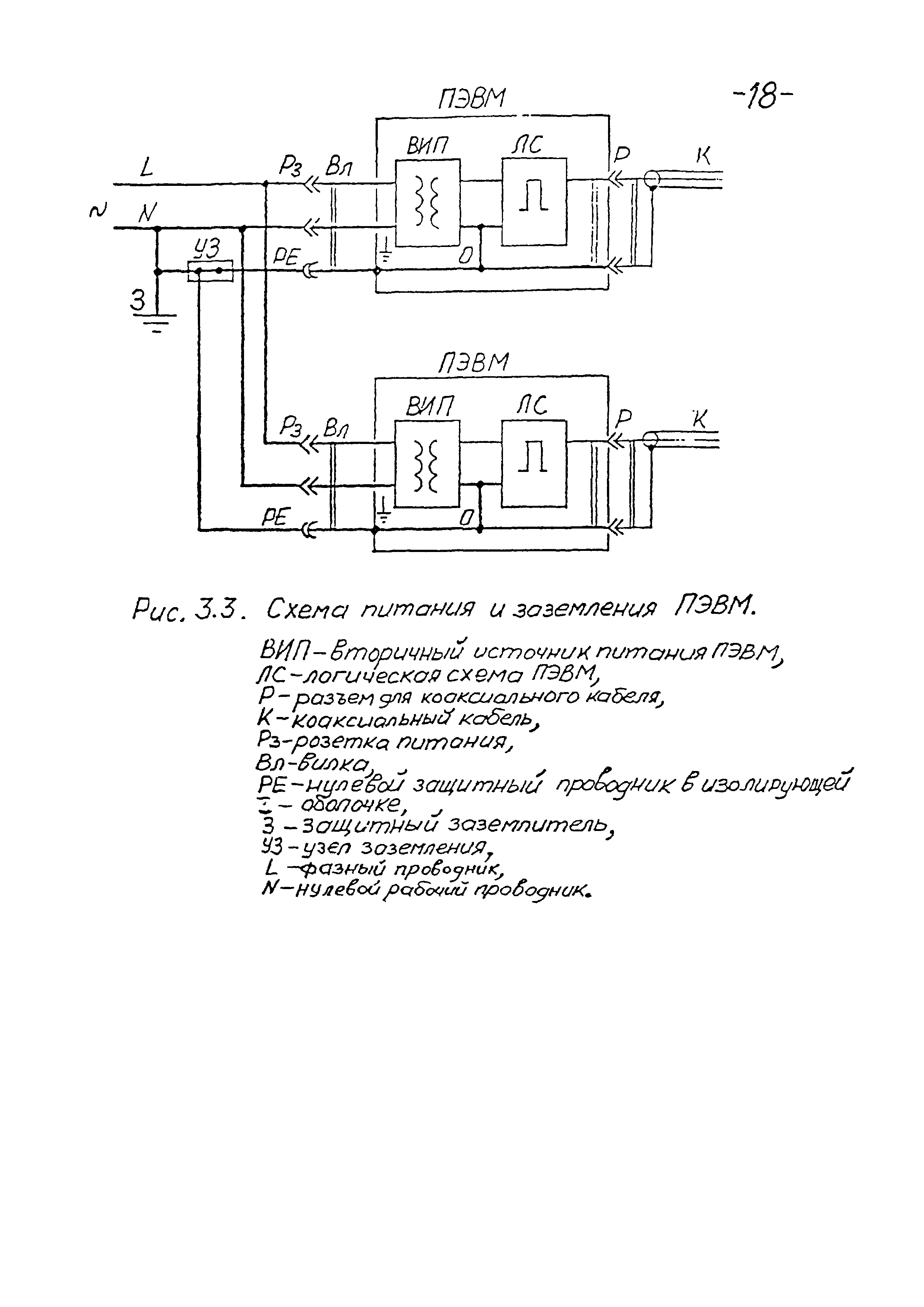
| Область применения: | В работе рассмотрены источники помех, создаваемых в линиях передачи информации СВТ, в том числе ПЭВМ, и даны рекомендации по защите этих линий от помех путем рационального построения устройств заземления СВТ и правильного выбора, монтажа и прокладки кабелей для передачи информации |
| Оглавление: | Введение 1. Помехи и пути их распространения 2. Классификация линий передачи информации СВТ по степени помехозащищенности 3. Заземление СВТ 3.1 Общие требования. Защитное заземление и нуль-система 3.2 Защитное заземление 3.3 Нуль-система 3.4 Заземление персональных ЭВМ 4. Выбор, монтаж и прокладка кабелей и проводов для линий передачи информации 4.1 Требования к конструкции кабелей 4.2 Рекомендуемые к применению типы кабелей, выпускаемых отечественной промышленностью 4.3 Монтаж кабелей для передачи информации 4.4 Прокладка кабелей 4.5 Выбор, монтаж и прокладка кабелей управления в цепях комплектных тиристорных электроприводов Заключение |
| Разработан: | ВНИПИ Тяжпромэлектропроект |
| Утверждён: | 03.06.1992 ВНИПИ Тяжпромэлектропроект им. Ф.Б. Якубовского (F.B.Yakubovskiy Tyazhpromelektroproject VNIPI ) |
| Заменяет собой: |





























