Скачать Рекомендации по выбору принципа использования вечномерзлых грунтов в качестве оснований зданий

Дата актуализации: 01.01.2021

Рекомендации по выбору принципа использования вечномерзлых грунтов в качестве оснований зданий

Статус:справочные материалы, мп, тпр
Название рус.:Рекомендации по выбору принципа использования вечномерзлых грунтов в качестве оснований зданий
Дата добавления в базу:01.10.2014
Дата актуализации:01.01.2021
Область применения:Рекомендации преследуют цель дать научное обоснование выбору принципа использования вечномерзлых грунтов в качестве оснований зданий. Выбор принципа осуществляется на основе технико-экономического сравнения вариантов о оценкой надежности принимаемых проектных решений, что является новым в практике фундаментостроения на вечномерзлых грунтах. Расчеты выполняются на ЭВМ. В Рекомендациях описываются алгоритм и программа расчета, излагается вероятностно-экономический подход к выбору принципа, даются указания по назначению исходных данных. Рекомендации позволяют повысить качество проектирования и обеспечить экономически оптимальный уровень надежности проектируемых объектов. Рекомендации адресованы проектным организациям, занимающимся вопросами строительства в районах распространения вечномерзлых грунтов.
Оглавление:Введение
1 Общие положения
2 Назначение исходных данных
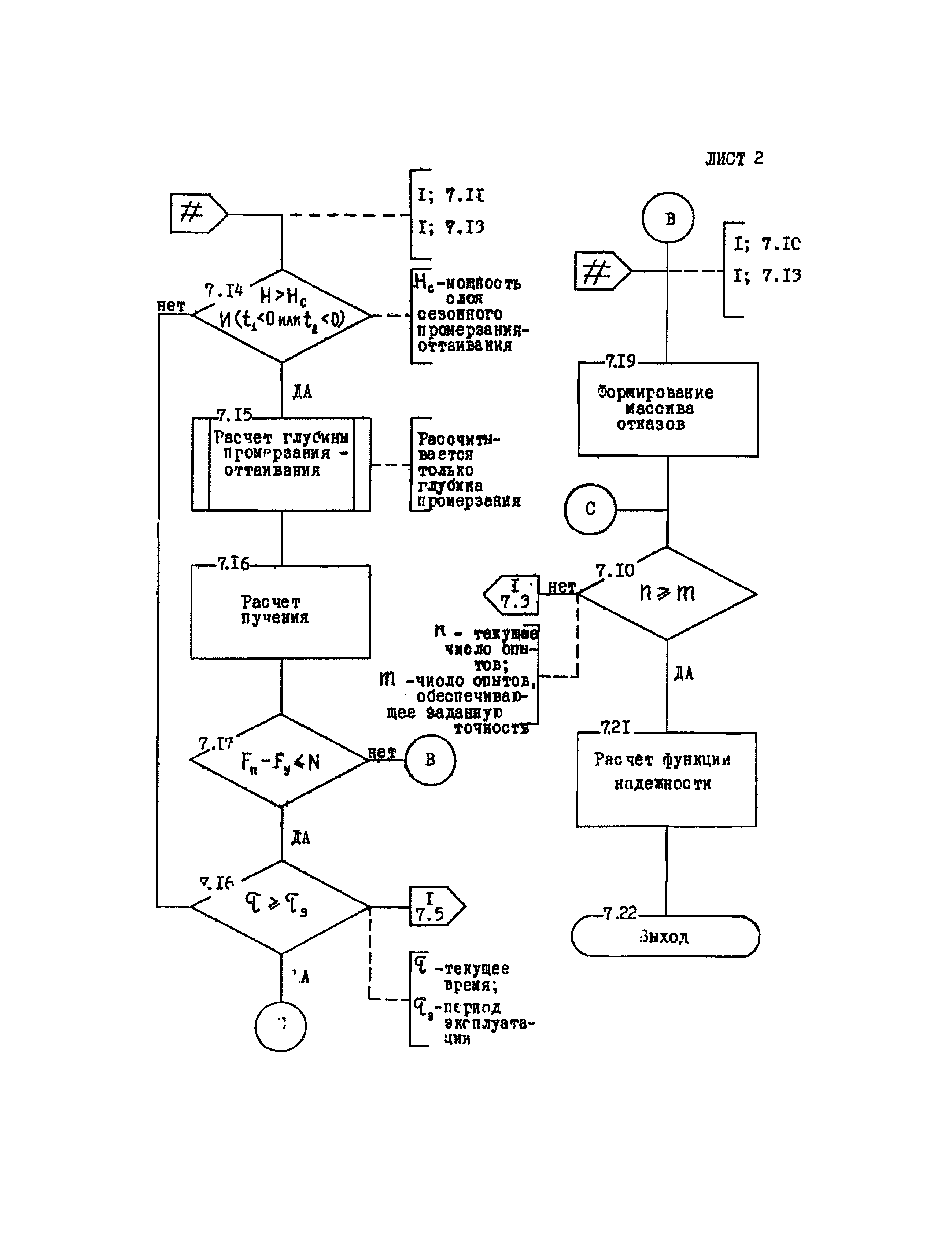
3 Описание алгоритма
Литература
Приложение 1. Описание фортран-программы расчета функции надежности основания и приведенной суммарной стоимости здания
Приложение 2. Условия приобретения программы
Приложение 3. Пример расчета
Разработан: НИИОСП им. Герсеванова Госстроя России
Утверждён: НИИОСП им. Н.М. Герсеванова Госстроя СССР (Gersevanov NIIOSP, USSR Gosstroy )
Нормативные ссылки: