Скачать Материалы по проектированию зданий и сооружений в районах распространения газогенерирующих насыпных грунтов на территории г. Москвы

Дата актуализации: 01.01.2021

Материалы по проектированию зданий и сооружений в районах распространения газогенерирующих насыпных грунтов на территории г. Москвы

Статус:действует
Название рус.:Материалы по проектированию зданий и сооружений в районах распространения газогенерирующих насыпных грунтов на территории г. Москвы
Дата добавления в базу:01.10.2014
Дата актуализации:01.01.2021
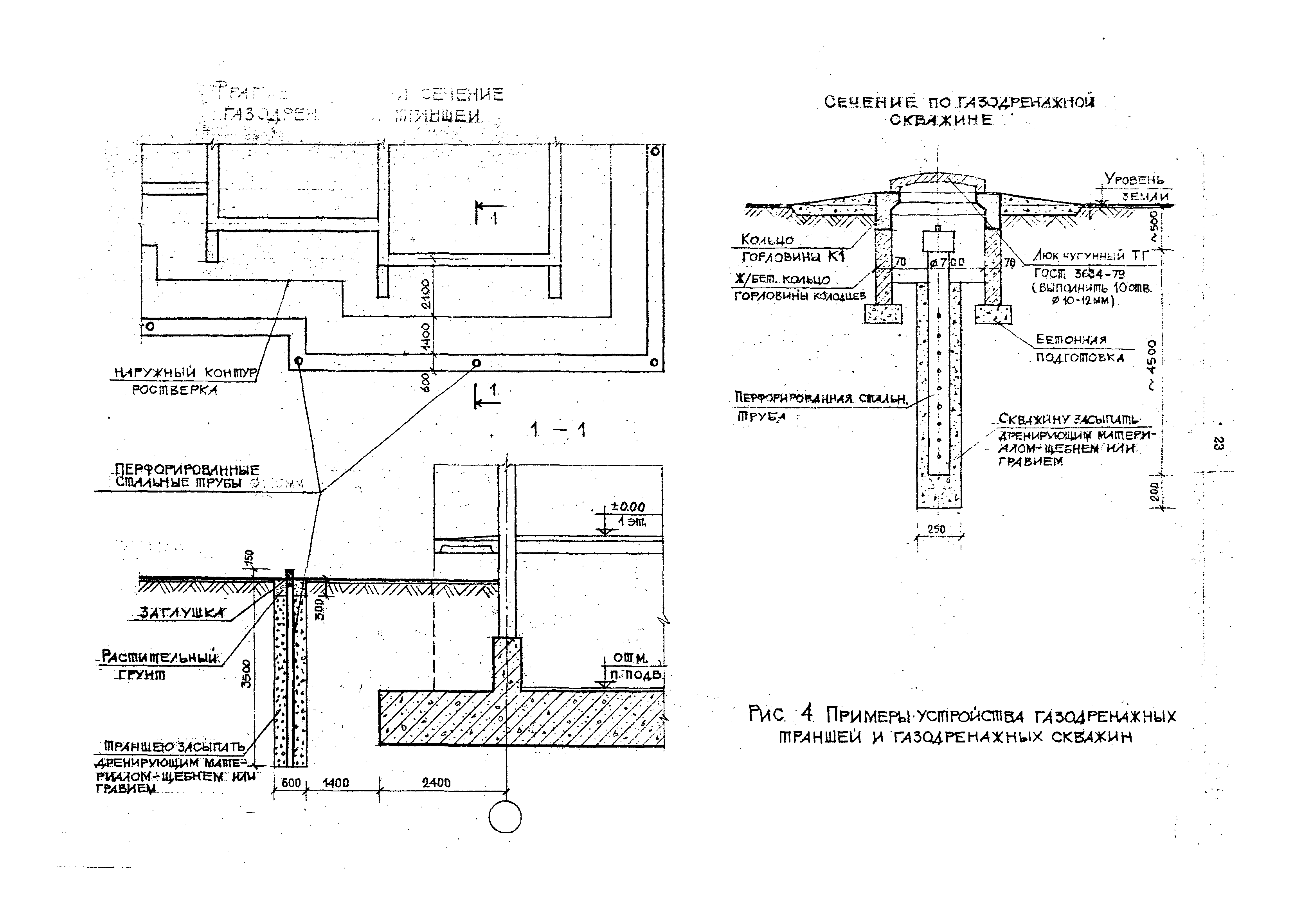
Область применения:В документе рассмотрены специфические вопросы газогеохимических (геоэкологических) изысканий на территориях г. Москвы с развитием газогенерирующих насыпных грунтов, вопросы благоустройства территорий, инженерно-технических мер защиты и эксплуатации зданий и сооружений, расположенных на указанных территориях
Оглавление:1 Общие положения
2 Инженерно-геологические изыскания и газогеохимические исследования
3 Проектирование инженерной подготовки территории
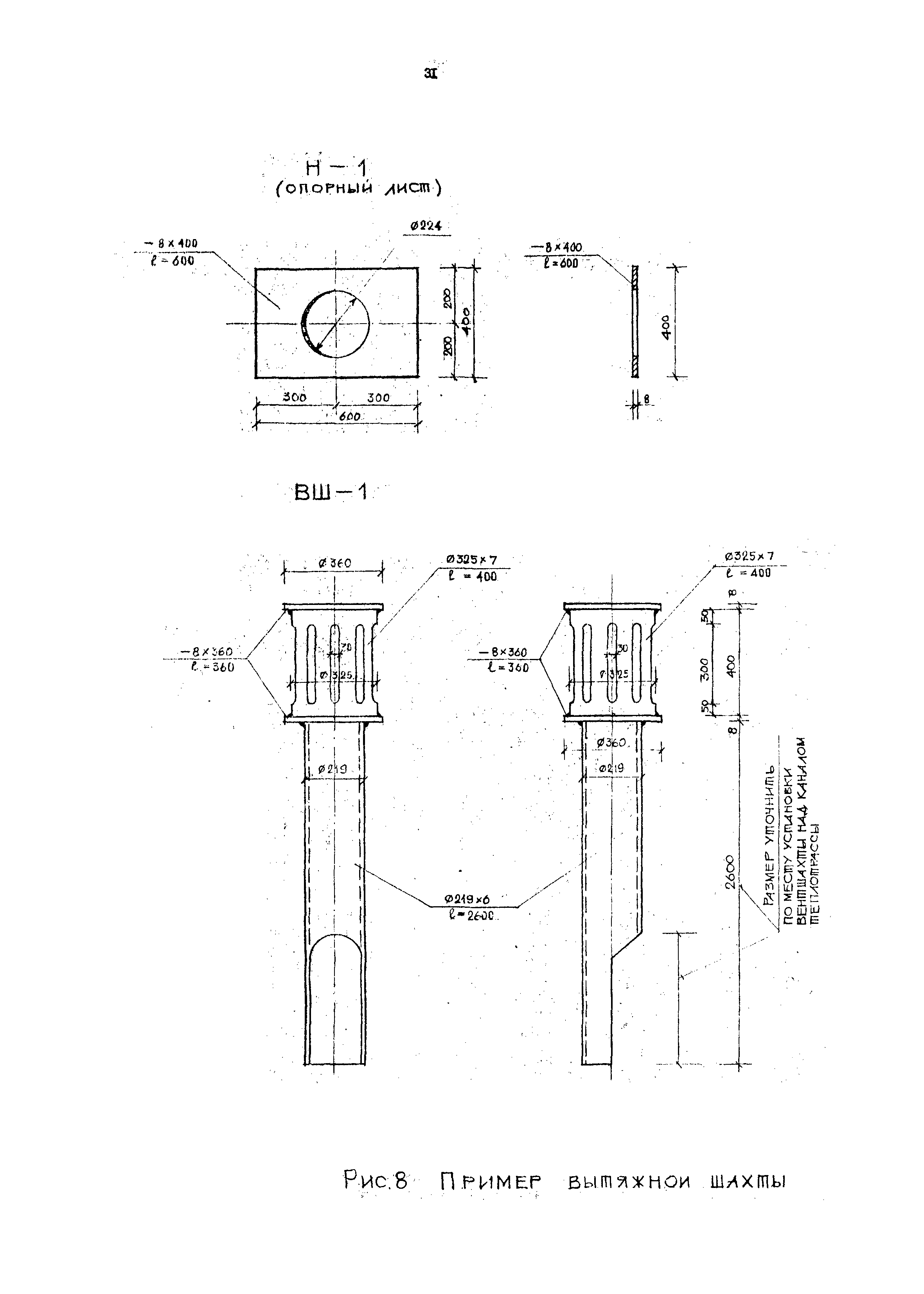
4 Проектирование газозащитных сооружений, систем и устройств
Разработан: Моспроект-1
Межотраслевой научно-технический комплекс Геос
Раменский филиал ВНИИГеоинформсистем
Утверждён:18.12.1991 Моспроект-1 (15)
Нормативные ссылки: