Скачать ТТК К-IV-9-10 Установка унифицированных железобетонных ригелей на свободностоящих одностоечных промежуточных железобетонных опорах ВЛ 110, 150 и 220 кВ со стойками L = 26 м при заделке их в цилиндрические котлованыДата актуализации: 01.01.2021
|
| Обозначение: | ТТК К-IV-9-10 |
| Обозначение англ: | К-IV-9-10 |
| Статус: | не установлен срок действия |
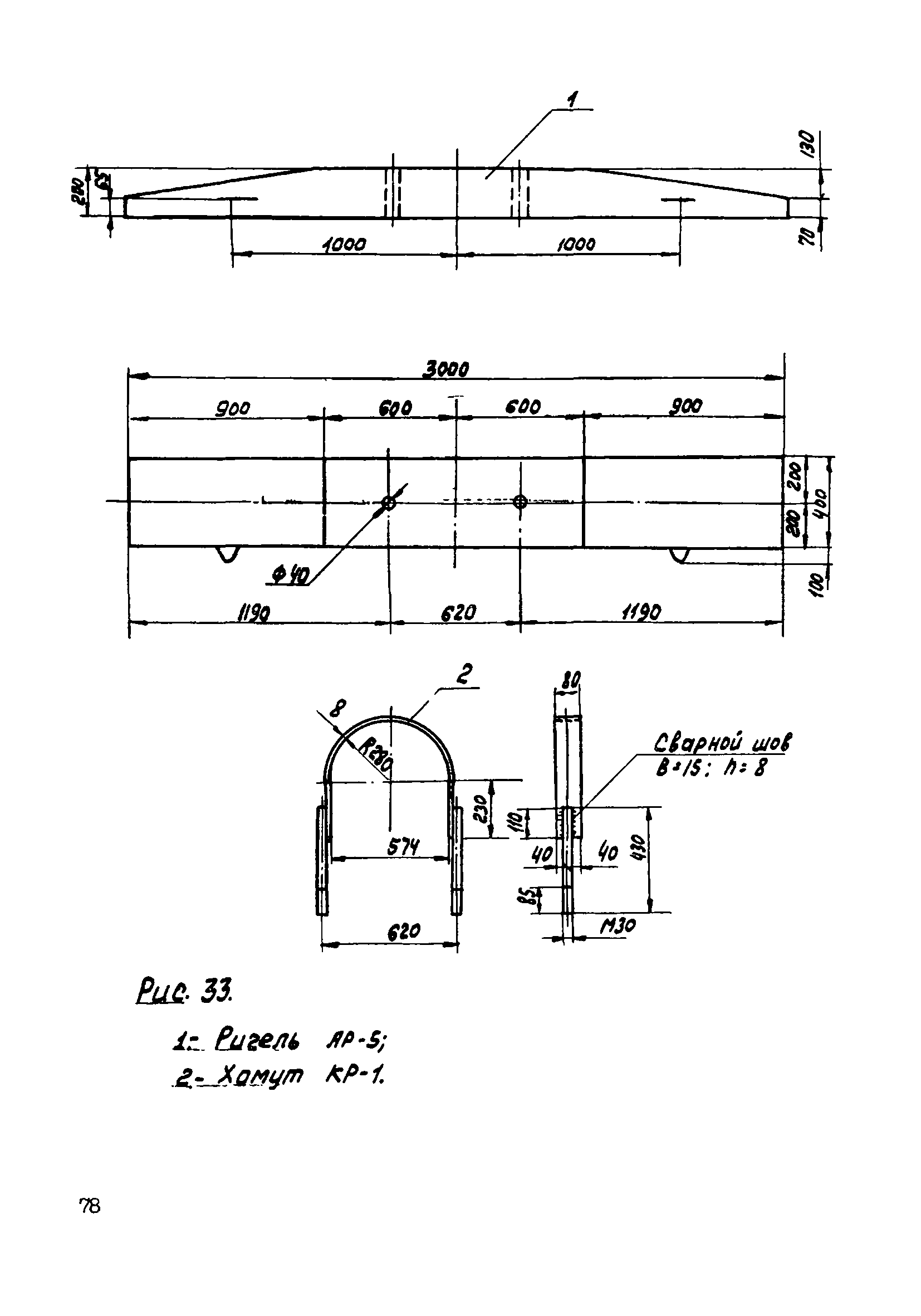
| Название рус.: | Установка унифицированных железобетонных ригелей на свободностоящих одностоечных промежуточных железобетонных опорах ВЛ 110, 150 и 220 кВ со стойками L = 26 м при заделке их в цилиндрические котлованы |
| Дата добавления в базу: | 01.10.2014 |
| Дата актуализации: | 01.01.2021 |
| Область применения: | Технологическая карта служит руководством по установке унифицированных железобетонных ригелей на свободностоящих одностоечных промежуточных железобетонных опорах ВЛ 110, 150 и 220 кВ со стойками L = 26 м при заделке их ц цилиндрические котлованы |
| Оглавление: | 1 Область применения 2 Технико-экономические показатели на установку одного ригеля 3 Организация и технология установки ригеля 4 Организация и методы труда рабочих Материально-технические ресурсы (для одной бригады рабочих) Механизмы Инструменты и приспособления |
| Разработан: | Институт Оргэнергострой |
| Утверждён: | Институт Оргэнергострой |
| Нормативные ссылки: |





























