Скачать ТТК К-4-22-2 Сборка одностоечных железобетонных опор с цилиндрическими стойками наружным диаметром 800 мм ВЛ 110 - 220 кВДата актуализации: 01.01.2021
|
| Обозначение: | ТТК К-4-22-2 |
| Обозначение англ: | К-4-22-2 |
| Статус: | не установлен срок действия |
| Название рус.: | Сборка одностоечных железобетонных опор с цилиндрическими стойками наружным диаметром 800 мм ВЛ 110 - 220 кВ |
| Дата добавления в базу: | 01.10.2014 |
| Дата актуализации: | 01.01.2021 |
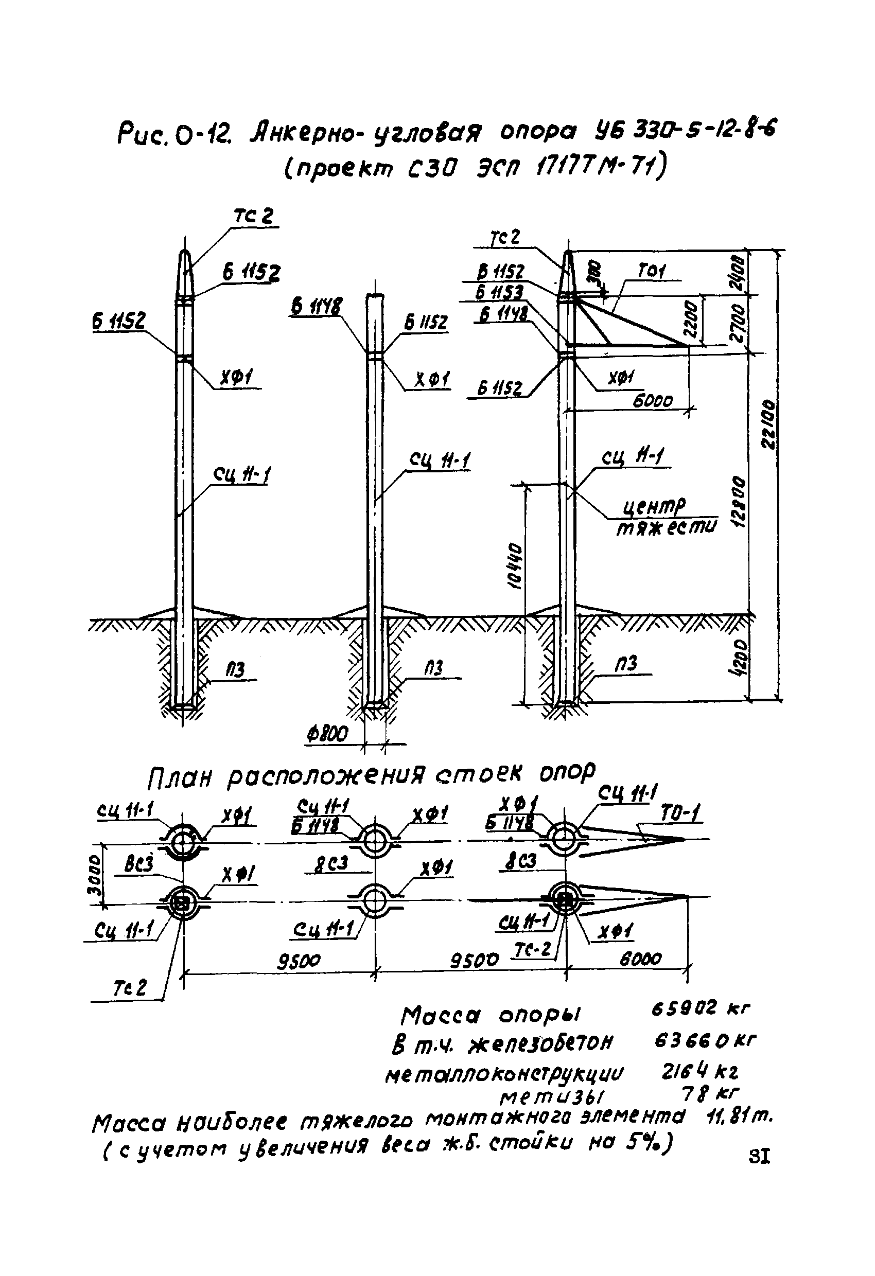
| Область применения: | Технологическая карта разработана на сборку анкерно-угловых одностоечных железобетонных опор УБ 110-7, УБ 110-2 и УБ 220-7 |
| Оглавление: | 1 Область применения 2 Организация и технология строительного процесса 3 Технико-экономические показатели 4 Материально-технические ресурсы (для одного звена) |
| Разработан: | Институт Оргэнергострой |
| Утверждён: | Институт Оргэнергострой |
| Нормативные ссылки: |

















































