Скачать ТТК К-4-22-16 Установка анкерно-угловых трехстоечных железобетонных опор УБ 330-5-10, 8-3 и УБ 330-5-12, 8-3 пневмоколесным краном КС-5363Дата актуализации: 01.01.2021
|
| Обозначение: | ТТК К-4-22-16 |
| Обозначение англ: | К-4-22-16 |
| Статус: | не установлен срок действия |
| Название рус.: | Установка анкерно-угловых трехстоечных железобетонных опор УБ 330-5-10, 8-3 и УБ 330-5-12, 8-3 пневмоколесным краном КС-5363 |
| Дата добавления в базу: | 01.10.2014 |
| Дата актуализации: | 01.01.2021 |
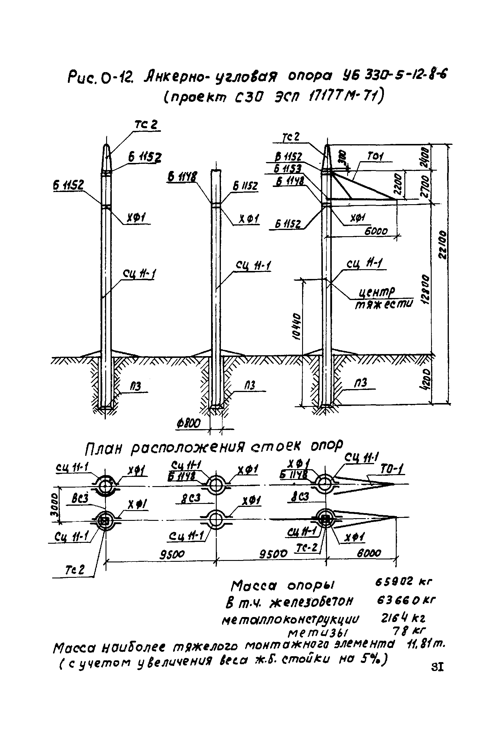
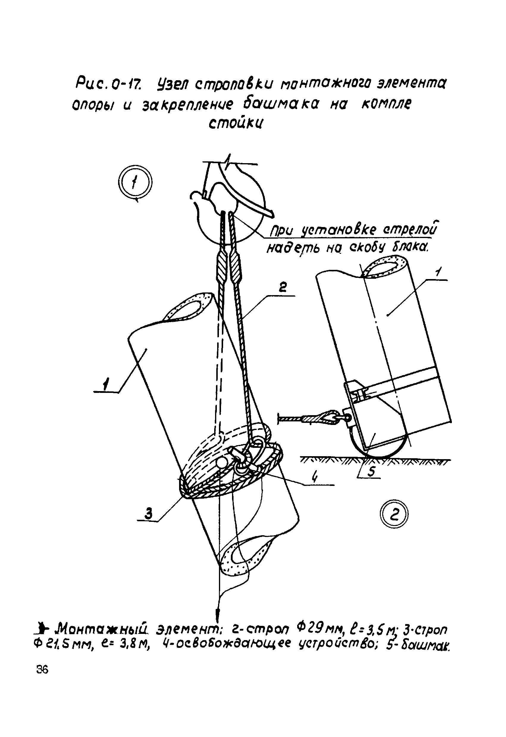
| Область применения: | Технологическая карта разработана на установку анкерно-угловых трехстоечных железобетонных опор УБ 330-5-10, 8-3 и УБ 330-5-12, 8-3 пневмоколесным краном КС-5363 |
| Оглавление: | 1 Область применения 2 Организация и технология строительного процесса 3 Технико-экономические показатели на установку одной опоры 4 Материально-технические ресурсы (для одного звена) |
| Разработан: | Институт Оргэнергострой |
| Утверждён: | Институт Оргэнергострой |
| Нормативные ссылки: |















































