Скачать Методика. Правила формализованного представления конструкторской и технологической информацииДата актуализации: 01.01.2021 |
| Статус: | не действует |
| Название рус.: | Методика. Правила формализованного представления конструкторской и технологической информации |
| Дата добавления в базу: | 01.10.2014 |
| Дата актуализации: | 01.01.2021 |
| Область применения: | Методика устанавливает правила кодирования информации о деталях любых классов, нормативно-справочных материалах и другой технологической информации в процессе автоматизированного проектирования. Методика позволяет осуществить единый системный подход к формализованному представлению конструкторской и технологической информации. |
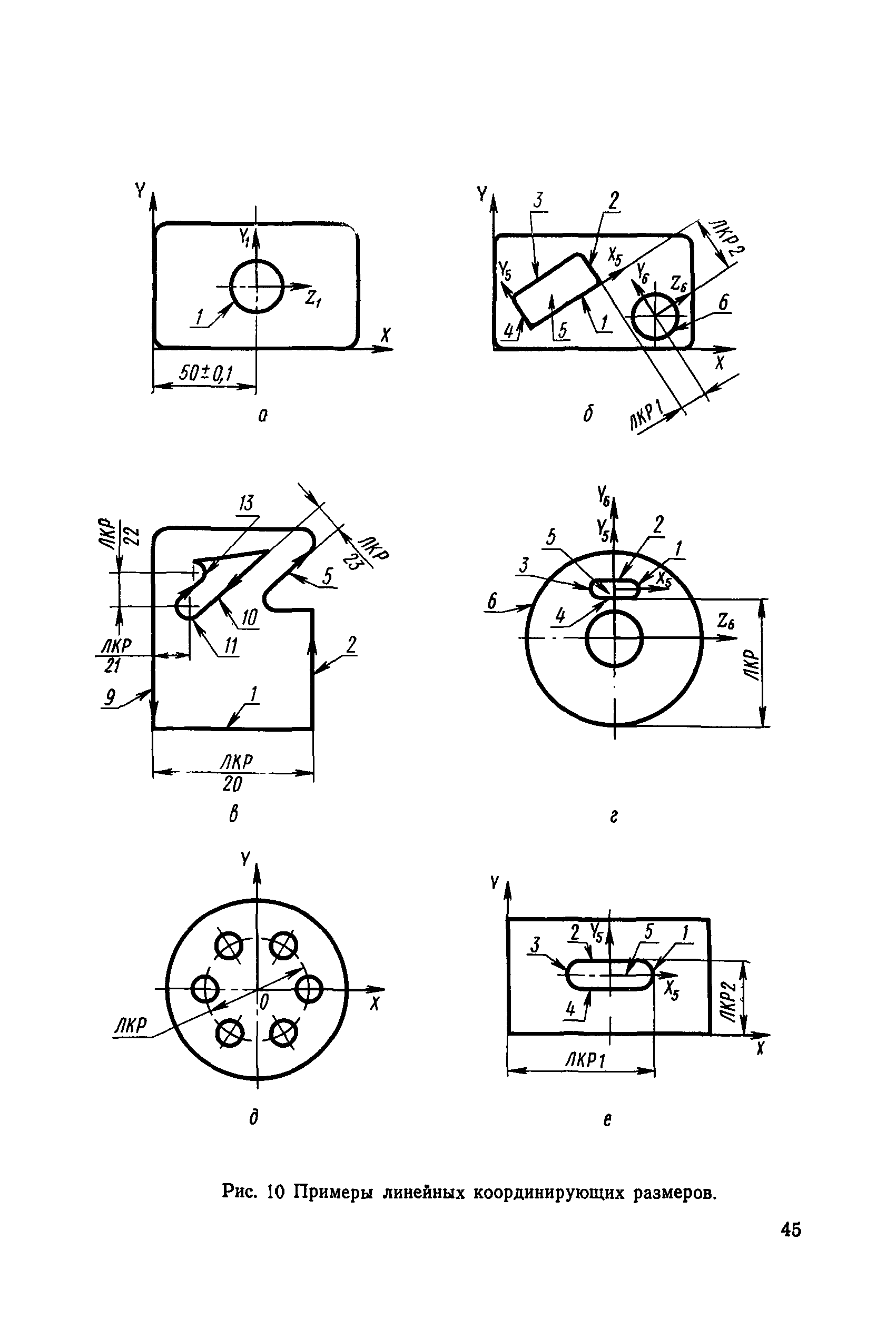
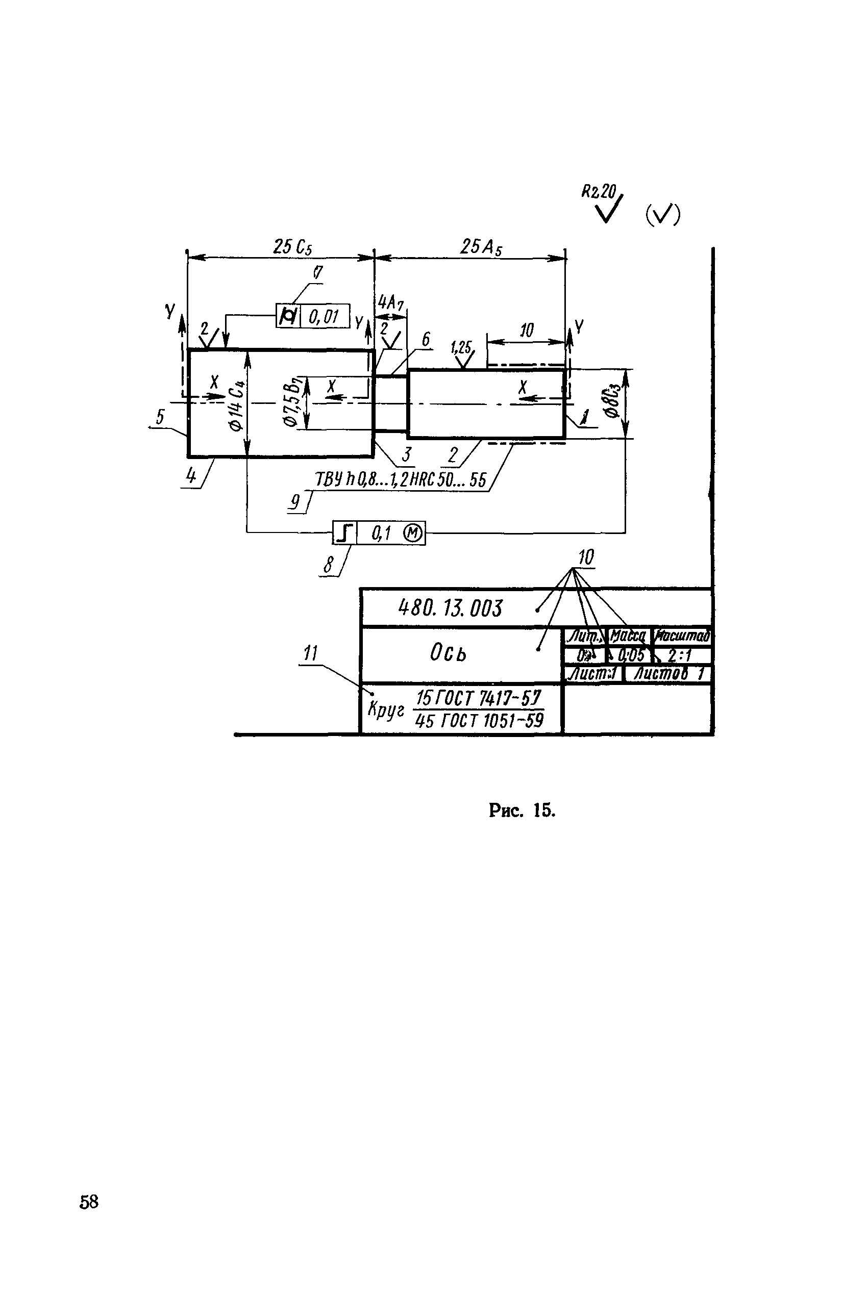
| Оглавление: | Введение 1. Общие положения 2. Синтаксис предметного языка 2.1. Алфавит 2.2. Слова 2.3. Кодирование параметров 2.4. Кодирование элементов 2.5. Кодирование отношений 2.6. Кодирование объектов 2.7. Оформление результатов кодирования 3. Структура информации о машиностроительных деталях 3.1. Элементы формы 3.2. Качественные элементы 3.3. Отношения между элементами детали 3.4. Составные элементы 3.5. Нормализованные детали 3.6. Переменная исходная информация при технологическом проектировании 4. Структура и правила кодирования условно-постоянной информации 4.1. Справочные таблицы без условий 4.2. Справочные таблицы с условиями 5. Язык описания признаков 5.1. Организация данных 5.2. Основные определения языка 5.3. Формулы с отношениями 5.4. Обратные именующие выражения 5.5. Операторы присваивания 5.6. Логические выражения 5.7. Операторы управления 6. Обработка условно-постоянной информации в языке описании признаков 6.1. Обработка таблиц без условий 6.2. Обработка справочных таблиц с условием 6.3. Обработка таблиц применяемости и таблиц решений |
| Издан: | Издательство стандартов (1976 г. ) |
| Нормативные ссылки: |
|




















































































































