Скачать Рекомендации по программному управлению автоматизированными комплексами термометрической аппаратуры

Дата актуализации: 01.01.2021

Рекомендации по программному управлению автоматизированными комплексами термометрической аппаратуры

Статус:справочные материалы, мп, тпр
Название рус.:Рекомендации по программному управлению автоматизированными комплексами термометрической аппаратуры
Дата добавления в базу:21.05.2015
Дата актуализации:01.01.2021
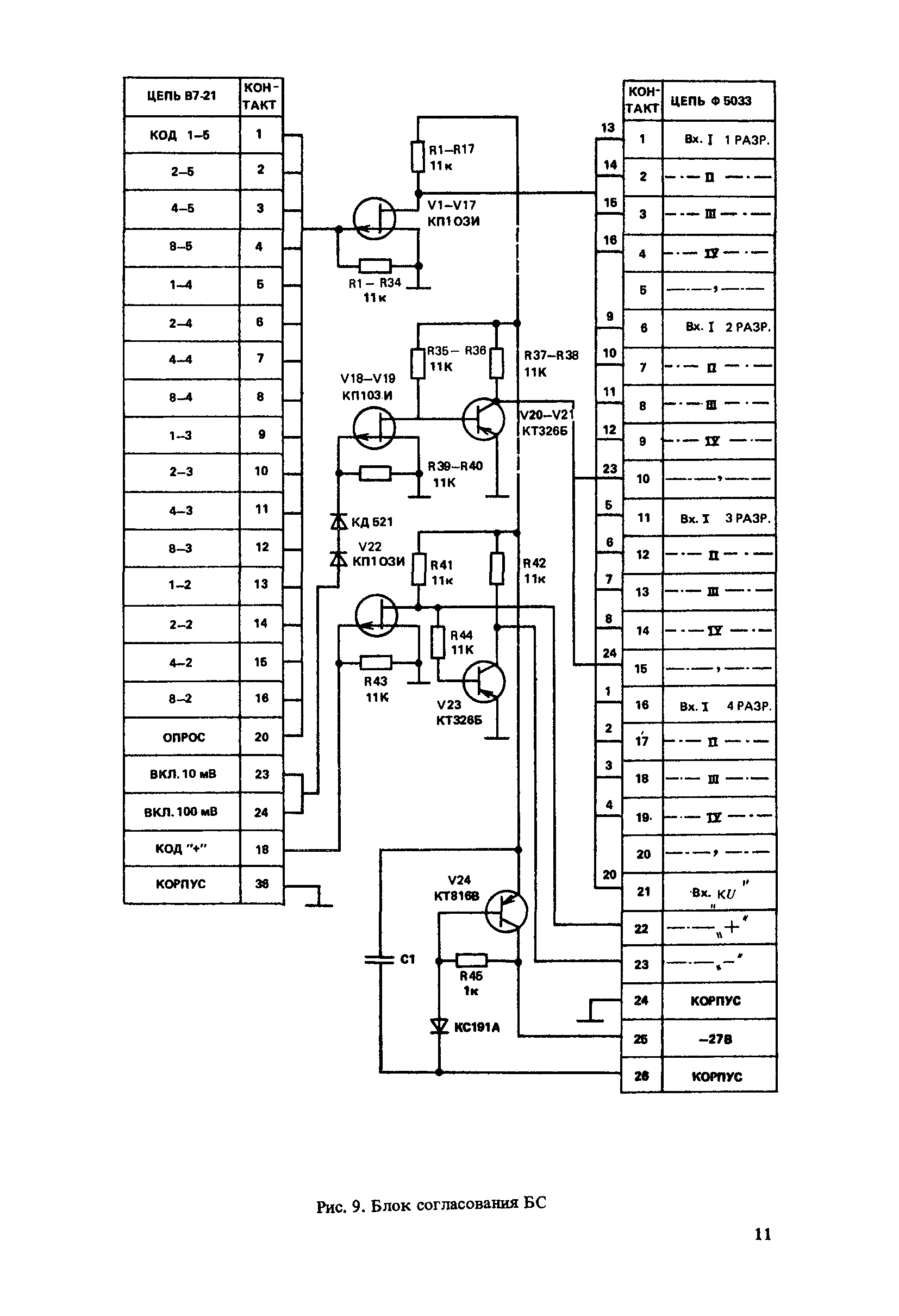
Область применения:В документе рассматриваются принципы программного управления измерительными комплексами для температурных наблюдений в грунтах. В основе программного управления работа комплексов по специальным программам, обеспечивающим заданную точность и периодичность измерений. Применение программного управления позволяет полностью автоматизировать процесс температурных измерений. Для инженерно-технических работников проектных, изыскательских и научно-исследовательских организаций.
Оглавление:Введение
1. Характеристика работ, подлежащих программированию
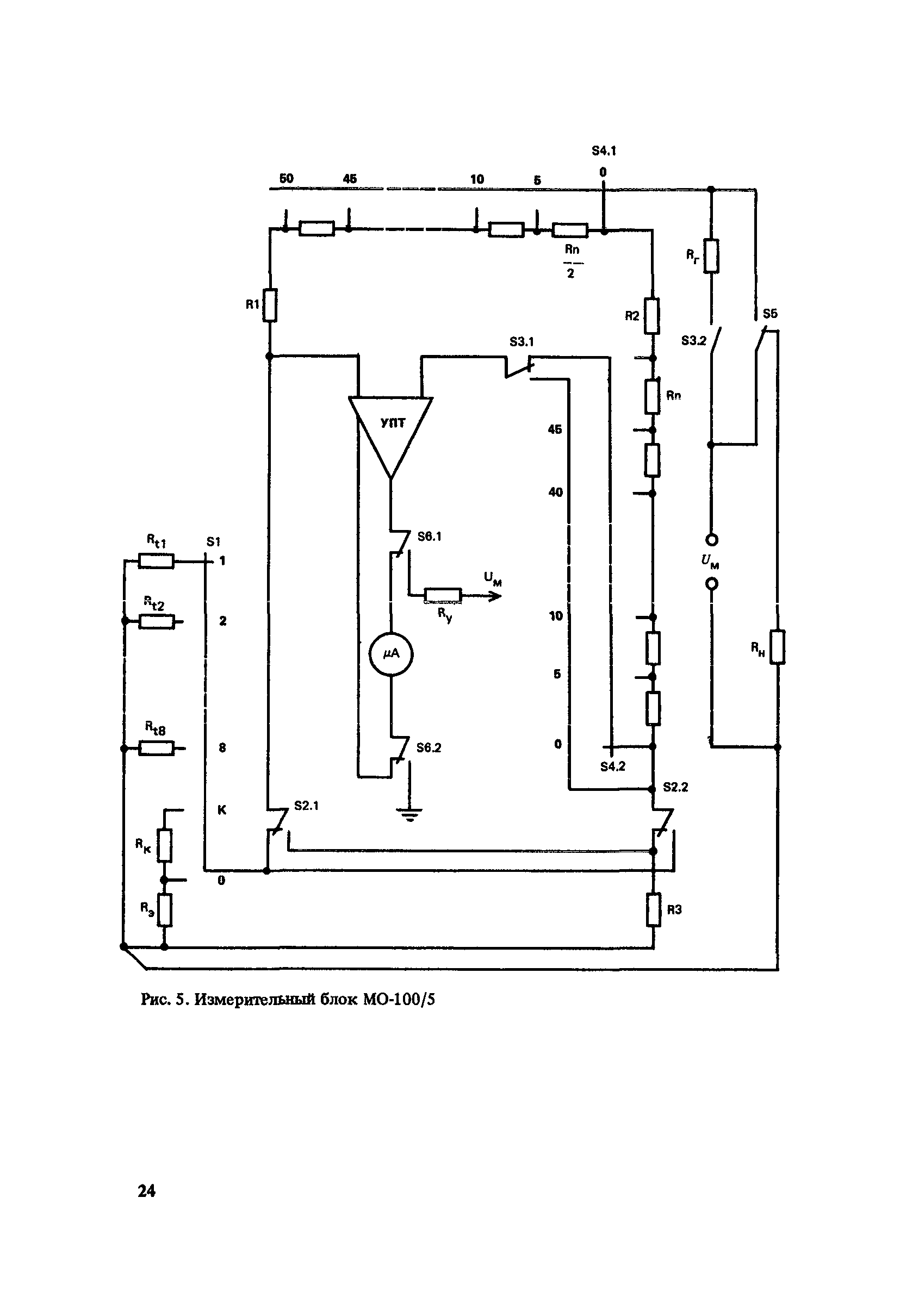
2. Структурная схема измерительного комплекса с программным управлением
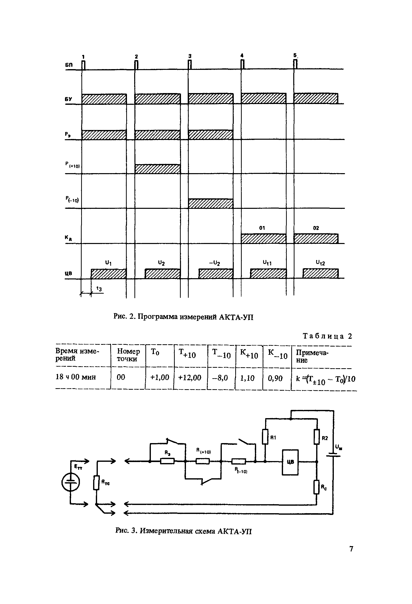
3. Программа измерений комплекса АКТА-УП
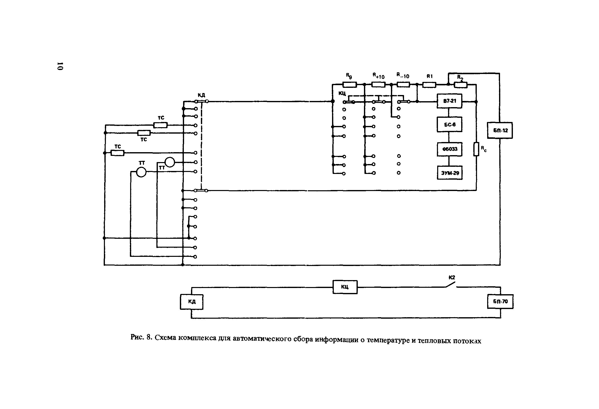
4. Программа сбора измерительной информации АКТА-УП
5. Технико-экономическая эффективность
Приложение. Программная коррекция метрологических характеристик измерительных приборов
Разработан: ПНИИИС Госстроя СССР (PNIIS, Gosstroy (USSR) )
Утверждён: ПНИИИС Госстроя СССР (PNIIIS, USSR Gosstroy )
Издан: Стройиздат (1988 г. )
Нормативные ссылки: